首页
专利查询
专利购买
专利转让
专利申请
15071489439
当前位置:
专利巴士
专利查询
专利名称
查询
高级查询
当前共找到
8115
个专利记录
,当前显示页码
105/406
专利名称
申请号
申请人
发明人
专利代办机构
[发明]
一种高分子量透明聚酯的制备方法及用途
申请号:
201910561022.8
状态:
审中-公开
申请日:
2019-06-26
申请人:
武汉科技大学
发明人:
程正载、熊景、周佳丽、申露萍、周淑雯、李贝贝、李光要、马里奥
公开日:
代理机构:
主分类号:
C08G63/672(20060101)
我要购买
摘要:
本发明公开了一种新型的高分子量透明聚酯的制备方法及用途,属于聚酯合成领域。以对苯二甲酸或间苯二甲酸、2,5‑呋喃二甲酸和二元醇或其他二羟基化合物为原料,采用熔融聚合法合成系列高分子量的新型聚酯。本发明方法具有催化剂使用量少,反应高效,所得聚酯透明度高的优点,且所合成的聚酯具有分子量高、分子量分布宽、热性能好和力学性能优良等特点,易于下一步的热加工处理。本发明制备的这种透明高分子量聚酯,可用作瓶级聚酯材料加工的主体组分,也可以用作透明导电聚酯薄膜材料的基材原料。
[发明]
一种螺栓专用分拣装置
申请号:
201910563339.5
状态:
审中-实审
申请日:
2019-06-26
申请人:
武汉科技大学
发明人:
陈亚琦、王佳松、刘昌明、成明
公开日:
2019-09-17
代理机构:
北京轻创知识产权代理有限公司11212
主分类号:
B65G47/26(2006.01)I
我要购买
摘要:
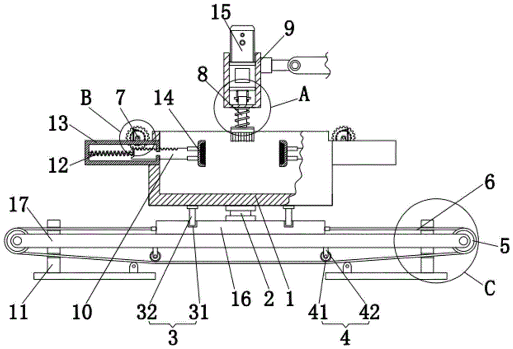
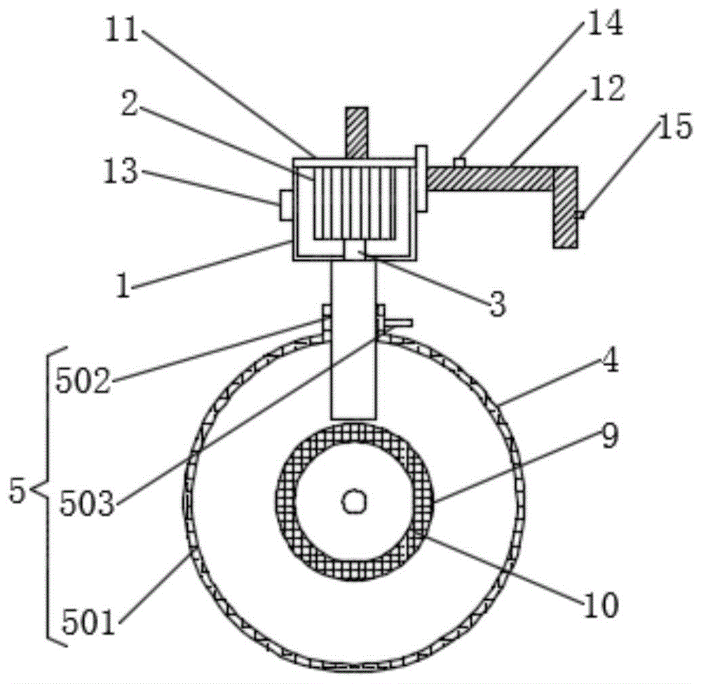
本发明涉及一种螺栓专用分拣装置,包括倾斜设置的箱体、震动机构、用于螺栓排序的排序机构以及至少一个用于分拣螺栓的分拣机构,箱体的上端敞口,其低侧的侧壁上设有开口;分拣机构固定安装在箱体内的上部,排序机构固定安装在箱体内的下部,其一端从开口伸出箱体外;震动机构固定安装在箱体内的底壁上,用于带动箱体震动,以使分拣完成的螺栓沿着排序机构从开口处滑出箱体外。本发明的有益效果是能够实现螺栓的有序分拣,分拣效率高,人工劳动强度低,省时省力,成本较低。
[实用新型]
一种土工模拟箱
申请号:
201920974999.8
状态:
有权
申请日:
2019-06-26
申请人:
武汉科技大学
发明人:
朱俊华、李丹、简迪、吴卓尔、刘溪雨
公开日:
代理机构:
主分类号:
G01N3/08(20060101)
我要购买
摘要:
本实用新型涉及一种土工模拟箱,其包括若干侧板和底板,各所述侧板和底板合围成上端开口的槽体,各所述侧板之间可拆卸连接,所述侧板与所述底板之间可转动连接。该模拟箱拆装方便,且便于运输,大大节省了人力物力。
[发明]
一种不规则曲面打磨设备
申请号:
201910557149.2
状态:
审中-公开
申请日:
2019-06-25
申请人:
武汉科技大学
发明人:
蒋国璋、邱鹤、李公法、陶波、许爽、曾飞、孙瑛、江都、于慧、琚兆杰
公开日:
代理机构:
主分类号:
B24B41/06(20120101)
我要购买
摘要:
本发明公开了一种不规则曲面打磨设备,包括顶板,所述顶板的前表面左右两侧和上下两端均对称开设有第一滑槽,所述第一滑槽的数量为四个且均匀分布于顶板上,四个所述第一滑槽的内壁均滑动卡接有第一滑块,所述第一滑块的前表面固定装配有第一夹板。通过第一滑槽和顶板的配合,通过第一夹板和第一滑块的配合,第一夹板在第一滑块和第一滑槽的限位下在顶板上进行,通过第一夹板对所要打磨的工件进行夹持,左右两侧的第一夹板在移动的过程中通过连接杆带动上下两端的第一夹板进行移动,同时达到改变夹持位置的效果,无需调整工件的位置就能进行调整对工件的夹持位置,使夹具更加的灵活,防止影响对工件进行不规则曲面的打磨。
[发明]
一种复杂曲面打磨抛光系统
申请号:
201910557134.6
状态:
审中-公开
申请日:
2019-06-25
申请人:
武汉科技大学
发明人:
孙瑛、李翠巧、蒋国璋、李公法、陶波、曾飞、许爽、江都、于慧、琚兆杰
公开日:
代理机构:
主分类号:
B24B27/00(20060101)
我要购买
摘要:
本发明公开了一种复杂曲面打磨抛光系统,包括支撑底座,所述支撑底座的上表面中部固定设置有打磨抛光机构,所述支撑底座的上表面且位于打磨抛光机构的外侧固定设置有传输机构,所述支撑底座的上表面右端前侧固定设置有第一支撑杆,所述第一支撑杆的上表面固定设置有电控箱,集工件夹持、传输、打磨和抛光于一体,操作方便,节省人力,提高加工效率,结构合理,实用性强。
[发明]
一种可多向倾转的四旋翼飞行器
申请号:
201910554433.4
状态:
审中-公开
申请日:
2019-06-25
申请人:
武汉科技大学
发明人:
史梦成、王正、戴超凡、牛会通、瞿华、李文深
公开日:
2019-10-18
代理机构:
武汉科皓知识产权代理事务所(特殊普通合伙)42222
主分类号:
B64C27/08(2006.01)I
我要购买
摘要:
一种可多向倾转的四旋翼飞行器,包括控制模块、电池模块、机架以及对称安装在机架四角的第一旋翼机构、第二旋翼机构、第三旋翼机构、第四旋翼机构,其中四个旋翼机构均可转动,所述第一旋翼机构与第二旋翼机构之间以及第三旋翼机构与第四旋翼机构之间分别通过旋翼连接杆连接,所述机架中部安装有可转动的方向操纵杆,所述方向操纵杆与两根所述旋翼连接杆分别通过传动连接杆连接,所述机架上还安装有驱动电机模块,所述驱动电机模块通过驱动杆与所述方向操纵杆相连,所驱动模块包括步进电机一、步进电机二,所述步进电机一通过曲轴连杆与所述驱动杆相连并控制所述驱动杆做直线运动,所述步进电机二与所述驱动杆相连并控制所述驱动杆作曲线运动。
[发明]
一种模具自由曲面抛光装置
申请号:
201910556043.0
状态:
审中-公开
申请日:
2019-06-25
申请人:
武汉科技大学
发明人:
孙瑛、田锦容、蒋国璋、李公法、陶波、曾飞、许爽、江都、于慧、琚兆杰
公开日:
代理机构:
主分类号:
B24B29/02(20060101)
我要购买
摘要:
本发明公开了抛光装置技术领域中一种模具自由曲面抛光装置,包括动力盒、第一电机和转动轴等,根据待抛光模具的表面弯曲程度,选择抛光球或抛光轮进行抛光操作,选择抛光球时,在毛毡套上添加抛光剂,操作者手握操作把手,打开第一开关,通过第一电机工作,带动转动轴转动,抛光球随之转动,抛光时,高速旋转的抛光球压向待抛光处,使抛光剂对待抛光处表面产生滚压和微量切削,从而获得平整光亮的抛光表面,抛光球自身弯曲程度较大,适合于弯曲程度较大处的抛光操作;选择抛光轮时,在毛毡层上添加抛光剂,打开第二开关,通过第二电机工作,可带动抛光轮转动,即可进行抛光操作,抛光轮适合于弯曲程度较小面积较大处的抛光。
[发明]
一种曲面抛光机的抛光装置
申请号:
201910557144.X
状态:
审中-公开
申请日:
2019-06-25
申请人:
武汉科技大学
发明人:
李公法、程杨威、蒋国璋、陶波、曾飞、许爽、孙瑛、江都、于慧、琚兆杰
公开日:
代理机构:
主分类号:
B24B27/00(20060101)
我要购买
摘要:
本发明公开了一种曲面抛光机的抛光装置,包括机架,所述机架的上表面左侧固定设置有传输机构,所述机架的上表面固定设置有抛光机构,所述机架的前表面中部固定设置有安装台,所述安装台的前表面固定设置有电控箱,保证各工件抛光质量相同,保证作业面整洁和抛光效果,操作方便,节省人力,提高加工效率,结构合理,实用性强。
[发明]
一种三维曲面抛光装置
申请号:
201910556029.0
状态:
审中-公开
申请日:
2019-06-25
申请人:
武汉科技大学
发明人:
李公法、廖尚春、蒋国璋、陶波、许爽、曾飞、孙瑛、江都、于慧、琚兆杰
公开日:
代理机构:
主分类号:
B24B29/02(20060101)
我要购买
摘要:
本发明公开了一种三维曲面抛光装置,包括箱体、转轴和框架,所述箱体的下端固定装配有转轴,所述框架位于箱体的上方,所述卡接结构与齿条相啮合,所述转轴的下端固定装配有滑板,所述滑板的下端设有支台,所述滑板与支台相贴合,所述支台的左右两侧均贯穿固定有支脚,所述支台的左右两侧均转动装配有转轮,所述拉绳贯穿支脚,所述拉绳与滑板固定装配,所述支台的下端左右两侧均固定装配有支撑结构,所述支撑结构与拉绳紧密贴合,所述箱体的下端左右两侧均固定装配有限位结构,本发明提供一种三维曲面抛光装置,可以很好的保证抛光效果,同时避免原料的损坏以及变形,进行多方位多角度的抛光,保证抛光更全面。
[发明]
一种用于曲面抛光的机械装置
申请号:
201910556033.7
状态:
审中-公开
申请日:
2019-06-25
申请人:
武汉科技大学
发明人:
李公法、马如意、蒋国璋、陶波、许爽、曾飞、孙瑛、江都、于慧、琚兆杰
公开日:
代理机构:
主分类号:
B24B29/00(20060101)
我要购买
摘要:
本发明公开了一种用于曲面抛光的机械装置,包括伸缩箱和设备箱,所述伸缩箱的底部固定连接有设备箱,所述伸缩箱的内腔中转动连接有转动杆,所述转动杆位于伸缩箱的内部的侧壁固定连接有若干偏心轮,所述偏心轮的外侧壁均套有限位环所述伸缩箱的内部滑动连接有滑块,所述滑块的侧壁固定连接有压缩杆的一端,所述压缩杆的另一端由伸缩箱插入到设备箱之中并且与固定板A相连接,本发明通过利用偏心轮和弹簧的结构,通过工作人员观察构件的曲面结构,在转动摇杆带动抛光刷沿着构件的曲面进行上下移动,使构件的曲面充分进行抛光处理,以节省利用编程控制抛光刷进行上下移动的时间,节省成本,增加抛光的效率。
[发明]
一种地下建筑箱式空气污染防治装置
申请号:
201910550673.7
状态:
审中-公开
申请日:
2019-06-24
申请人:
武汉科技大学
发明人:
陈道家、江志刚、王三平、刘驿轩、丁周阳、于李鹏
公开日:
2019-10-25
代理机构:
42222武汉科皓知识产权代理事务所(特殊普通合伙)
主分类号:
F24F3/16(20060101)
我要购买
摘要:
本发明公开了一种地下建筑箱式空气污染防治装置,包括箱体和箱盖,箱体为长方体腔体结构,箱体和箱盖的一侧铰接,箱体和箱盖的另一侧通过锁扣关闭,箱体的左侧面上设有第一进风口,箱体的右侧面上设有第一排风口,箱体内设有鼓风机、静电除尘器、活性炭过滤器、化学反应器和送风机,化学反应器为中空的长方体结构,化学反应器的左侧面设有第二进风口,右侧面设有第二排风口,化学反应器内间隔设有多个挡板,每一挡板上设有一个流通口,多个挡板将化学反应器内部分为多个反应室,每一反应室内装有反应液。本发明提供一种地下建筑箱式空气污染防治装置,结构简单,方便实用,可以实现对地下建筑空气污染的有效防治。
[实用新型]
一种分体式配电柜
申请号:
201920956060.9
状态:
有权
申请日:
2019-06-24
申请人:
武汉科技大学
发明人:
朱吉顺、成燕、汪洋
公开日:
代理机构:
主分类号:
H02B1/30(20060101)
我要购买
摘要:
一种分体式配电柜,包括柜体、底座及插销,柜体下方依次设置有减震器总成、底板、支撑杆及底座,柜体底部、减震器总成、底板及支撑杆依次连接,底座设置有滑槽,支撑杆能够放置于滑槽中;底座设置有第一通孔,支撑杆设置有第二通孔,插销能够依次穿过第一通孔及第二通孔,将支撑杆与底座锁紧;柜体顶部设置有倾斜板,倾斜板设置有吊耳及防水槽,防水槽位于倾斜板低端处,防水槽两端设置有向外延伸的导水管;柜体底部设置有漏水孔及止逆孔,止逆孔位于漏水孔下方,且与漏水孔连通,止逆孔为开口朝下的喇叭形;导水管与漏水孔连通。本实用新型方便搬运,能够防止配电柜运输过程发生磕碰,能够防止配电柜积水,使用方便,结构简单。
[实用新型]
一种可翻转式备胎支架
申请号:
201920954949.3
状态:
有权
申请日:
2019-06-24
申请人:
武汉科技大学
发明人:
岳婷、赵显新
公开日:
代理机构:
主分类号:
B62D43/02(20060101)
我要购买
摘要:
一种可翻转式备胎支架,其包括两根支撑钢管平行设置,还有若干根连接钢管分别设置在所述两根支撑钢管之间并连接两根支撑钢管;另有备胎支撑面板安装在其中一根连接钢管上,且其位于两根支撑钢管上端;所述支撑钢管底部依次焊接有支撑钢管横向加强筋、支撑钢管纵向加强筋、方管底座;还包括旋转轴支撑座通过螺栓固定在汽车后保险杠上,所述方管底座通过旋转轴安装在所述旋转支撑座上,并可转动,所述旋转轴一端安装有旋转轴锁紧螺母用以限制转动;还包括固定横梁支架有两个分别通过螺栓固定在汽车后保险杠上,所述支撑钢管固定横梁安装在所述固定横梁支架上,对所述支撑钢管起到支撑作用。本实用新型结构简单,设计合理,方便备胎取用。
[发明]
一种相机试验设备
申请号:
201910550046.3
状态:
审中-实审
申请日:
2019-06-24
申请人:
武汉科技大学
发明人:
潘瑞、曾良才、伍世虔、王瑞平
公开日:
2019-10-15
代理机构:
北京轻创知识产权代理有限公司11212
主分类号:
G01N21/84(2006.01)I
我要购买
摘要:
本发明公开了一种相机试验设备,包括机架、遮光装置、载物板、光源装置和相机装置,所述载物板水平安装在所述机架上,所述光源装置安装在所述机架上,并位于所述载物板一侧的上方,所述相机装置安装在所述机架上,并位于所述光源装置一侧的上方,所述遮光装置具有一个罩口朝下的罩子,所述罩子位于所述机架上端,并将所述载物板、光源装置和相机装置罩设在其与所述机架围合形成的密闭空间内,所述遮光装置可调节其所述罩子与所述机架之间缝隙的大小来调整所述罩子内的光源强度。本发明所述相机试验设备可实现待检测物体在不同光强度下的视觉检测,所述相机试验设备的适用范围广。
[实用新型]
一种组装式收纳盒
申请号:
201920955215.7
状态:
有权
申请日:
2019-06-24
申请人:
武汉科技大学
发明人:
黄晓娅、郑红强、张泽宇
公开日:
代理机构:
主分类号:
B65D6/06(20060101)
我要购买
摘要:
一种组装式收纳盒,包括底盒、柜体及顶盒,柜体与顶盒、底盒分别榫卯连接,柜体包括多个抽屉组件,各个抽屉组件包括主抽屉及子抽屉,各个主抽屉榫卯连接,各个子抽屉榫卯连接,各个主抽屉与各个子抽屉榫卯连接;各个主抽屉与所述顶盒、底盒分别榫卯连接,各个子抽屉与所述顶盒、底盒分别榫卯连接;所述底盒包括第一盒体及底盖,所述底盖与所述第一盒体活动连接;所述顶盒包括第二盒体及顶盖,所述顶盖与所述第二盒体活动连接。本实用新型能够分类存放不同大小的物件,以满足分类收纳需求;而且收纳盒能够自由组装,能够组装不同结构、不同大小的收纳盒,以满足用户对收纳盒多样化的要求,使用灵活方便。
[发明]
一种传感器
申请号:
201910543056.4
状态:
审中-实审
申请日:
2019-06-21
申请人:
武汉科技大学
发明人:
赵心阳、肖涵、袁邦盛
公开日:
2019-10-15
代理机构:
北京轻创知识产权代理有限公司11212
主分类号:
G01H11/06(2006.01)I
我要购买
摘要:
本发明公开了一种传感器,包括壳体、弹片、质量块、固定件和应变片,所述壳体内部中空,其侧壁上具有与其内部贯通的缺口,且所述壳体上具有引线出口,所述固定件嵌装在所述壳体的缺口处并将所述缺口封堵,所述弹片为水平悬设在所述壳体内的条形片,且其一端与所述固定件连接,所述质量块悬设在所述壳体内并与所述弹片的另一端连接,所述应变片位于所述壳体内并黏贴在所述弹片上,所述应变片上的引线经所述引线出口引出至所述壳体外,且所述壳体上具有与其内部连通的通气孔。其结构简单,拼装方便,且精度高。
[实用新型]
一种基于地道风的新风系统
申请号:
201920951262.4
状态:
有权
申请日:
2019-06-21
申请人:
武汉科技大学
发明人:
邵玉林、陈乖
公开日:
代理机构:
主分类号:
F24F7/08(20060101)
我要购买
摘要:
一种基于地道风的新风系统,包括建筑物、新风管道、全热交换器、排风管道、排风口阀门、送风口阀门、温度传感器、二氧化碳浓度传感器、半导体制冷制热片及电源,电源与温度传感器、二氧化碳浓度传感器、半导体制冷制热片分别电性连接;二氧化碳浓度传感器及温度传感器均位于建筑物内部。排风管道安装于排风口阀门,新风管道安装有送风口阀门。本实用新型能够根据实际使用需求,手动调节所述送风口阀门及排风口阀门,进而调节送风口阀门的开度及排风口阀门的开度,从而调节送风风量及排风风量,改善建筑物内空气环境;同时能够通过半导体制冷片对建筑物内部制冷或制热,调节建筑物内部温度,使建筑物内部保持舒适的温度环境。
[发明]
一种基于蓝晶石尾矿的含锆莫来石材料及其制备方法
申请号:
201910544774.3
状态:
审中-公开
申请日:
2019-06-21
申请人:
武汉科技大学
发明人:
李淑静、王海路、李远兵、向若飞
公开日:
2019-11-08
代理机构:
武汉科皓知识产权代理事务所(特殊普通合伙)42222
主分类号:
C04B35/185(2006.01)I
我要购买
摘要:
本发明具体涉及一种基于蓝晶石尾矿的含锆莫来石材料的制备方法。其技术方案是:先以70~80wt%的蓝晶石尾矿颗粒、22~32wt%的α‑氧化铝微粉、0.4~0.8wt%的氧化铍为原料,将所述原料加入球磨机中,再向所述球磨机中加入所述原料300~400wt%的水,球磨4~6h,得到料浆;将所述料浆于80~120℃条件下烘干,粉碎,磨细,得到细粉;在所述细粉中加入所述细粉3~5wt%的聚乙烯醇溶液,搅拌均匀,困料20~24h;然后压制成型,于80~140℃条件下干燥14~24h;在氧化气氛和1200~1600℃条件下保温2~5h,制得基于蓝晶石尾矿的含锆莫来石材料。本发明具有成本低、工艺简单、能实现资源综合利用的特点,所制制品抗热震性能较好。
[发明]
一种金纳米探针制备装置及其制备方法
申请号:
201910542486.4
状态:
审中-实审
申请日:
2019-06-21
申请人:
武汉科技大学
发明人:
程鹏坤、常帅、王治业、黄明柱、陈海舰、陈晨、王瑞霞
公开日:
2019-10-15
代理机构:
北京轻创知识产权代理有限公司11212
主分类号:
G01Q60/16(2010.01)I
我要购买
摘要:
本发明公开了一种金纳米探针制备装置及其制备方法,包括信号发生器、放大器、示波器、电流测量装置、升降台、储液皿和金丝容纳件,金丝容纳件通过绝缘件与升降台的升降端连接,储液皿置于金丝容纳件的下方,储液皿内中部水平设有一个由铂丝绕成的铂丝圈,储液皿内装有电解液,且铂丝圈浸没在电解液中,金丝竖直置于金丝容纳件上,且其下端突出于金丝容纳件的下端,放大器的输入端与信号发生器的输出端电连接,信号发生器与市电电连接,铂丝的一端延伸至储液皿外并与放大器输出端的正极或负极电连接,放大器输出端另一极与金丝容纳件电连接,示波器的输入端分别与放大器的输出端电连接。其优点是制备出的金纳米探针尖端直径能达50nm级别,且用时短。
[发明]
基于镁铝尖晶石溶胶的锂电池正极材料烧结用匣钵及其制备方法
申请号:
201910538110.6
状态:
审中-实审
申请日:
2019-06-20
申请人:
武汉科技大学、靖州华鑫莫来石有限公司
发明人:
赵惠忠、单峙霖、张寒、李述党、陈建威、马九宏、单文春、王相辉
公开日:
2019-09-06
代理机构:
武汉科皓知识产权代理事务所(特殊普通合伙)42222
主分类号:
F27D5/00(2006.01)I
我要购买
摘要:
本发明涉及一种基于镁铝尖晶石溶胶的锂电池正极材料烧结用匣钵及其制备方法。其技术方案是:将20~25wt%的硝酸镁、15~20wt%的硝酸铝和60~61wt%的工业酒精混合,搅拌,得镁铝尖晶石溶胶。将25~30wt%的莫来石、25~30wt%的堇青石、25~30wt%的红柱石、3~7wt%的所述镁铝尖晶石溶胶、4~7wt%的广西白泥和2~7wt%的硅微粉混合,得混合料。将混合料机压成型,在90~110℃条件下干燥,在1300℃~1400℃条件下保温3~4h,制得基于镁铝尖晶石溶胶的锂电池正极材料烧结用匣钵。本发明具有工艺简单、生产周期短、易于工业化生产和成品率高的特点;所制备的基于镁铝尖晶石溶胶的锂电池正极材料烧结用匣钵强度高、使用寿命长、抗热震性好和抗侵蚀性优良。
首页
上一页
101
102
103
104
105
106
107
108
109
110
下一页
尾页
当前共找到
8115
个专利记录
,当前显示页码
105/406