首页
专利查询
专利购买
专利转让
专利申请
15071489439
当前位置:
专利巴士
专利查询
专利名称
查询
高级查询
当前共找到
8115
个专利记录
,当前显示页码
106/406
专利名称
申请号
申请人
发明人
专利代办机构
[发明]
莫来石-堇青石质锂电池正极材料烧结用匣钵及其制备方法
申请号:
201910538109.3
状态:
审中-实审
申请日:
2019-06-20
申请人:
武汉科技大学、靖州华鑫莫来石有限公司
发明人:
赵惠忠、单峙霖、张寒、李述党、陈建威、马九宏、单文春、王相辉
公开日:
2019-09-27
代理机构:
42222武汉科皓知识产权代理事务所(特殊普通合伙)
主分类号:
C04B35/185(20060101)
我要购买
摘要:
本发明涉及一种莫来石‑堇青石质锂电池正极材料烧结用匣钵及其制备方法。其技术方案是:将30~35wt%的莫来石颗粒、20~25wt%的莫来石细粉、30~35wt%的堇青石颗粒、4~7wt%的糊精和5~7wt%广西白泥混合,搅拌,得混合料A;再将30~35wt%的莫来石细粉、30~35wt%的镁铝尖晶石细粉和35~36wt%的红柱石细粉搅拌,烘干,研磨,得混合料B。然后将混合料A置于模具中,在压头表面均匀洒层混合料B,以钵口朝下的方式机压成型,干燥,于1300~1400℃条件下保温5~6小时,制得莫来石‑堇青石质锂电池正极材料烧结用匣钵。本发明成本低廉、工艺简单和成品率高;制备的莫来石‑堇青石质锂电池正极材料烧结用匣钵体积密度大、耐压强度高、抗热震性优良和抗侵蚀性能好。
[实用新型]
一种玻璃清洁装置
申请号:
201920933670.7
状态:
有权
申请日:
2019-06-20
申请人:
武汉科技大学
发明人:
邵玉林、阙标华、蒋唐伟
公开日:
代理机构:
主分类号:
A47L1/08(20060101)
我要购买
摘要:
本实用新型公开了一种玻璃清洁装置,包括手柄和擦刮部,所述手柄竖直设置,其内具有竖向设置且为条形的腔室,所述腔室内设有活塞,所述活塞与所述腔室内侧壁滑动并密封连接,所述手柄上具有与所述腔室内连通的注水口,且在所述注水口处设有可打开或关闭其的盖子,所述活塞上端连接有一根竖向设置的活塞杆,所述活塞杆的上端向上延伸至穿出所述手柄的上端,所述擦刮部设置在所述手柄的下端,且所述手柄下端端部设有喷头,且所述喷头的进水口与所述腔室内部下端连通,且所述喷头的喷孔朝下,其结构简单。
[发明]
一种基于卷积神经网络带标记的钢板表面缺陷检测方法
申请号:
201910536618.2
状态:
审中-公开
申请日:
2019-06-20
申请人:
武汉科技大学
发明人:
戴超凡、牛会通、瞿华、王正、史梦成、马榕泽
公开日:
2019-10-18
代理机构:
武汉科皓知识产权代理事务所(特殊普通合伙)42222
主分类号:
G06T7/00(2017.01)I
我要购买
摘要:
本发明公开了一种基于卷积神经网络带标记的钢板表面缺陷检测方法,首先采集带有表面缺陷的钢板图像,构建图像库;将图像库中的图像分为训练样本集和测试样本集;然后进行钢板图像预处理,钢板图像边缘检测,钢板图像中钢板缺陷标记,构建卷积神经网络;最后进行钢板表面缺陷检测识别及分类。本发明先对采集的钢板图像进行预处理,边缘检测,再对其训练。在使用小样本的情况下,提升了钢板表面多类型缺陷检测的准确性及精度。
[发明]
用褐煤与生物质共热解产物制备水泥窑燃料的方法
申请号:
201910538311.6
状态:
审中-实审
申请日:
2019-06-20
申请人:
武汉科技大学
发明人:
赵璐涵、何选明、李昊、范贵平
公开日:
2019-10-15
代理机构:
武汉科皓知识产权代理事务所(特殊普通合伙)42222
主分类号:
C10L5/04(2006.01)I
我要购买
摘要:
本发明涉及一种用褐煤与生物质共热解产物制备水泥窑燃料的方法,包括:1)将褐煤、生物质分别干燥、再分别粉碎后得到褐煤试样和生物质试样;2)将生物质试样与褐煤试样按质量比为3:7~4:6进行配比后混合均匀,然后将混合后的试样进行无氧热解;3)热解后得到热解产物,热解产物包括热解气体、热解焦油和热解半焦;4)将热解半焦与褐煤进行混配后得到水泥窑燃烧用燃料。本发明操作简单,成本低廉,以低品位煤为原料制备出优异的水泥窑替代燃料,为水泥行业打开了新的供能思路;同时提高了生物质资源与褐煤资源的利用效率,并且实现了产物固液气三项的全资源综合清洁利用。
[发明]
车联网中预算有限条件下满足车流覆盖需求的RSUs部署方法
申请号:
201910532095.4
状态:
审中-公开
申请日:
2019-06-19
申请人:
武汉科技大学
发明人:
李鹏、蒋鹏、黄伟逸、张涛、刘芹
公开日:
2019-10-18
代理机构:
武汉科皓知识产权代理事务所(特殊普通合伙)42222
主分类号:
H04L29/08(2006.01)I
我要购买
摘要:
本发明提出一种车联网中预算有限条件下满足车流覆盖需求的RSUs部署方法,RSUs为路边设施单元,其特征在于:确保每条车流至少经过一定数目的RSUs,包括在预算有限的前提下,如果街道上已经存在了部分RSUs并且对部分车流有不同的需求,此时使得所有车流经过尽可能多数目的RSUs;实现方式为,用所有车流经过的RSUs总数与可部署的RSUs数目之比来表示路边设施单元的利用率,基于路边设施单元的利用率,采用贪心覆盖部署或贪心部署方式实现RSUs部署;所述贪心覆盖部署,每次选择最优的街道部署RSU,用来覆盖给定的车流,当车流全部覆盖后重复上述过程,直至给定的RSUs全部部署完毕;所述贪心部署,选择最优的m个街道部署RSUs,m由可部署的RSUs数目决定。
[发明]
群智感知中确定和非确定轨迹下的车辆任务分配方法
申请号:
201910531567.4
状态:
审中-公开
申请日:
2019-06-19
申请人:
武汉科技大学
发明人:
李鹏、涂梅梅、周强、张涛、刘芹
公开日:
2019-10-18
代理机构:
武汉科皓知识产权代理事务所(特殊普通合伙)42222
主分类号:
G06Q10/06(2012.01)I
我要购买
摘要:
本发明提供一种群智感知中确定和非确定轨迹下的车辆任务分配方法,其特征在于:用于确保所有任务执行,在确定性轨迹下,以最少代价选取车辆来完成任务;在不确定轨迹下,首先通过逻辑回归方法确定每个车辆轨迹的概率,然后利用半马尔可夫方法计算每辆车执行任务的概率,最后选取合适的车辆保证每个任务被执行的联合的概率大于概率阈值且代价最小;实现方式为,作为NP‑hard问题,采用基于贪婪选择的方式,对于给定的车辆集合V和给定的任务集合S,执行确定性轨迹任务分配过程或不确定性轨迹任务分配过程求取由最少代价的车辆集合执行任务集合S。本发明技术方案能够节约资源,支持实现高效地路网交通状态监测。
[发明]
时空覆盖及预算条件下的移动群智感知激励方法
申请号:
201910532091.6
状态:
审中-公开
申请日:
2019-06-19
申请人:
武汉科技大学
发明人:
李鹏、孔徐骄、涂梅梅、张涛、刘芹
公开日:
2019-10-22
代理机构:
42222武汉科皓知识产权代理事务所(特殊普通合伙)
主分类号:
H04W4/35(20180101)
我要购买
摘要:
本发明提供一种时空覆盖及预算条件下的移动群智感知激励方法,包括平台发布一组感知任务,通过逻辑回归分析移动智能手机用户的历史数据,并向符合任务条件的用户推送任务;每个用户的出价表示为一组出价,用户u出价为任务‑出价对;平台确定用户是否获胜,包括由平台从所有提交的出价的用户集U中选择子集S,
设获胜用户的覆盖范围为F,获胜用户u的出价集合是β
u
,F∈Q,其中β
u
∈S表示获胜用户u将在出价β
u
中执行一组感应任务Q;每个智能手机用户在其获胜之后执行感测任务,并且将感测到的数据发送回平台;平台为每个获胜的智能手机用户支付代价P
u
,其中按照单个覆盖范围的支付总和来进行支付。
[发明]
一种混杂纤维改性橡胶混凝土及其制备方法
申请号:
201910532056.4
状态:
审中-实审
申请日:
2019-06-19
申请人:
武汉科技大学
发明人:
游烽、孙杰、许奎、吕熙、魏丙岩、张尧
公开日:
2019-09-06
代理机构:
武汉科皓知识产权代理事务所(特殊普通合伙)42222
主分类号:
C04B28/04(2006.01)I
我要购买
摘要:
本发明提供了一种混杂纤维改性橡胶混凝土及其制备方法,上述混凝土由如下重量份数原料组成:钢纤维7‑16份、玄武岩纤维2‑6份、改性橡胶粉58份、水泥502‑553份,砂504‑530份、石子1126‑1152份、减水剂5.00份、水166份。本发明提供的混杂纤维改性橡胶混凝土具有优异的抗劈裂性能、抗压强度及抗折强度,可有效满足具有高强要求的井盖、重载型路面、机场等使用场所的使用需求。
[发明]
一种室内3D点云语义地图的构建方法
申请号:
201910529158.0
状态:
审中-公开
申请日:
2019-06-19
申请人:
武汉科技大学
发明人:
左韬、胡新宇、闵华松、张劲波、伍一维、林云汉、王少威、朱瑞婷、许晨
公开日:
代理机构:
主分类号:
G06T17/05(20110101)
我要购买
摘要:
本发明涉及地图构建技术领域,涉及一种室内3D点云语义地图的构建方法。该方法包括:步骤1:利用RGB‑D相机获取室内环境的RGB‑D图像;步骤2:构建一个可用于目标检测与实例分割的深度卷积神经网络Mask R‑CNN;步骤3:将采集到的RGB‑D图像输入网络中,然后对输出图像做点云处理;步骤4:将经Mask R‑CNN网络和点云处理后的图像与构建的室内环境的点云地图融合得到语义点云地图;步骤5:对点云语义地图进行全局优化。
[发明]
一种数控高温移液枪
申请号:
201910532546.4
状态:
审中-实审
申请日:
2019-06-19
申请人:
武汉科技大学
发明人:
戴超凡、李佳、梁柱、张亮、唐志文、牛会通
公开日:
2019-09-13
代理机构:
武汉科皓知识产权代理事务所(特殊普通合伙)42222
主分类号:
B01L3/02(2006.01)I
我要购买
摘要:
本发明公开了一种数控高温移液枪,包括枪体、吸嘴和固定架,枪体为中空的圆柱形腔体结构且上下两端开口,枪体包括外壳和内腔,外壳由白云母材料制成,内腔由铂金材料制成,内腔内设有第一活塞杆和第一活塞,第一活塞杆的下端与第一活塞固定连接,第一活塞杆的上端从枪体的顶部伸出并通过驱动装置驱动,使得第一活塞杆和第一活塞上下伸缩,第一活塞底部固定有隔热层,吸嘴设在隔热层下方,吸嘴上端固定在内腔内且下端伸出枪体外,隔热层和吸嘴由刚玉制成,枪体的外壳固定在固定架上,固定架两侧设有握柄。本发明的目的是提供一种数控高温移液枪,用于冶金领域中高温液态的金属材料、非金属材料的移液。
[发明]
二维倾斜和振动同时测量的光纤光栅传感器及其测量方法
申请号:
201910527324.3
状态:
审中-实审
申请日:
2019-06-18
申请人:
武汉科技大学
发明人:
郭永兴、吴恒、熊丽、陈敏、李聪
公开日:
2019-08-30
代理机构:
北京修典盛世知识产权代理事务所(特殊普通合伙)11424
主分类号:
G01D21/02(2006.01)I
我要购买
摘要:
本发明公开了一种二维倾斜和振动同时测量的光纤光栅传感器及其测量方法,该传感器包括:薄壁方形筒、薄壁方形筒固定座、圆球、壳体、滚轮弹性支架、滚轮支架、滚轮和若干光纤光栅;壳体为底端开放的空心圆筒;薄壁方形筒与薄壁方形筒固定座固定连接,二者一起固定于壳体内;圆球为具有一定壁厚的空心圆球,位于薄壁方形筒内;滚轮弹性支架的一端固定于壳体上,另一端与滚轮支架固定连接;滚轮支架用于安装滚轮;若干光纤光栅分别粘贴在薄壁方形筒的外壁面上,用于测量。本发明可实现边坡倾斜和突发振动的同时测量,可解决边坡安全信息监测不全面的问题,同时也解决了因监测后期测斜管弯曲造成的传感器不易取出、不能再次使用的问题。
[发明]
一种超速报警装置及车用制动系统
申请号:
201910526869.2
状态:
审中-实审
申请日:
2019-06-18
申请人:
武汉科技大学
发明人:
胡航、李冠男、邓加睿、方曦、梁致远、徐麟
公开日:
2019-10-08
代理机构:
11212北京轻创知识产权代理有限公司
主分类号:
B60K31/18(20060101)
我要购买
摘要:
本发明涉及一种超速报警装置及车用制动系统,所述超速报警装置包括触板、报警器、电源和两端敞口且为条形的管道,所述触板沿所述管道的长度方向水平设置在所述管道内,所述触板上端面为向上凸起的曲面,所述触板上端面设有导电的连接件,所述管道内在触板的上方设有触点探头,所述报警器和所述电源均安装在所述管道上,所述电源与所述连接件电连接,所述报警器分别与所述电源和所述触点探头电连接,所述管道水平安装在移动载体上,且气流由所述管道的一端流入其内部,所述触板在气流的作用下因康达效应带动所述连接件向上移动至与所述触点探头接触或断开。本发明所述超速报警装置利用康达效应对所述触板产生的升力实现超速报警,结构简单可靠。
[实用新型]
一种二维倾斜和振动同时测量的光纤光栅传感器
申请号:
201920916580.7
状态:
有权
申请日:
2019-06-18
申请人:
武汉科技大学
发明人:
郭永兴、吴恒、熊丽、陈敏、李聪
公开日:
代理机构:
主分类号:
G01D21/02(20060101)
我要购买
摘要:
本实用新型公开了一种二维倾斜和振动同时测量的光纤光栅传感器,该传感器包括:薄壁方形筒、薄壁方形筒固定座、圆球、壳体、滚轮弹性支架、滚轮支架、滚轮和若干光纤光栅;壳体为底端开放的空心圆筒;薄壁方形筒与薄壁方形筒固定座固定连接,二者一起固定于壳体内;圆球为具有一定壁厚的空心圆球,位于薄壁方形筒内;滚轮弹性支架的一端固定于壳体上,另一端与滚轮支架固定连接;滚轮支架用于安装滚轮;若干光纤光栅分别粘贴在薄壁方形筒的外壁面上,用于测量。本实用新型可实现边坡倾斜和突发振动的同时测量,可解决边坡安全信息监测不全面的问题,同时也解决了因监测后期测斜管弯曲造成的传感器不易取出、不能再次使用的问题。
[实用新型]
一种卷发梳
申请号:
201920922789.4
状态:
有权
申请日:
2019-06-18
申请人:
武汉科技大学
发明人:
叶泽成、鄢雨萌、严丝雨
公开日:
代理机构:
主分类号:
A45D24/02(20060101)
我要购买
摘要:
本实用新型公开了一种卷发梳,包括卷筒和多组梳齿,卷筒竖向设置,每组梳齿包括多个固定在卷筒外周且竖向间隔均匀分布的梳齿,多组梳齿在卷筒的外周间隔均匀的分布,卷发梳还包括驱动组件和多个折叠组件,卷筒内部中空,相邻两组梳齿之间设有与卷筒内部贯通且竖向分布的通槽,多个折叠组件分别与多个通槽一一对应,多个折叠组件分别安装在卷筒内对应通槽的位置,驱动组件安装在卷筒上,并分别与多个折叠组件传动连接,驱动组件可分别驱动多个折叠组件由对应的通槽同步张开以伸出卷筒外或折叠以收纳至卷筒内部。本实用新型所述折叠组件可伸出所述卷筒外,以将缠绕在所述卷筒上头发从梳齿的根部推出至梳齿的外部,解决了卷发梳难以清理的问题。
[发明]
一种取向硅钢用高张力涂层的制备方法
申请号:
201910527697.0
状态:
审中-实审
申请日:
2019-06-18
申请人:
武汉科技大学
发明人:
顾华志、张奕、杨爽、黄奥
公开日:
2019-09-17
代理机构:
武汉科皓知识产权代理事务所(特殊普通合伙)42222
主分类号:
C09D1/00(2006.01)I
我要购买
摘要:
本发明涉及一种取向硅钢用高张力涂层的制备方法。其技术方案是:所述高张力涂层的溶液组分:磷酸二氢铝为20~40wt%,硅溶胶为25~45wt%,铬酐为2~4wt%,磷酸二氢钾为0.8~4.0wt%,氧氯化锆为1.3~6.4wt%,去离子水为20~30wt%;按高张力涂层的溶液组分及其含量,先将磷酸二氢铝、硅溶胶和铬酐加入反应釜中,混匀,再依次加入磷酸二氢钾和氧氯化锆与去离子水混合得到的氧氯化锆溶液,搅拌,然后将搅拌得到的取向硅钢用高张力涂层溶液涂覆到取向硅钢表面,于保护性气氛中烘烤,高温固化,制得取向硅钢用高张力涂层。本发明具有成本低、工艺简单和易于工业化生产的特点,所制备的取向硅钢用高张力涂层张力效果好和性能优异。
[实用新型]
一种融入光纤光栅并实现形状测量的软体翅膀
申请号:
201920916587.9
状态:
有权
申请日:
2019-06-18
申请人:
武汉科技大学
发明人:
郭永兴、杨跃辉、熊丽、李聪、陈敏
公开日:
2019-12-03
代理机构:
11424北京修典盛世知识产权代理事务所(特殊普通合伙)
主分类号:
G01B11/16(20060101)
我要购买
摘要:
本实用新型公开了一种融入光纤光栅并实现形状测量的软体翅膀,该软体翅膀采用多个光纤光栅串联阵列设置,光纤光栅分别设置在软体翅膀的上下面内,上表面内采用多个光纤光栅横向串联阵列设置,下表面内采用多个光纤光栅纵向串联阵列设置。当飞行器产生复杂的飞行状态时,横向阵列光纤光栅和纵向阵列光纤光栅分别把测得的横向和纵向应变信息反馈给系统,系统对数据进行相关处理,将光纤光栅的应变信息转换成变形信息,再结合坐标信息得到软体翅膀的形状。本实用新型解决了仿生扑翼飞行机器人软体翅膀形状信息难以获得的技术难题,能够实现对软体翅膀的形状测量,且软体翅膀质量轻、体积小、测量精度高。
[发明]
一种融入光纤光栅并实现形状测量的软体翅膀及制作方法
申请号:
201910528142.8
状态:
审中-实审
申请日:
2019-06-18
申请人:
武汉科技大学
发明人:
郭永兴、杨跃辉、熊丽、李聪、陈敏
公开日:
2019-08-27
代理机构:
北京修典盛世知识产权代理事务所(特殊普通合伙)11424
主分类号:
G01B11/16(2006.01)I
我要购买
摘要:
本发明公开了一种融入光纤光栅并实现形状测量的软体翅膀及制作方法,该软体翅膀采用多个光纤光栅串联阵列设置,光纤光栅分别设置在软体翅膀的上下面内,上表面内采用多个光纤光栅横向串联阵列设置,下表面内采用多个光纤光栅纵向串联阵列设置。当飞行器产生复杂的飞行状态时,横向阵列光纤光栅和纵向阵列光纤光栅分别把测得的横向和纵向应变信息反馈给系统,系统对数据进行相关处理,将光纤光栅的应变信息转换成变形信息,再结合坐标信息得到软体翅膀的形状。本发明解决了仿生扑翼飞行机器人软体翅膀形状信息难以获得的技术难题,能够实现对软体翅膀的形状测量,且软体翅膀质量轻、体积小、测量精度高。
[发明]
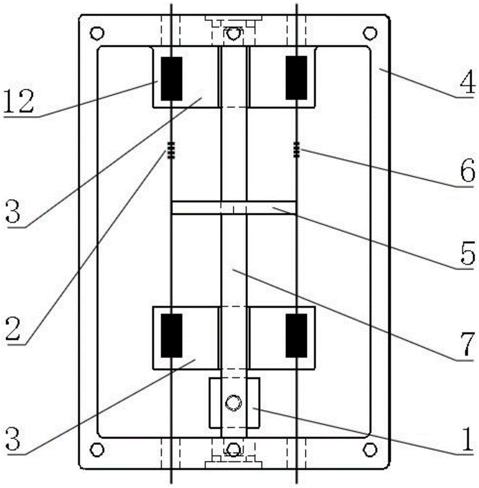
一种凸轮结构的光纤光栅大量程倾角传感器
申请号:
201910528143.2
状态:
审中-实审
申请日:
2019-06-18
申请人:
武汉科技大学
发明人:
郭永兴、李聪、熊丽、陈敏、杨跃辉
公开日:
2019-08-02
代理机构:
北京修典盛世知识产权代理事务所(特殊普通合伙)11424
主分类号:
G01B11/26(2006.01)I
我要购买
摘要:
本发明公开了一种凸轮结构的光纤光栅大量程倾角传感器,包括:质量块、方形凸台、箱体、凸轮、箱盖、封盖、限位挡板;箱体的内部设置有两个大小相等的方形凸台,箱体的外部纵向两侧均开设有光纤出入孔;箱盖与箱体之间通过螺钉连接形成一个封闭的空间,箱盖的下表面设置有一个限位挡板;凸轮由传动杆支撑后位于两个方形凸台之间的中间位置;螺纹杆的一端与质量块连接,另一端与传动杆连接且将二者结合为一体;封盖位于箱体外部的上下两端,封盖对传动杆两端进行轴向固定。本发明具有结构简单、灵敏度与量程均可调、温度自补偿等优点,能够实现大量程、稳定、准确、高灵敏度的倾角测量。
[实用新型]
一种凸轮结构的光纤光栅大量程倾角传感器
申请号:
201920916579.4
状态:
有权
申请日:
2019-06-18
申请人:
武汉科技大学
发明人:
郭永兴、李聪、熊丽、陈敏、杨跃辉
公开日:
代理机构:
主分类号:
G01B11/26(20060101)
我要购买
摘要:
本实用新型公开了一种凸轮结构的光纤光栅大量程倾角传感器,包括:质量块、方形凸台、箱体、凸轮、箱盖、封盖、限位挡板;箱体的内部设置有两个大小相等的方形凸台,箱体的外部纵向两侧均开设有光纤出入孔;箱盖与箱体之间通过螺钉连接形成一个封闭的空间,箱盖的下表面设置有一个限位挡板;凸轮由传动杆支撑后位于两个方形凸台之间的中间位置;螺纹杆的一端与质量块连接,另一端与传动杆连接且将二者结合为一体;封盖位于箱体外部的上下两端,封盖对传动杆两端进行轴向固定。本实用新型具有结构简单、灵敏度与量程均可调、温度自补偿等优点,能够实现大量程、稳定、准确、高灵敏度的倾角测量。
[实用新型]
电驱动组件及其组成的前驱、后驱和四驱电动车辆
申请号:
201920908221.7
状态:
有权
申请日:
2019-06-17
申请人:
武汉科技大学
发明人:
许峻峰、严运兵、龚边
公开日:
代理机构:
主分类号:
B60K1/02(20060101)
我要购买
摘要:
本实用新型公开了一种电驱动组件及其组成的前驱、后驱和四驱电动车辆,所述电驱动组件包括电机、电机安装座、减速器和车轮,所述电机安装在所述电机安装座上,所述减速器的输入端与所述电机的驱动端传动连接,所述减速器的输出端与所述车轮的轮轴一体成型,所述轮轴远离所述车轮的一端延伸至与所述电机安装座转动连接。其结构简单,直接由电机驱动减速器带动所述轮轴转动,且减速器与电机安装座通过轮轴连接,从而使得整个装置的结构更加紧凑。
首页
上一页
101
102
103
104
105
106
107
108
109
110
下一页
尾页
当前共找到
8115
个专利记录
,当前显示页码
106/406