首页
专利查询
专利购买
专利转让
专利申请
15071489439
当前位置:
专利巴士
专利查询
专利名称
查询
高级查询
当前共找到
8115
个专利记录
,当前显示页码
120/406
专利名称
申请号
申请人
发明人
专利代办机构
[发明]
复杂环境用树脂基超声换能器声匹配层材料及其制备方法
申请号:
201910227590.4
状态:
审中-实审
申请日:
2019-03-25
申请人:
武汉科技大学
发明人:
陈辉、赵雷、何漩、曾祥会、方伟、李薇馨
公开日:
2019-07-12
代理机构:
武汉科皓知识产权代理事务所(特殊普通合伙)42222
主分类号:
C08L63/00(2006.01)I
我要购买
摘要:
本发明涉及一种复杂环境用树脂基超声换能器声匹配层材料及其制备方法。其技术方案是:以50~90wt%的改性树脂和10~50wt%的双层空心微球为原料,外加所述原料20~30wt%的固化剂,混合3~15min,制得泥料;将所述泥料机压成型,自然干燥8~10h,脱模,于80~100℃条件下烘烤24~30h,切割,制得复杂环境用树脂基超声换能器声匹配层材料。本发明制备工艺简单、体积密度可控和厚度可加工,所制备的复杂环境用树脂基超声换能器声匹配层材料具有阻抗梯度、高频、高效、宽带(>110%)导通的特点,适用于高温、湿热、极冷等多物理场载荷环境,广泛应用于航空航天、地质勘察、深海探测、极地科研、汽车、医疗等领域,社会效益和经济效益显著。
[实用新型]
基于PLC与智能网关的风机故障诊断与控制系统
申请号:
201920435928.0
状态:
有权
申请日:
2019-03-25
申请人:
武汉科技大学
发明人:
潘炼、李文涛
公开日:
2019-09-17
代理机构:
主分类号:
G05B19/05(2006.01)I
我要购买
摘要:
本实用新型涉及基于PLC与智能网关的风机故障诊断与控制系统,包括:风机(101)、振动传感器(102)、温度传感器(103)、压力传感器(104)、电量采集模块(105)、滤波器(106)、A/D转换器(107)、PLC控制器(108)、智能网关(109)、云服务器(110)、上位机(111)、移动终端(112)、HALL元件(113)、编码器(114)、D/A转换器(115)、光耦隔离器(116)、电机驱动器(117);该系统涉及基于PLC数据采集和风机实时控制与故障诊断装置,实现在线测量与远程控制,广泛应用于风机系统实时控制与故障诊断范围。
[发明]
焦炉荒煤气的多级冷却工艺与装置
申请号:
201910228039.1
状态:
审中-实审
申请日:
2019-03-25
申请人:
武汉科技大学
发明人:
雷杨、曹琳、周宇航、范中宇、范宝安、吴晓琴
公开日:
2019-07-05
代理机构:
湖北武汉永嘉专利代理有限公司42102
主分类号:
C10K1/04(2006.01)I
我要购买
摘要:
本发明涉及焦炉高温荒煤气冷却、焦油馏分采取及余热回收技术领域,具体涉及一种焦炉荒煤气的多级冷却装置及其工艺。本发明的技术方案为:焦炉煤气离开焦炉,通过上升管后依次通过一级换热器、一级闪蒸罐、二级换热器、二级闪蒸罐、三级换热器、三级闪蒸罐,最后进入初冷器,通过调节除氧水的流量来控制荒煤气的冷却后温度。本发明的有益效果在于:通过对焦炉荒煤气采用多段分级冷却,实现荒煤气由650~750℃冷却到80~90℃,并发生高、中和低压蒸汽,同时分离焦油高温馏分、中温馏分和轻油馏分。本发明有以下优势:(1)充分回收了荒煤气余热;(2)实现了荒煤气中馏分的粗分离;(3)多级冷凝温度可调控。
[发明]
具有节能功能的线控转向汽车转向盘控制方法及系统
申请号:
201910227686.0
状态:
审中-实审
申请日:
2019-03-25
申请人:
武汉科技大学
发明人:
赵慧勇、张光德、王保华、冯樱、何宇平、杨启梁
公开日:
2019-06-07
代理机构:
武汉科皓知识产权代理事务所(特殊普通合伙)42222
主分类号:
B62D5/00(2006.01)I
我要购买
摘要:
本发明提出了具有节能功能的线控转向汽车转向盘控制方法的系统,通过综合控制两个阻尼器的阻尼值和电机的状态,实现电机在转向过程和保持某一转角状态时不工作,回正路感由阻尼器和弹簧共同实现;回正状态时通过电机、阻尼器、共同工作实现回正状态时的路感力矩或者转向盘自由回正时的转角位置控制。从而实现了对路感的模拟、线控转向盘的各个状态的控制,并通过只让电机在回正状态下通电工作,降低了能耗。
[发明]
螺丝刀
申请号:
201910228113.X
状态:
审中-实审
申请日:
2019-03-25
申请人:
武汉科技大学
发明人:
黄锡海、傅连东、郭子豪、段中杰、王茂安、李宽
公开日:
2019-07-05
代理机构:
北京路浩知识产权代理有限公司11002
主分类号:
B25B15/00(2006.01)I
我要购买
摘要:
本发明实施例涉及安装工具领域,提供一种螺丝刀包括:下压组件、轴承套、第一连接轴、刀头和转向组件;轴承套具有相连的横杆和竖杆,下压组件的工作端与横杆背离述竖杆的一侧相连;第一连接轴与竖杆远离横杆的端部可滑动连接,以使述第一连接轴可沿竖杆的长度方向滑动;述转向组件与横杆远离竖杆的端部可旋转连接;第一连接轴背离横杆的一端与述刀头的连接端相连,第一连接轴的相对端与转向组件的转向端相连。本发明提供的螺丝刀在使用过程中作用在第一连接轴上的旋转力与第一连接轴的轴线不处于同一方向,从而不需在第一连接轴的轴线方向上对其施加旋转向下的力,缩小了螺丝刀的操作空间,使得该种结构的螺丝刀可以用于狭小空间内。
[实用新型]
内置钢管束混凝土的组合剪力墙结构单元
申请号:
201920383362.1
状态:
有权
申请日:
2019-03-25
申请人:
武汉科技大学
发明人:
谈泽鑫、万胜武
公开日:
代理机构:
主分类号:
E04B2/56(20060101)
我要购买
摘要:
本实用新型公开了一种内置钢管束混凝土组合剪力墙结构单元,解决了现有剪力墙施工复杂、费时费力、污染环境、灵活性差的问题。技术方案包括钢管束混凝土,还包括有对应开孔的上固定钢板和下固定钢板,所述钢管束混凝土外套装有矩形混凝土柱,其上下两端对应插装在上固定钢板和下固定钢板的孔中。本实用新型结构简单、灵活性高、可工厂提前制作、现场快速组装、省时省力、生产制造成本低。
[发明]
一种树脂基声匹配层材料及其制备方法
申请号:
201910227296.3
状态:
审中-实审
申请日:
2019-03-25
申请人:
武汉科技大学
发明人:
赵雷、陈辉、方伟、何漩、李薇馨、曾祥会
公开日:
2019-07-05
代理机构:
武汉科皓知识产权代理事务所(特殊普通合伙)42222
主分类号:
C08L101/04(2006.01)I
我要购买
摘要:
本发明涉及一种树脂基声匹配层材料及其制备方法。其技术方案是:以50~90wt%的树脂和10~50wt%的空心球为原料,外加所述原料20~30wt%的固化剂和1~5wt%的添加剂,混合3~15min,即得泥料;将所述泥料浇铸成型,自然干燥3~10h,脱模,在60~120℃条件下烘烤12~24h,制得树脂基声匹配层材料。本发明工艺简单和能连续生产,所制得的树脂基声匹配层材料具有厚度可加工、重量轻、耐高温、耐腐蚀、高效和宽带导通的特点,实现了在航空航天、高海拔地质勘察、深海探测、极地科研和无人驾驶的发展和需求。具有广泛的社会和经济价值。
[发明]
一种阻抗梯度声匹配层材料及其制备方法
申请号:
201910227587.2
状态:
审中-实审
申请日:
2019-03-25
申请人:
武汉科技大学
发明人:
陈辉、赵雷、曾祥会、李薇馨、方伟、何漩
公开日:
2019-06-28
代理机构:
武汉科皓知识产权代理事务所(特殊普通合伙)42222
主分类号:
C08L61/28(2006.01)I
我要购买
摘要:
本发明涉及一种阻抗梯度声匹配层材料及其制备方法。其技术方案是:先以50~90wt%的树脂和10~50wt%的多层空心球为原料,外加所述原料20~30wt%的固化剂和1~5wt%的添加剂,混合3~15min,制得泥料;将所述泥料浇注成型,在室温条件下自然干燥8~10h,脱模,在60~120℃条件下烘烤24~30h,即得阻抗梯度声匹配层材料。本发明工艺简单、体积密度可控、厚度可控和连续生产,制备的阻抗梯度声匹配层材料的厚度可加工、重量轻、高效和宽带导通,阻抗梯度高,能满足高性能超声换能器声匹配层阻抗要求,适用于航空航天、汽车、医学等领域。
[发明]
手机支架
申请号:
201910223790.2
状态:
审中-实审
申请日:
2019-03-22
申请人:
武汉科技大学
发明人:
黄锡海、李宽、王茂安、段中杰、李亚贵
公开日:
2019-08-06
代理机构:
11002北京路浩知识产权代理有限公司
主分类号:
H04M1/04(20060101)
我要购买
摘要:
本发明实施例涉及电子产品配件技术领域,提供一种手机支架,包括依次连接的底座、套管、螺纹杆和夹装板;所述套管竖向安装于所述底座上表面,所述套管的内壁面设有与所述螺纹杆的外螺纹相配合的内螺纹,所述螺纹杆的下端旋接于所述套管,所述夹装板安装于所述螺纹杆的上端,所述夹装板用于夹装手机。本发明实施例提供的手机支架,通过螺纹管与套管的旋接,不但实现了手机支架在高度方向的上下调节,而且提供了手机支架在水平方向旋转调节的自由度,适用于各种手机及平板电脑等多种电子产品,调节自由度高、通用性强、应用范围广,而且结构简单、使用方便。
[发明]
电梯控制方法及装置
申请号:
201910217233.X
状态:
审中-实审
申请日:
2019-03-21
申请人:
武汉科技大学
发明人:
李峻、郭小沛、蒋林、向超
公开日:
2019-06-28
代理机构:
北京路浩知识产权代理有限公司11002
主分类号:
B66B1/06(2006.01)I
我要购买
摘要:
本发明实施例提供一种电梯控制方法及装置,其中方法包括:在接收到乘坐请求后,计算电梯内物体的垂直投影面积,并开始记录触发所述乘坐请求的乘客的等待时间;若根据计算结果获知电梯内的空间大于预设阈值,则根据所述等待时间与时间阈值的相对大小进行乘坐意图判断;若所述等待时间大于所述时间阈值,则获知乘客具有乘坐意图,停止记录所述乘客的等待时间并控制电梯在乘客所在的楼层进行停靠。本发明实施例能够显著增加电梯运行效率,同时提升乘客的乘坐体验。
[发明]
基于机器视觉的平面四连杆机构位姿检测系统及检测方法
申请号:
201910216402.8
状态:
审中-实审
申请日:
2019-03-21
申请人:
武汉科技大学
发明人:
王兴东、刘胜利、郭东生、刘钊、朱重阳、郝石东、郑天伦、周玲
公开日:
2019-07-09
代理机构:
武汉科皓知识产权代理事务所(特殊普通合伙)42222
主分类号:
G01B11/00(2006.01)I
我要购买
摘要:
本发明涉及一种基于机器视觉的平面四连杆机构位姿检测系统及检测方法。其技术方案是:在平面四连杆机构的摇杆(2)和连杆(3)表面做五个标记点和两个标记线;利用CMOS工业数字相机(9)连续采集运动中的平面四连杆机构中含标记点和标记线的端面图像;再对端面图像进行图像处理,即得五个标记点区域圆心在端面图像中的坐标和两个标记线在端面图像中的位置方程;得到端面图像的连杆(3)和摇杆(2)的夹角,并得到摇杆(2)上铰点处的标记点分别到连杆(3)上一根标记线和另一根标记线的距离。其余端面图像逐帧依此处理。本发明结构简单和使用方便,能避免被测对象的损坏,通过合理匹配运动副间隙,为提高真实机构的运动精度奠定基础。
[实用新型]
一种厕纸盒
申请号:
201920371053.2
状态:
有权
申请日:
2019-03-21
申请人:
武汉科技大学
发明人:
成丽新、唐秋华
公开日:
代理机构:
主分类号:
A47K10/22(20060101)
我要购买
摘要:
本实用新型实施例涉及生活用品技术领域,提供了一种厕纸盒,包括外壳、内壳、第一转轴与第二转轴;外壳与内壳均为由圆弧状侧壁以及顶面和底面围成的柱状壳体结构,外壳的侧壁开设有用于出纸的开口;内壳可旋转的嵌套在外壳内,内壳的顶面与外壳的顶面通过第一转轴连接,内壳的底面与外壳的底面通过第二转轴连接。本实用新型实施例提供的厕纸盒,通过设置内壳与外壳,形成一个存储空间用于存放卷纸,提高了防水性能;并且由于第一转轴与第二转轴相对独立,不会占用存储空间,因此实心卷纸也可以直接放入存储空间内,提高了适用性;此外,由于内壳可旋转的嵌套在外壳内,可以通过旋转内壳来调节放纸口以及漏纸口的大小,方便换纸,使用更加方便。
[发明]
一种结合相增强低碳MgO-C耐火材料及其制备方法
申请号:
201910217160.4
状态:
审中-实审
申请日:
2019-03-21
申请人:
武汉科技大学
发明人:
李享成、王百帅、陈平安、朱伯铨
公开日:
2019-06-11
代理机构:
武汉科皓知识产权代理事务所(特殊普通合伙)42222
主分类号:
C04B35/66(2006.01)I
我要购买
摘要:
本发明涉及一种结合相增强低碳MgO‑C耐火材料及其制备方法。其方案是:将45~55wt%电熔镁砂颗粒、35~45wt%电熔镁砂细粉、1~5wt%镁铝合金细粉、1~5wt%碳素和2~5.5wt%复合结合剂混碾,成型,固化;于1000~1600℃和保护气氛热处理,制得结合相增强低碳MgO‑C耐火材料。复合结合剂为催化剂和结合剂的混合物;催化剂的制备方法是:将Fe
2
O
3
粉体洗涤,干燥,得到干燥后的Fe
2
O
3
粉体;将络合剂溶液和镍盐溶液混合,搅拌,调PH值,加入稳定剂,搅拌,加入干燥后的Fe
2
O
3
粉体;再加入还原剂溶液,搅拌,洗涤,干燥,于保护气氛和400~700℃条件下保温1~3h,得到催化剂。本发明工艺简单和生产成本低。所制制品力学性能和热震稳定性优良。
[发明]
一种具有核壳结构的Fe2O3@Ni复合粉体及其制备方法
申请号:
201910217170.8
状态:
审中-实审
申请日:
2019-03-21
申请人:
武汉科技大学
发明人:
李享成、王百帅、陈平安、朱伯铨
公开日:
2019-07-05
代理机构:
武汉科皓知识产权代理事务所(特殊普通合伙)42222
主分类号:
B22F1/02(2006.01)I
我要购买
摘要:
本发明涉及一种具有核壳结构的Fe
2
O
3
@Ni复合粉体及其制备方法。其技术方案是:将Fe
2
O
3
粉体在氢氧化钠溶液中和稀硫酸中交替洗涤,干燥,得到干燥后的Fe
2
O
3
粉体。将络合剂溶液和镍盐溶液在水浴条件下搅拌,得到镀液I;调PH值至9~13,加入稳定剂,得到镀液II。先后向镀液II中加入干燥后的Fe
2
O
3
粉体和均速加入还原剂,得到包覆液。将包覆粉液用去离子水洗涤,干燥,再于保护气氛和400~700℃条件下保温1~3h。制得具有核壳结构的Fe
2
O
3
@Ni复合粉体。本发明具有工艺简单和成本低的特点,用该方法制得具有核壳结构的Fe
2
O
3
@Ni复合粉体的成分均匀和催化效果好。
[发明]
一种沥青烟净化装置
申请号:
201910216606.1
状态:
审中-实审
申请日:
2019-03-21
申请人:
武汉科技大学
发明人:
陈旺生、涂阳哲、朱能天、秦林波、赵波、韩军、幸福堂、吴高明
公开日:
2019-05-21
代理机构:
武汉宇晨专利事务所42001
主分类号:
B01D53/02(2006.01)I
我要购买
摘要:
本发明涉及一种沥青烟净化装置由料仓、进气烟箱、气流均布板、吸附过滤仓、料斗、卸料装置和出气烟箱组成。两个串联的吸附过滤仓顶部分别设有料仓,底部料斗分别安装有卸料装置,第一吸附过滤仓的进气侧连接安装有气流均布板的进气烟箱,第二吸附过滤仓出气侧与出气烟箱连接。沥青烟气由进气烟箱进入装置,经过两个串联的吸附过滤仓处理后,由出气烟箱排出。本装置能使沥青烟气与吸附过滤介质活性焦粉和轻质多孔氧化铝颗粒充分接触并被吸附过滤介质吸附过滤,并且在吸附过滤仓内形成移动床式吸附过滤,提高沥青烟气净化效率,活性焦粉可回收利用,轻质多孔氧化铝颗粒可再生,解决吸附过滤介质活性下降等问题。
[实用新型]
一种沥青烟净化装置
申请号:
201920378758.7
状态:
有权
申请日:
2019-03-21
申请人:
武汉科技大学
发明人:
陈旺生、涂阳哲、朱能天、秦林波、赵波、韩军、幸福堂、吴高明
公开日:
代理机构:
主分类号:
B01D53/02(20060101)
我要购买
摘要:
本实用新型涉及一种沥青烟净化装置由料仓、进气烟箱、气流均布板、吸附过滤仓、料斗、卸料装置和出气烟箱组成。两个串联的吸附过滤仓顶部分别设有料仓,底部料斗分别安装有卸料装置,第一吸附过滤仓的进气侧连接安装有气流均布板的进气烟箱,第二吸附过滤仓出气侧与出气烟箱连接。沥青烟气由进气烟箱进入装置,经过两个串联的吸附过滤仓处理后,由出气烟箱排出。本装置能使沥青烟气与吸附过滤介质活性焦粉和轻质多孔氧化铝颗粒充分接触并被吸附过滤介质吸附过滤,并且在吸附过滤仓内形成移动床式吸附过滤,提高沥青烟气净化效率,活性焦粉可回收利用,轻质多孔氧化铝颗粒可再生,解决吸附过滤介质活性下降等问题。
[实用新型]
一种手机充电支架
申请号:
201920363277.9
状态:
有权
申请日:
2019-03-21
申请人:
武汉科技大学
发明人:
成丽新、蒙凯、唐秋华
公开日:
2019-10-15
代理机构:
北京路浩知识产权代理有限公司11002
主分类号:
H04M1/04(2006.01)I
我要购买
摘要:
本实用新型实施例涉及电子辅助设备技术领域,提供一种手机充电支架,包括:第一定型软管、充电数据线以及底盒,第一定型软管的下端与底盒相连,第一定型软管的上端装第一夹持部件,充电数据线穿设在第一定型软管的内部,充电数据线的一端与移动电源电连接,充电数据线的另一端位于第一定型软管的上端外部并卡设在第一夹持部件上。本实用新型实施例提供的手机充电支架,将移动电源、充电数据线与手机支架结合,既能让手机在充电的同时起到支撑作用,方便手机的使用,并且手机支架可以任意转动,满足不同视角的使用需求;同时又能使充电数据线隐藏在第一定型软管内,从而保持线条的整洁,不容易被其他物件勾住,便于提高手机及整个支架的安全性。
[发明]
一种改性稻壳生物质炭及其制备方法
申请号:
201910213657.9
状态:
审中-实审
申请日:
2019-03-20
申请人:
武汉科技大学
发明人:
熊武芳、龚香宜、彭章、钟萍、胡宏元
公开日:
2019-07-05
代理机构:
北京轻创知识产权代理有限公司11212
主分类号:
B01J20/20(2006.01)I
我要购买
摘要:
本发明涉及一种稻壳生物质炭及其制备方法,其包括如下步骤:S1.烘干:将收集的稻壳过筛去除杂质,并放入烘箱中烘干;S2.高温热解:将步骤S1中的稻壳冷却后,放入管式炉中,在氮气氛围中升温热解,得生物质炭;S3.高锰酸钾改性:将步骤S2中得到的生物质炭研磨并筛出小颗粒生物质炭与高锰酸钾和去离子水置于振荡器中震荡使高锰酸钾充分氧化生物质炭表面,然后用去离子水冲洗掉氧化后残留在生物质炭上的杂质,烘干后得到改性稻壳生物质炭。本发明的目的在于以稻壳为原料,氮气氛围下程序升温法热解,以高锰酸钾为改性药剂,对稻壳生物质炭进行改性制备,并将其应用在PAHs萘污染处理中,进一步提高生物质炭的吸附效果,并能同时适用于水体和土壤的污染治理。
[实用新型]
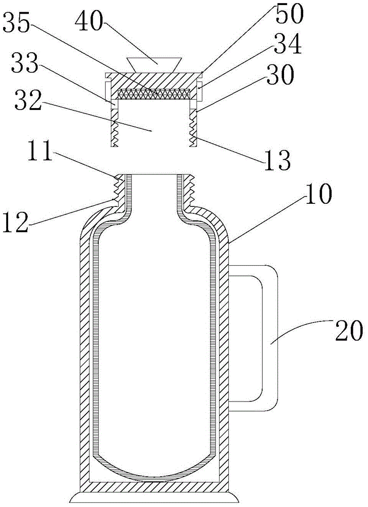
一种热水瓶
申请号:
201920361794.2
状态:
有权
申请日:
2019-03-20
申请人:
武汉科技大学
发明人:
何本钢
公开日:
代理机构:
主分类号:
A47J41/00(20060101)
我要购买
摘要:
本实用新型公开了一种热水瓶,包括热水瓶本体和瓶塞,所述热水瓶本体具有圆柱形的外壳,所述外壳竖直设置,其上端同轴设有圆筒形的连接部,所述连接部的下端开口与所述热水瓶本体的内部连通,所述瓶塞可拆卸的设置在所述连接部的上端开口处,所述瓶塞为圆柱形,其竖直设置,且其下端同轴开有与所述所连接部对应的凹槽,所述连接部可拆卸的设置在所述凹槽内,以通过所述瓶塞封闭所述连接部的上端开口,所述瓶塞的侧壁上沿周向间隔设有多个与所述凹槽连通的第一通孔。本实用新型的热水瓶具有结构简单和安全性能高等优点。
[发明]
一种米斛的高效利用方法
申请号:
201910207041.0
状态:
审中-实审
申请日:
2019-03-19
申请人:
安徽拂旦生物科技有限公司、武汉科技大学
发明人:
周劭、周建安、潘华章、李数
公开日:
2019-07-30
代理机构:
44487深圳汇策知识产权代理事务所(普通合伙)
主分类号:
A61K36/8984(20060101)
我要购买
摘要:
本发明公开了一种米斛的高效利用方法,该方法包括如下步骤:S1、将鲜米斛分类、清洗后放置晾干,备用;S2、将沥干的米斛加入去离子水进行高速搅拌制得米斛浆液;S3、将获得的米斛浆液进行离心分离,得到上清液与药渣;S4、将获得的药渣进行高温碳化后制得碳纤维材料;S5、将获得的上清液进行浓缩、真空冷冻干燥得到米斛冻干粉,再进一步微波分散进行包装;该方法采用低温真空冷冻方法,有效的保留了米斛中有效的成分和活性物质,使得米斛的药用价值得到了充分利用;同时将分离后药渣经过高温处理得到生物质基碳纤维,并作为电极材料或者吸附材料,减少了米斛药渣对环境的污染,开发了一条综合处理米斛的提取残渣的技术方法。
首页
上一页
111
112
113
114
115
116
117
118
119
120
下一页
尾页
当前共找到
8115
个专利记录
,当前显示页码
120/406