首页
专利查询
专利购买
专利转让
专利申请
15071489439
当前位置:
专利巴士
专利查询
专利名称
查询
高级查询
当前共找到
8115
个专利记录
,当前显示页码
125/406
专利名称
申请号
申请人
发明人
专利代办机构
[发明]
一种烟气颗粒演化分析方法、装置、计算设备和存储介质
申请号:
201910101009.4
状态:
审中-实审
申请日:
2019-01-31
申请人:
武汉科技大学
发明人:
周锟、刘少杰、赵辉、孙科、贺铸、潘丽萍
公开日:
2019-06-14
代理机构:
北京轻创知识产权代理有限公司11212
主分类号:
G06F17/50(2006.01)I
我要购买
摘要:
本发明涉及一种基于fluent软件的烟气颗粒演化分析方法、装置、计算设备和计算机可读存储介质,该方法包括:在fluent软件中设置网格模型、烟气流动分析条件和用户自定义函数,网格模型中包含流动域;按照烟气流动分析条件对流动域进行分析,得到烟气颗粒运动过程中其周围实时的气体组分信息;通过用户自定义函数从fluent软件中导出气体组分信息;将导出后的气体组分信息导入颗粒演化模拟程序,并根据颗粒演化模拟程序和气体组分信息确定烟气颗粒演化结果。本发明的基于fluent软件的烟气颗粒演化分析方法、装置、计算设备和计算机可读存储介质,能够使得fluent软件给出烟气颗粒运动过程中其周围实时的气体组分信息,简化了烟气颗粒演化分析过程。
[发明]
一种用于钢水的脱氧及微合金化方法
申请号:
201910095662.4
状态:
审中-实审
申请日:
2019-01-31
申请人:
武汉科技大学
发明人:
周建安、张翔、王宝、宋伟明
公开日:
2019-04-26
代理机构:
深圳汇策知识产权代理事务所(普通合伙)44487
主分类号:
C21C5/35(2006.01)I
我要购买
摘要:
本发明提供了一种用于钢水的脱氧及微合金化方法,包括如下步骤:向顶底复吹转炉顶部吹氧气,底吹惰性气体进行冶炼,或电炉中钢水底吹惰性气体进行冶炼,待主要化学成分合格后,底部以惰性气体为载气喷吹脱氧剂进行精炼,待钢水中[O]≤200ppm时,底部以惰性气体为载气向钢水中喷吹合金粉对钢水进行微合金化处理,所述合金粉的喷吹量≤10kg/t钢水;本发明通过底吹惰性气体向钢水中喷吹脱氧剂使钢水脱氧后,再喷吹合金粉进行直接微合金化,使钢水成分更加均匀,为钢铁材料生产中微合金元素的直接微合金化提供了一种全新的思路,可以有效地使钢铁材料中得到以固溶形式存在的微合金化元素,从而提升钢的性能。
[实用新型]
一种用于跑步机的手机支架
申请号:
201920174530.6
状态:
有权
申请日:
2019-01-31
申请人:
武汉科技大学
发明人:
方辉、姚冬冬、侯嘉浩、向诗琪、武继锋
公开日:
代理机构:
主分类号:
H04M1/04(20060101)
我要购买
摘要:
本实用新型公开了一种用于跑步机的手机支架,包括支撑底板、两根第一伸缩杆、第二伸缩杆和吸盘,支撑底板水平设置在跑步机的两根扶手之间,其上端设有用于夹持手机的夹持组件,两根第一伸缩杆分别沿左右方向设置在支撑底板下端的左右两侧,第一伸缩杆的一端与支撑底板连接,其另一端设有连接件,两根第一伸缩杆通过连接件与跑步机的两根扶手分别可拆卸的连接,第二伸缩杆沿前后方向设置,其后端通过转动组件与支撑底板前侧的中部转动连接,并可在其转动的任意角度固定,吸盘可转动的设置在第二伸缩杆前端的下端,第二伸缩杆的另一端通过吸盘与跑步机的显示屏连接。本实用新型提供一种用于跑步机的手机支架,可以将手机稳定的固定在跑步机上。
[发明]
一种用于冶金合金粉的低温脱水处理方法
申请号:
201910095672.8
状态:
审中-实审
申请日:
2019-01-31
申请人:
武汉科技大学
发明人:
周建安、周亮
公开日:
2019-06-21
代理机构:
深圳汇策知识产权代理事务所(普通合伙)44487
主分类号:
F26B5/06(2006.01)I
我要购买
摘要:
本发明公开了一种用于冶金合金粉的低温脱水处理方法,通过真空冷冻干燥技术,合金粉低温真空冷冻干燥后含水率低于0.5%,且干燥过程中合金粉无氧化褐变现象,干燥后粉体颗粒间无粘连或团聚现象,分散性好,对合金粉的性能影响较小;且整个干燥过程均在低温下进行,避免了高温干燥过程中,合金粉发生氧化、燃烧爆炸等安全事故,且操作简单,冷冻干燥耗时较短,适用于大批量合金粉样品的脱水处理。
[发明]
一种再生镁碳造泡沫渣剂及其制备方法和应用
申请号:
201910101045.0
状态:
审中-实审
申请日:
2019-01-31
申请人:
武汉科技大学
发明人:
宋生强、刘航、张文科、吴映江、薛正良
公开日:
2019-04-26
代理机构:
北京轻创知识产权代理有限公司11212
主分类号:
C21C5/54(2006.01)I
我要购买
摘要:
本发明提供了一种再生镁碳造泡沫渣剂的制备方法,包括以下步骤:1)破碎:将废弃镁碳砖破碎成粒径小于15mm的颗粒;2)筛分:将步骤1所述颗粒筛分为粒径为5~15mm颗粒和粒径小于5mm的细粉;3)制粒:将步骤2)所述粒径小于5mm的细粉与以粒径小于5mm的细粉计0.5wt%的水混匀,制成粒径为8~12mm球形颗粒;4)混匀:将步骤2)所得粒径为5~15mm颗粒和步骤3)获得的粒径为8~12mm球形颗粒全部混合获得所述再生镁碳造泡沫渣剂。本发明还提供了上述方法制备而成的再生镁碳造泡沫渣剂及其应用。本发明提供一种对废弃镁碳砖有效可行、经济效益显著的回收途径,即将废弃镁碳砖再生利用于电炉造泡沫渣,可以替代电炉氧化镁资源白云石的加入,可以有效回收利用废弃镁碳砖。
[发明]
一种转炉底吹掺氧方法
申请号:
201910095640.8
状态:
审中-实审
申请日:
2019-01-31
申请人:
武汉科技大学
发明人:
周建安、张翔、王宝、宋伟明
公开日:
2019-05-14
代理机构:
深圳汇策知识产权代理事务所(普通合伙)44487
主分类号:
C21C5/35(2006.01)I
我要购买
摘要:
本发明公开了一种转炉底吹掺氧方法,包括如下步骤:将铁水兑入顶底复吹转炉,然后顶部氧枪吹氧,炉底吹氧气或压缩空气、吹氮冶炼,顶吹氧气流量为1.5~4.5m
3
/(t·min),底吹氧气或压缩空气中氧气所占比例的流量为0.001~0.3m
3
/(t·min)、底吹氮气流量为1.5~3.0m
3
/(t·min),本发明通过将氧气或压缩空气与氮气混合后再进入到转炉底吹元件进行底吹,不改变转炉现有的底吹元件;同时通过调整底吹混合气体中氧气与氮气的流量比,使熔池温度均匀化、改善了冶炼动力学条件,提高了吹炼效率,使钢水终点碳含量降低,脱磷效果更高,且本发明整个工艺流程简单,冶炼成本低。
[发明]
一种装配式框架梁柱连接节点
申请号:
201910099161.3
状态:
审中-实审
申请日:
2019-01-31
申请人:
武汉科技大学
发明人:
刘锟、杨曌、杨泉、凌之涵、周新、谈程
公开日:
2019-04-19
代理机构:
北京轻创知识产权代理有限公司11212
主分类号:
E04B1/20(2006.01)I
我要购买
摘要:
本发明公开的装配式框架梁柱连接节点包括预制柱和预制梁,预制柱竖向设置,其内部预埋有沿左右方向贯穿其的条形连接杆和若干个第一固定杆,条形连接杆和第一固定杆均伸出所述预制柱的左右两侧,第一固定杆位于条形连接杆的下方;预制梁设有两个,两个预制梁分别水平分布在预制柱的左右两侧,两个预制梁靠近预制柱的一端分别与条形连接杆的左右两端固定连接,且两个预制梁均位于第一固定杆的上方,两个预制梁在条形连接杆的下方分别预埋有与第一固定杆数目对应的第二固定杆,且每个预制梁对应第一固定杆分别伸出其下侧,并与对应的第一固定杆固定连接。本发明通过第一固定杆和第二固定杆固定连接预制柱和预制梁,连接简单可靠。
[实用新型]
一种装配式框架梁柱连接节点
申请号:
201920179196.3
状态:
有权
申请日:
2019-01-31
申请人:
武汉科技大学
发明人:
刘锟、杨曌、杨泉、凌之涵、周新、谈程
公开日:
代理机构:
主分类号:
E04B1/20(20060101)
我要购买
摘要:
本实用新型公开的装配式框架梁柱连接节点包括预制柱和预制梁,预制柱竖向设置,其内部预埋有沿左右方向贯穿其的条形连接杆和若干个第一固定杆,条形连接杆和第一固定杆均伸出所述预制柱的左右两侧,第一固定杆位于条形连接杆的下方;预制梁设有两个,两个预制梁分别水平分布在预制柱的左右两侧,两个预制梁靠近预制柱的一端分别与条形连接杆的左右两端固定连接,且两个预制梁均位于第一固定杆的上方,两个预制梁在条形连接杆的下方分别预埋有与第一固定杆数目对应的第二固定杆,且每个预制梁对应第一固定杆分别伸出其下侧,并与对应的第一固定杆固定连接。本实用新型通过第一固定杆和第二固定杆固定连接预制柱和预制梁,连接简单可靠。
[发明]
一种基于DCT域特征的立体图像质量客观评价方法
申请号:
201910091249.0
状态:
审中-实审
申请日:
2019-01-30
申请人:
武汉科技大学
发明人:
柴利、刘天、盛玉霞、杨君
公开日:
2019-06-18
代理机构:
武汉科皓知识产权代理事务所(特殊普通合伙)42222
主分类号:
G06T7/00(2017.01)I
我要购买
摘要:
本发明涉及一种基于DCT域特征的立体图像质量客观评价方法。其技术方案是,基于双目融合特性,将左视图I
L
(x,y)和右视图I
R
(x,y)合成融合独眼图O
1
(x,y),基于双目竞争特性,将左视图I
L
(x,y)和右视图I
R
(x,y)合成竞争独眼图O
2
(x,y);然后对左视图I
L
(x,y)、右视图I
R
(x,y)、融合独眼图O
1
(x,y)和竞争独眼图O
2
(x,y)进行DCT域特征提取,合并四幅图特征作为立体图像对的特征矢量;在立体图像库中,对提取的DCT域特征矢量进行机器学习,建立支持向量回归模型;最后,提取待测立体图像对的特征矢量,通过支持向量回归模型,得到评价质量分数。本发明具有充分结合双目视觉特性和利用DCT域特征的特点,所提供的评价方法准确度高、评价性能优良和方法简单,能充分反映人眼视觉特性。
[发明]
一种基于图卷积神经网络的人脸表情识别方法
申请号:
201910091261.1
状态:
审中-实审
申请日:
2019-01-30
申请人:
武汉科技大学
发明人:
柴利、吴晨晖、杨君、盛玉霞
公开日:
2019-07-12
代理机构:
武汉科皓知识产权代理事务所(特殊普通合伙)42222
主分类号:
G06K9/00(2006.01)I
我要购买
摘要:
本发明涉及一种基于图卷积神经网络的人脸表情识别方法。其技术方案是:首先,获取人脸表情图像集合Image和人脸表情标记集合Label;然后,根据人脸表情图像集合Image得到人脸表情无向图集合Graph;再根据人脸表情无向图集合Graph和人脸表情标记集合Label,建立人脸表情识别分类器;最后,输入一张待识别的人脸表情图像,进行灰度化,提取人脸部分图像,再将人脸部分图像的大小归一化到m×m,得到归一化后的人脸图像,将归一化后的人脸图像转换成无向图,将无向图输入至人脸表情识别的分类器,得到人脸表情的识别结果。本发明具有能提取较为广泛的图像特征的特点,人脸表情识别率高。
[发明]
一种用于高锰低温钢气体保护焊的实芯焊丝
申请号:
201910088646.2
状态:
审中-实审
申请日:
2019-01-30
申请人:
南京钢铁股份有限公司、武汉科技大学
发明人:
孙超、王红鸿、李东晖、赵柏杰
公开日:
2019-04-16
代理机构:
南京利丰知识产权代理事务所(特殊普通合伙)32256
主分类号:
B23K35/30(2006.01)I
我要购买
摘要:
本发明公开一种用于高锰低温钢气体保护焊的实芯焊丝,其特征在于,其化学成分及质量分数为:C:0.2~0.4%,Mn:12~15%,Ni:14~18%,Cr:1.5~4.5%,Mo:0.1~0.6%,Ti:0.005~0.040%,P≤0.004%,S≤0.002%,余量为Fe和不可避免的杂质元素。本发明实芯焊丝采用复合添加锰和镍的合金设计,降低了镍等昂贵元素含量及合金成本,避免了过高锰含量在焊接过程中形成过量的有毒性锰挥发,因而提高了焊丝的使用性能,实芯焊丝所形成的焊缝金属在‑196℃的低温下具有优良的冲击韧性,很好的满足了高锰低温钢用于建造液化天然气储罐等设备时对焊接的要求。
[发明]
二维碳化钒MXene的制备方法
申请号:
201910087167.9
状态:
审中-实审
申请日:
2019-01-29
申请人:
武汉科技大学
发明人:
丛野、关云锋、李轩科、董志军、袁观明、崔正威、李艳军、张江
公开日:
2019-04-19
代理机构:
湖北武汉永嘉专利代理有限公司42102
主分类号:
C01B32/914(2017.01)I
我要购买
摘要:
本发明公开了一种二维碳化钒MXene的方法,属于粉末制备技术领域。该制备方法包括以下步骤:将氟盐与盐酸混合均匀,然后在该混合溶液中加入V
2
AlC粉末搅拌;将上述搅拌均匀后的样品溶液置于一定温度的环境氛围下,反应一定时间;将上述反应后的悬浮液洗涤、离心分离至中性;将洗涤后的样品在一定温度的真空环境下干燥一定时间,即可得到二维碳化钒MXene粉体。本发明制备二维碳化钒的方法,避免了使用有强腐蚀和剧毒性的氢氟酸,反应温和、易于控制;所制备的二维碳化钒具有较大的层间距和表面积。
[实用新型]
D-SUB连接器和用于该D-SUB连接器的金属外壳
申请号:
201920144310.9
状态:
有权
申请日:
2019-01-28
申请人:
武汉科技大学
发明人:
易静姝
公开日:
2019-08-20
代理机构:
武汉科皓知识产权代理事务所(特殊普通合伙)42222
主分类号:
H01R13/506(2006.01)I
我要购买
摘要:
本实用新型涉及D‑SUB连接器和用于该D‑SUB连接器的金属外壳,所述金属外壳包括第一壳体、第二壳体和紧固件;所述第一壳体和所述第二壳体均包括:平行设置的第一侧壁和第二侧壁;连接所述第一侧壁和所述第二侧壁的底面和第三侧壁;以及从所述第三侧壁延伸出的弧形尾套;所述第一壳体和所述第二壳体的第一侧壁和/或第二侧壁通过卡扣连接;所述第一壳体和所述第二壳体的弧形尾套可接合成供电缆穿过的圆柱形尾套,所述紧固件与所述圆柱形尾套连接。
[发明]
全向电动轮及电动车
申请号:
201910080056.5
状态:
审中-实审
申请日:
2019-01-28
申请人:
武汉科技大学
发明人:
韩晓、林泽彬、杨传杰、方丹、马先重
公开日:
2019-05-03
代理机构:
北京路浩知识产权代理有限公司11002
主分类号:
B62D5/04(2006.01)I
我要购买
摘要:
本发明涉及电动汽车技术领域,提供一种全向电动轮及电动车。全向电动轮包括驱动单元和转向单元。驱动单元包括车轮和用于驱动车轮转动的电机,转向单元包括转向支撑件、悬挂支撑件、转向齿轮和传动齿轮。车轮通过电机连接于转向支撑件,转向支撑件滑动连接悬挂支撑件,转向齿轮固定连接转向支撑件,传动齿轮与转向齿轮相啮合。本发明提供的全向电动轮,通过电机直接连接并驱动车轮,通过传动齿轮带动转向齿轮进而控制车轮的行进方向,并形成具有全向自由度的转向单元,转向结构简单可靠且转动灵活。本发明提供的电动车采用本发明实施例的全向电动轮,使车辆能够方便进行小半径转弯及横向移动,方便车辆通过狭窄急弯和进行入库泊车。
[实用新型]
一种多层置物肥皂盒
申请号:
201920145832.0
状态:
有权
申请日:
2019-01-28
申请人:
武汉科技大学
发明人:
夏臻康、李峻、黄晶晶
公开日:
2019-11-15
代理机构:
11212北京轻创知识产权代理有限公司
主分类号:
A47K5/08(20060101)
我要购买
摘要:
本实用新型涉及一种多层置物肥皂盒,该多层置物肥皂盒包括上下依次设置的上端开口的肥皂盒,任意两个所述肥皂盒皆转动连接,最上层的所述肥皂盒上端设置有置物盒,各所述肥皂盒外圈设置有环形储水结构,所述环形储水结构上端开口且与对应的肥皂盒连通,肥皂盒内的水可流出到环形储水结构上,易于蒸发。本实用新型的多层置物肥皂盒,存放肥皂多,不占空间,肥皂下端不会有积水,防止了细菌滋生。
[发明]
一种多功能安全帽
申请号:
201910088534.7
状态:
审中-实审
申请日:
2019-01-28
申请人:
武汉科技大学
发明人:
周家玉、王永翠、赵小炯、宋金文、刘子涵、王震
公开日:
2019-05-31
代理机构:
北京轻创知识产权代理有限公司11212
主分类号:
A42B3/04(2006.01)I
我要购买
摘要:
本发明涉及一种多功能安全帽,该多功能安全帽包括帽体,所述帽体上自上而下依次设置有水雾发生层、反应层和内芯层,所述反应层包括用于吸收外部有害气体的第一反应层和用于净化帽内空气质量的第二反应层,所述帽体外部还设置有若干个障碍物检测装置和若干个气体检测装置,所述帽体两侧还设置有可关闭的排气口。本发明的多功能安全帽,可以检测到的有毒有害气体或周边的障碍物,提示佩戴人员及时撤离危险环境,提高佩戴人员作业的安全性。
[发明]
一种机器人书写书法的方法及系统
申请号:
201910078996.0
状态:
审中-实审
申请日:
2019-01-28
申请人:
武汉科技大学
发明人:
闵华松、李杰、邹俊宇、余卓韵、涂一鹏、简傲、陈子明、沈欣、王龙
公开日:
2019-05-14
代理机构:
北京路浩知识产权代理有限公司11002
主分类号:
B25J9/16(2006.01)I
我要购买
摘要:
本发明实施例提供一种机器人书写书法的方法及系统,该方法包括:获取待书写字的汉字特征;根据所述汉字特征,建立所述待书写字的书法描述模型;根据所述书法描述模型和预设转换关系,获取所述待书写字对应的机器人控制参数;根据所述机器人控制参数,使得机器人进行书法书写。本发明实施例首先运用图像处理的方法获取原始的汉字图像,然后提取汉字的轮廓特征、骨架特征和笔画特征,建立汉字的书法描述模型,然后建立书法描述参数和机械臂控制参数的数学关系,计算出机械臂的控制参数,最终利用轨迹规划器控制机械臂写书法,并保证书写过程中位置的精确复现,以及速度、加速度的连续性,实现了机械臂沿任意轨迹的运动。
[发明]
一种能同时制备多孔金纳米颗粒与六边形金纳米片的方法
申请号:
201910081683.0
状态:
审中-实审
申请日:
2019-01-28
申请人:
武汉科技大学
发明人:
梁峰、吴慧颖、曾艳
公开日:
2019-04-26
代理机构:
湖北武汉永嘉专利代理有限公司42102
主分类号:
B22F9/24(2006.01)I
我要购买
摘要:
本发明提供一种能同时制备多孔金纳米颗粒与六边形金纳米片的方法,包括如下步骤:向超纯水中加入泊洛沙姆(F127),超声分散形成透明澄清的胶束溶液;向胶束溶液中加入氯金酸溶液,搅拌混合均匀,形成反应前驱体溶液,得到的固态颗粒即为多孔金纳米颗粒;用抗坏血酸溶液还原前驱体溶液,反应完全后离心分离,水洗,即得到六边形金纳米片。本发明具有操作简便,实验条件温和以及实验试剂环保等优点,制备的多孔金纳米颗粒具有大的比表面积,可用于催化以及药物运载领域,正六边形金纳米片对近红外光具有良好的吸收性能,可以广泛应用于纳米器件,生物医学,分子识别,光热治疗等领域。
[发明]
智能送餐服务机器人
申请号:
201910081675.6
状态:
审中-实审
申请日:
2019-01-28
申请人:
武汉科技大学
发明人:
王佳松、陈亚琦、程健峰、郭宇飞、李硕、周志鹏、席宝成、鲁文峰
公开日:
2019-06-07
代理机构:
武汉科皓知识产权代理事务所(特殊普通合伙)42222
主分类号:
B25J11/00(2006.01)I
我要购买
摘要:
本发明公开了一种智能送餐服务机器人,包括行走运动结构,箱体存储装置,机械手部分,智能服务部分。目前随着人口红利的减少,大多企业面临招工难的问题,而服务型机器人的快速增长,正是解决问题的方法之一。箱体存储板块,是利用电机驱动导柱,带动固定在伸缩板上的导套,将旋转运动转为直线运动,实现伸缩板收缩送餐动作;机械手分为手部、腕部、臂部与肩部。臂部与肩部,通过电机驱动齿轮机构,四杆机构来完成六自由度机械手递餐动作。行走驱动板块是利用寻迹小车完成自动寻迹,利用电机带动锥齿轮和一套行星系齿轮来完成机器人转身动作。智能服务板块能够实现查询点餐、更换餐具和催单买单等功能。
[发明]
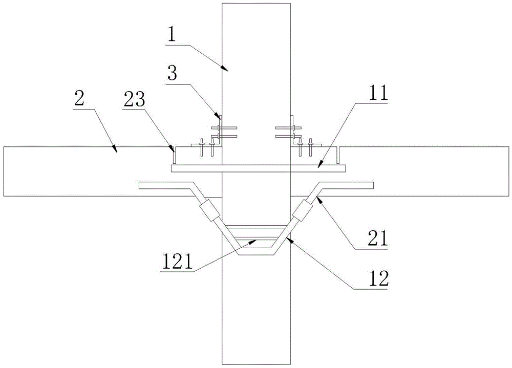
一种角度可调的斜面锚杆托盘
申请号:
201910075178.5
状态:
审中-实审
申请日:
2019-01-25
申请人:
武汉科技大学
发明人:
叶义成、陈虎、王其虎、姚囝、罗斌玉、李鹏程、刘冉、江慧敏
公开日:
2019-05-24
代理机构:
武汉科皓知识产权代理事务所(特殊普通合伙)42222
主分类号:
E21D21/00(2006.01)I
我要购买
摘要:
本发明涉及一种角度可调的斜面锚杆托盘。其技术方案是:斜面锚杆托盘由托盘顶板(1)、托盘架(2)和支撑架(3)组成。托盘架(2)上端与托盘顶板(1)一端通过螺栓连接,托盘顶板(1)另一端与支撑架(3)的上端通过螺栓连接,支撑架(3)的中部与托盘架(2)下端通过螺栓连接。托盘顶板(1)由矩形板(4)和沿长边平行的两根加强杆(5)组成;托盘架(2)由框架(8)和圆台(9)组成;支撑架(3)为两根平行设置的螺纹杆(14)穿过连接杆(11)、铰接套环(13)及铰接套环两侧的套环固定螺母(12)与固定杆件(16)上的沉孔螺旋固定,连接杆(11)和固定杆件(16)中部设置条形板(15)。本发明结构稳定、承载能力强和斜面角度范围大。
首页
上一页
121
122
123
124
125
126
127
128
129
130
下一页
尾页
当前共找到
8115
个专利记录
,当前显示页码
125/406