专利巴士 Logo
首页 专利查询 专利购买 专利转让 专利申请
15071489439
当前位置:专利巴士 专利查询
专利名称
当前共找到8115个专利记录,当前显示页码126/406
[发明]一种磷掺杂纳米硅锂离子电池负极材料及其制备方法 申请号:201910071365.6 状态:审中-实审
申请日:2019-01-25 申请人:武汉科技大学 发明人:周盈科、姜婷婷、汤方琪
公开日:2019-05-31 代理机构:武汉科皓知识产权代理事务所(特殊普通合伙)42222 主分类号:H01M4/36(2006.01)I
我要购买
摘要:本发明涉及一种磷掺杂纳米硅锂离子电池负极材料及其制备方法。其技术方案是:按液固比为3~6L/Kg,将单质硅纳米材料加入乙醇溶液中,搅拌,得到纳米硅乙醇浆料。按Si∶P的摩尔比为1∶0.0094~0.0360,将磷源加入纳米硅乙醇浆料中,搅拌,干燥,得到混合材料I;将混合材料I在保护气氛和750~1050℃保温4~10h,冷却,得到混合材料II。按液固比为40~60L/Kg,将混合材料II加入到浓度为5wt%的氢氟酸的溶液中,浸泡,洗涤,干燥,制得磷掺杂纳米硅锂离子电池负极材料。本发明工艺简单和操作方便,制备的磷掺杂纳米硅锂离子电池负极材料结构稳定和电化学循环性能优异。

[发明]一种纳米硅-石墨烯气凝胶多孔复合材料及其制备方法 申请号:201910071359.0 状态:审中-实审
申请日:2019-01-25 申请人:武汉科技大学 发明人:姜婷婷、汤方琪、周盈科
公开日:2019-06-18 代理机构:武汉科皓知识产权代理事务所(特殊普通合伙)42222 主分类号:H01M4/36(2006.01)I
我要购买
摘要:本发明涉及一种纳米硅‑石墨烯气凝胶多孔复合材料及其制备方法。其技术方案是:将溶剂加入到石墨烯氧化物溶液中,搅拌,得到浓度为2.0~6.0Kg/m3的溶液Ⅰ;再按纳米硅颗粒∶石墨烯氧化物的质量比为1∶0.05~0.20,向所述溶液Ⅰ中加入纳米硅颗粒,超声处理,得溶液Ⅱ。将溶液Ⅱ移到反应釜中,在170~190℃溶剂热反应6~10小时,洗涤,冷冻,于‑70~‑60℃条件下干燥24~48小时,然后置于管式炉中,在保护气氛和500~700℃保温2~4小时,随炉冷却,制得纳米硅‑石墨烯气凝胶多孔复合材料。本发明具有工艺简单、操作方便和易于工业化生产的特点,所制制品的孔隙结构稳定,循环性能优良和电化学充放电性能优异。

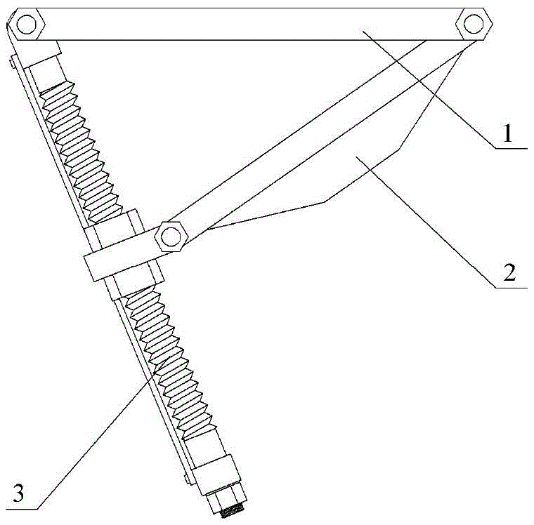
[实用新型]一种适应不同斜面的矿用锚杆托盘 申请号:201920132873.6 状态:有权
申请日:2019-01-25 申请人:武汉科技大学 发明人:叶义成、陈虎、王其虎、姚囝、罗斌玉、李鹏程、刘冉、江慧敏
公开日:2019-11-22 代理机构:42222武汉科皓知识产权代理事务所(特殊普通合伙) 主分类号:E21D21/00(20060101)
我要购买
摘要:本实用新型涉及一种适应不同斜面的矿用锚杆托盘,斜面锚杆托盘由托盘顶板、托盘架和支撑架组成,托盘架上端与托盘顶板一端螺栓连接,托盘顶板另一端与支撑架的上端螺栓连接,支撑架的中部与托盘架下端螺栓连接。托盘顶板由矩形板和沿长边平行的两根加强杆组成;托盘架由框架和圆台组成;支撑架为两根平行设置的螺纹杆穿过连接杆、铰接套环及铰接套环两侧的套环固定螺母与固定杆件上的沉孔螺纹固定,连接杆和固定杆件中部设置条形挡板。本实用新型结构稳定、承载能力强和斜面角度范围大。

[实用新型]一种便携式洗漱用具 申请号:201920122009.8 状态:有权
申请日:2019-01-24 申请人:武汉科技大学 发明人:刘文杰、欧奎、郑思远
公开日: 代理机构: 主分类号:A47K5/18(20060101)
我要购买
摘要:本实用新型涉及一种便携式洗漱用具,该便携式洗漱用具包括杯壳、转动配合在所述杯壳内的转动装置、配合在所述转动装置内的牙刷和套设在所述杯壳一端的盖子,所述转动装置垂直于转动方向的表面缠绕有折叠杯身,且所述折叠杯身的一端伸出所述杯壳的圆周表面,所述折叠杯身的一端与所述转动装置固定连接。使用时可以将折叠杯身从杯壳的侧面拉出,不用时利用转动装置将折叠杯身收入杯壳内。本实用新型的便携式洗漱用具体积小,集牙刷和杯子为一体,方便使用和收纳。

[实用新型]智能调温杯和感温变色双层杯 申请号:201920123747.4 状态:有权
申请日:2019-01-24 申请人:武汉科技大学 发明人:夏震源、易明阳
公开日:2019-11-19 代理机构:11002北京路浩知识产权代理有限公司 主分类号:A47G19/22(20060101)
我要购买
摘要:本实用新型实施例涉及日用品领域,提供一种智能调温杯和感温变色双层杯,该智能调温杯包括杯体,所述杯体包括:上杯体,下杯体,以及连接所述上杯体和所述下杯体且使二者之间呈连通或关闭状态的开关阀;所述上杯体具有进水口,所述下杯体的外侧壁上设有一层热敏颜料层。所述感温变色双层杯包括内杯体和套在所述内杯体外侧的外杯体;所述外杯体由透明材料制成,所述内杯体为所述的智能调温杯。本实用新型实施例提供的一种智能调温杯和感温变色双层杯,通过观察热敏颜料层的颜色变化,同时操作开关阀精确地控制上杯体的流入量,实现下杯体中饮用水温度的精确调控,温度调控范围广、操作方便快捷,能够实现热水的快速降温。

[实用新型]带吸盘的弹片式室内竖杆固定器 申请号:201920109781.6 状态:有权
申请日:2019-01-23 申请人:武汉科技大学 发明人:师梦媛、周家玉
公开日:2019-11-08 代理机构:武汉科皓知识产权代理事务所(特殊普通合伙)42222 主分类号:A47G29/087(2006.01)I
我要购买
摘要:本实用新型提供一种带吸盘的弹片式室内竖杆固定器,其特征在于:包括圆柱形主体,主体设有外壳,圆柱形主体的下面与后面分别设有底面吸盘和后面吸盘用以吸附于墙脚砖和地板砖来双重固定;圆柱形主体内部设有四个N形弹片和四个固定片;N形弹片的一端与圆柱形主体内壁连接,N形弹片的另一端与固定片连接;四个固定片沿圆柱形主体长轴布置,且四个固定片沿圆柱形主体的中心轴围成圆形插孔以实现圆形插孔的直径可伸缩调节。本固定器简洁美观,方便转移,节省空间,可置于墙角等不妨碍视线处。

[发明]基于图像结构相似性的迫零预编码器设计方法 申请号:201910061802.6 状态:审中-实审
申请日:2019-01-23 申请人:武汉科技大学 发明人:盛玉霞、周伦雄、柴利
公开日:2019-06-18 代理机构:武汉科皓知识产权代理事务所(特殊普通合伙)42222 主分类号:H04B7/0456(2017.01)I
我要购买
摘要:本发明涉及一种基于图像结构相似性的迫零预编码器设计方法。其技术方案是:已知稳定、离散信道的传递函数矩阵函数为H(z),分配给第j个用户的子信道为Hj,其中j=1,2,…,M’,M’表示用户的数量。基站要发送给第j个用户的发送图像sj在传递过程中受到功率谱已知的白噪声干扰。根据信道传递函数矩阵H(z)和迫零条件,计算用户接收图像与基站发送图像之间的结构相似度表达式,得到预编码器F(z)的参数化表达式;然后根据LMI线性不等式获得F(z)表达式中的最优参数,使得用户接收图像与基站发送图像之间的结构相似度达到最大。本发明具有方法简单、能适应低限制功率,以及最大限度保证用户接收图像结构信息的特点。

[发明]一种高强度高耐久性陶粒混凝土制品及其制备方法 申请号:201910061693.8 状态:审中-实审
申请日:2019-01-23 申请人:武汉科技大学 发明人:吕洪林、徐文康、朱红兵、李雅涵、吴胜
公开日:2019-04-19 代理机构:北京轻创知识产权代理有限公司11212 主分类号:C04B28/04(2006.01)I
我要购买
摘要:本发明公开了一种高强度高耐久性陶粒混凝土制品及其制备方法,所述高强度高耐久性陶粒混凝土制品包括以下重量比的组分:432~486份硅酸盐水泥、54~108份粉煤灰、0.1~64.8份硅灰、551~620陶粒、707~744份河砂、141~162份水、3.24~6.48份减水剂和0~1.2份聚丙烯纤维。本发明所公开的一种高强度高耐久性陶粒混凝土制品及其制备方法,具有提高混凝土抗裂、抗渗、抗冻和抗老化性能等优点。

[实用新型]一种桶装水无人换售装置 申请号:201920113331.4 状态:有权
申请日:2019-01-23 申请人:武汉科技大学 发明人:魏豪、章舒媛、陈国平
公开日:2019-09-13 代理机构:北京轻创知识产权代理有限公司11212 主分类号:G07F11/00(2006.01)I
我要购买
摘要:本实用新型涉及一种桶装水无人换售装置,其包括固定壁、移动壁和存储装置,所述移动壁相对所述固定壁移动,所述移动壁和所述固定壁合围成闭合或敞开的空间,所述存储装置位于所述固定壁和所述移动壁之间。本实用新型提供了一种线上线下结合的桶装水无人换售系统就是为了解决在日常生活中家用或办公场所的桶装水换售不便的痛点。

[发明]一种液晶仪表的指针设计方法 申请号:201910061582.7 状态:审中-实审
申请日:2019-01-23 申请人:武汉科技大学 发明人:陈典、郭健忠、毛永、汪子林、耿屹
公开日:2019-04-05 代理机构:北京轻创知识产权代理有限公司11212 主分类号:G06F17/50(2006.01)I
我要购买
摘要:本发明公开了一种液晶仪表的指针设计方法,将多组指针和刻度对应的图片资源导入至CGI studio系统中,并在CGI studio系统中对指针和刻度进行坐标设计,并将在CGI studio系统中生成的具有坐标、精度区间和指定地址的txt文件导入至Capricorn平台,并利用txt文件中的指针偏转算法替换掉Capricorn平台中的原有算法,然后从Capricorn平台导出控制指针的Bin文件,并将Bin文件导入至仪表中实现指针的强转。本发明极大的节省了所占用的仪表内存,极大的减小了指针的设计难度,且有效的提高了仪表的精度。

[发明]货物存取装置及其存取方法 申请号:201910059246.9 状态:审中-实审
申请日:2019-01-22 申请人:武汉科技大学 发明人:刘凯乐、王贤琳、陈道家、陈传雨、陈亚琦、成明
公开日:2019-04-12 代理机构:北京路浩知识产权代理有限公司11002 主分类号:B65G1/04(2006.01)I
我要购买
摘要:本发明实施例涉及货物输送领域,提供一种货物存取装置及其存取方法,其中货物存取装置包括:平移机构、升降机构和多个传送机构;平移机构设置在货架的一侧,升降机构的连接端与平移机构的动作端相连;升降机构的动作端连接有用于装载货物的载物部件;所述传送机构设置在所述货架的每个货窗内,用于将输送至货窗处的货物传送至货窗内或者将货窗内的货物传送至载物部件上。本发明实施例提供的货物存取装置通过平移机构、升降机构和传送机构的相互结合,实现货物的自动存取,避免了在搬运过程中的错误,减少了人工成本,提高了工作效率;且该货物存取装置结构简单、控制方式也相对简单,方便操作人员使用。

[发明]一种CRP和miR-365-3p联合检测胃癌的引物、试剂盒及检测方法 申请号:201910057855.0 状态:审中-实审
申请日:2019-01-22 申请人:武汉科技大学 发明人:廖兴华、黄凤、王君、张慧敏、项园、李佳蓬、杜庆、张同存
公开日:2019-04-16 代理机构:上海精晟知识产权代理有限公司31253 主分类号:C12Q1/6886(2018.01)I
我要购买
摘要:本发明属于生物和医学检测技术领域,具体涉及一种CRP和miR‑365‑3p联合检测胃癌的引物、试剂盒及检测方法,其中引物包括扩增miR‑365‑3p和内参基因U6的上、下游引物,所述扩增miR‑365‑3p的上、下游引物如SEQ ID NO.1和SEQ ID NO.2所示,所述扩增内参基因U6的上、下游引物如SEQ ID NO.3和SEQ ID NO.4所示。试剂盒包括扩增miR‑365‑3p的上、下游引物,扩增内参基因U6的上、下游引物和CRP检测试剂。本发明的技术方案通过CRP和miR‑365‑3p联合检测胃癌,其中miR‑365‑3p的检测通过设计特异性高的靶标引物、内参引物,再配置成使用方便、检测结果可靠的试剂盒,设计出科学合理的PCR反应体系。该方法克服了miR‑365作为单独的胃癌标志物时易产生假阳性的问题,同时比单独的蛋白标志物具有更高的灵敏度和更好的预测能力。

[发明]一种基于IDA-PBC算法的改进LCL型三相VSR的无源控制系统及方法 申请号:201910058467.4 状态:审中-实审
申请日:2019-01-22 申请人:武汉科技大学 发明人:严运兵、高维士、马强、龚边
公开日:2019-04-16 代理机构:武汉科皓知识产权代理事务所(特殊普通合伙)42222 主分类号:H02M7/219(2006.01)I
我要购买
摘要:本发明涉及一种基于IDA‑PBC算法的改进LCL型三相VSR的无源控制系统及方法,本发明方法运用LCL滤波器取代传统L滤波器,通过电压信号采集传感器采集电网侧三相电压,通过电流信号采集传感器采集整流器侧三相电流,根据坐标变换计算坐标轴电压以及电流;根据坐标轴电压以及电流构建具有端口受控的耗散哈密顿数学模型,并进行注入阻尼和加入改进参数;控制器模块根据d轴开关函数以及q轴开关函数通过变换得到电压控制信号,根据空间矢量脉宽调制算法对所述整流桥功率开关管进行控制,将所述交流电源模块输出的交流电整流为直流电。本发明能够使系统实现在较低开关频率下应速度快,有效降低谐波含量,同时较好的提高了系统的稳定性。

[实用新型]一种适合晾毛衣的多功能晾衣架 申请号:201920103945.4 状态:有权
申请日:2019-01-22 申请人:武汉科技大学 发明人:艾慧、聂宇锋、杨文升、姚润、胡吉、魏秋平
公开日: 代理机构: 主分类号:A47G25/48(20060101)
我要购买
摘要:本实用新型涉及一种适合晾毛衣的多功能晾衣架,包括:悬挂部,所述悬挂部上设置有调节块,所述调节块在所述悬挂部上的高度可调节;衣撑,所述衣撑设置于所述悬挂部上;晾晒架,所述调节块与所述晾晒架之间通过若干连接件连接,用于调节所述晾晒架的折叠或展开。根据本实用新型的既能保证毛衣在晾晒过程中不会变形,又能同时晾晒其他衣物,方便,实用。

[实用新型]一种天然气安全阀 申请号:201920103364.0 状态:有权
申请日:2019-01-22 申请人:武汉科技大学 发明人:李涵、杜威、查文静、胡泳波
公开日: 代理机构: 主分类号:F16K31/06(20060101)
我要购买
摘要:一种天然气安全阀,包括阀体、阀盖及密封导杆,密封导杆底部位于阀体内进气口处,顶部位于阀盖内部,阀体内设置电磁阀及电磁铁,电磁阀与电磁铁电连接;密封导杆顶部设置磁铁,电磁铁位于磁铁上方。电磁阀与处理电路电连接,处理电路包括流量传感器、红外传感器装置、信号处理模块、稳压二极管及电磁继电器,电磁继电器与电磁阀电连接。不使用天然气灶具时,没有火焰及天然气流动,信号处理模块输出低电压,稳压二极管两端不导通,电路断开,电磁继电器、电磁阀及电磁铁均不通电,电磁铁没有磁性,不能吸引磁铁,磁铁及密封导杆将朝向远离电磁铁的方向运动,密封导杆将阀体进气口处密封,自动关闭天然气阀体,确保用户人身安全。

[发明]一种(Zr,Hf)B-SiC陶瓷改性C/C复合材料及其制备方法 申请号:201910051974.5 状态:审中-实审
申请日:2019-01-21 申请人:武汉科技大学 发明人:董志军、陈枫、李轩科、袁观明、丛野、张江、朱辉
公开日:2019-05-03 代理机构:武汉科皓知识产权代理事务所(特殊普通合伙)42222 主分类号:C04B35/83(2006.01)I
我要购买
摘要:本发明公开了一种(Zr,Hf)B‑SiC陶瓷改性C/C复合材料及其制备方法。其技术方案是:先将锆粉和铪粉通过高能球磨制得锆铪合金,再将高温处理的C/C复合材料和锆铪合金为原料通过反应熔体浸渗法制得锆铪碳化物改性C/C复合材料,然后将含硼和硅的粉料置于炭化炉,将锆铪碳化物改性C/C复合材料埋入含硼和硅的混合粉料中,于1800~2100℃热处理1~4h,得到(Zr,Hf)B‑SiC陶瓷改性C/C复合材料。本发明制备的(Zr,Hf)B‑SiC陶瓷改性C/C复合材料陶瓷含量高,炭基体与陶瓷相之间结合良好,且(Zr,Hf)B和SiC的氧化产物B2O3、SiO2、ZrO2和HfO2具有较好的化学相容性和协同抗氧化性能,使(Zr,Hf)B‑SiC陶瓷改性C/C复合材料具有优异的抗烧蚀性能。

[发明]一种SiBCN陶瓷及其制备方法 申请号:201910051975.X 状态:审中-实审
申请日:2019-01-21 申请人:武汉科技大学 发明人:董志军、赵红燕、李轩科、袁观明、丛野、张江、李艳军
公开日:2019-05-03 代理机构:武汉科皓知识产权代理事务所(特殊普通合伙)42222 主分类号:C04B35/58(2006.01)I
我要购买
摘要:本发明涉及一种SiBCN陶瓷及其制备方法。其技术方案是:在搅拌条件下,先向Schlenk反应器中加入溶剂,再向所述溶剂中依次加入乙烯基氯硅烷、硼烷和六甲基二硅氮烷,得到混合溶液。将所述混合溶液升温至120~140℃,蒸馏,继续升温至140~240℃,保温,得到SiBCN陶瓷前驱体。将SiBCN陶瓷前驱体置于石墨坩埚内,在氩气气氛下,以5~15℃/min的速率升温至1200~2000℃,保温1~2h,自然冷却,得到SiBCN陶瓷。本发明具有操作简单、步骤少、周期短和能耗低的特点,所制备的SiBCN陶瓷具有良好的高温性能。

[实用新型]一种强行制粒偏析布料装置 申请号:201920094497.6 状态:有权
申请日:2019-01-21 申请人:武汉科技大学 发明人:钱利军、周仙霖、蒋炘鑫、余瑶、潘积林、田磊
公开日:2019-11-15 代理机构:11212北京轻创知识产权代理有限公司 主分类号:C22B1/16(20060101)
我要购买
摘要:本实用新型涉及一种强行制粒偏析布料装置,包括运输装置、上部多辊筛布料器、下部多辊筛布料器、集料斗、制粒机和电磁偏析布料器,所述运输装置用于将混合料仓的物料运输至所述上部多辊筛布料器,所述集料斗设置在所述上部多辊筛布料器的下方用于承接小颗粒物料,所述制粒机设置于所述集料斗下方,用于承接所述集料斗收集的小颗粒物料并制成大颗粒物料,所述电磁偏析布料器用于分别承接所述上部多辊筛布料器和所述制粒机的出料并运输至所述下部多辊筛布料器,所述下部多辊筛布料器延伸至靠近所述烧结台车。本实用新型要解决的技术问题是使烧结混合料沿料层垂直方向粒度的合理偏析,同时使烧结混合料和重新制粒的物料一起偏析布料。

[实用新型]一种实验室用电路板焊接夹具 申请号:201920093851.3 状态:有权
申请日:2019-01-21 申请人:武汉科技大学 发明人:胡高全、郭子豪、黄锡海、刘奔、杨敏
公开日: 代理机构: 主分类号:B23K37/04(20060101)
我要购买
摘要:一种实验室用电路板焊接夹具,包括底座、设置在所述底座上的固定夹块、移动夹块和使所述移动夹块移动的驱动装置;所述驱动装置安装在所述底座上,所述移动夹块与所述驱动装置固定连接;所述固定夹块顶部靠近边缘的与所述移动夹块相对应的一侧下沉形成放置电路板的焊接平台,所述焊接平台下沉部位的侧面设置有能夹持住电路板一端的第一卡槽;所述移动夹块设置有与所述第一卡槽相平行的第二卡槽;所述固定夹块和所述移动夹块形成一对夹具,通过所述驱动装置移动所述移动夹块的位置,使得所述夹具能夹住不同大小的电路板。此电路板焊接夹具结构简单、实用,解决了教学实验室手持电路板操作精度差的问题。

[实用新型]一种运输叉车用固定装置 申请号:201920094492.3 状态:有权
申请日:2019-01-21 申请人:武汉科技大学 发明人:张岂玮、刘志雄、颜家岚
公开日: 代理机构: 主分类号:B66F9/12(20060101)
我要购买
摘要:本实用新型公开了一种运输叉车用固定装置,包括:安装架,安装架安装于叉车的货叉上;两个呈纵向间隔设置的第一叉架,第一叉架的下端垂直安装于安装架上,且两个第一叉架间设有下压板,下压板的左端连接于两个第一叉架上并可沿第一叉架的高度方向上、下往复滑动;以及两个呈水平间隔设置的第二叉架,第二叉架的左端连接于安装架上,且两个第二叉架间设有活动架,活动架可沿第二叉架的长度方向左、右往复滑动。本实用新型提供的运输叉车用固定装置中,通过下压板以实现对运输货物的下压固定,以防止其运输过程中掉落。
当前共找到8115个专利记录,当前显示页码126/406