首页
专利查询
专利购买
专利转让
专利申请
15071489439
当前位置:
专利巴士
专利查询
专利名称
查询
高级查询
当前共找到
8115
个专利记录
,当前显示页码
130/406
专利名称
申请号
申请人
发明人
专利代办机构
[发明]
链条盖零散配件检测装配一体方法及装置
申请号:
201811599293.4
状态:
审中-实审
申请日:
2018-12-26
申请人:
武汉科技大学
发明人:
宋硕、吴广川、李春丽
公开日:
2019-04-16
代理机构:
武汉泰山北斗专利代理事务所(特殊普通合伙)42250
主分类号:
B23P19/00(2006.01)I
我要购买
摘要:
本发明涉及链条盖零散配件检测装配一体方法及装置,控制装配机构对待检测链条盖进行装配,得到待检测链条盖;驱动检测夹爪以夹紧待检测链条盖;判断待检测链条盖上装配的零散配件是否正确,若正确,则判断待检测链条盖上的气体管路是否合格,得到检测结果;本发明通过装配机构对待检测链条盖进行装配,通过检测夹爪夹紧待检测链条盖以固定产品,通过防错传感器来判断待检测链条盖上装配的零散配件是否正确,从而解决了相近零件装配错误问题,通过气压检测装置对待检测链条盖进行堵塞检测,从而实现了利用一套逻辑程序以及机械部件来实现装配顺序防错、相近零件防错、测堵问题等问题,减少了不合格品制造风险以及流出风险,节约了成本和时间。
[发明]
链条盖零散配件装配检测方法及装置
申请号:
201811599369.3
状态:
审中-实审
申请日:
2018-12-26
申请人:
武汉科技大学
发明人:
宋硕、吴广川、何晓霞
公开日:
2019-04-16
代理机构:
武汉泰山北斗专利代理事务所(特殊普通合伙)42250
主分类号:
G01D21/02(2006.01)I
我要购买
摘要:
本发明涉及链条盖零散配件装配检测方法及装置,驱动装配夹爪以夹紧待装配链条盖;判断当前取出的零散配件是否正确,若正确,则驱动装配工具以装配零散配件,得到待检测链条盖;控制检测机构对待检测链条盖进行防错检测及堵塞检测。本发明通过装配夹爪夹紧待装配链条盖以固定产品,通过取料检测传感器检测是否有取料动作来解决了链条盖装配时顺序装配错误问题,通过装配工具来完成对零散配件的自动化装配,通过检测机构对待检测链条盖进行防错检测及堵塞检测,从而实现了利用一套逻辑程序以及机械部件来实现装配顺序防错、相近零件防错、测堵问题等问题,减少了不合格品制造风险以及流出风险,节约了成本和时间。
[发明]
无避让式立体车库
申请号:
201811600298.4
状态:
审中-实审
申请日:
2018-12-26
申请人:
武汉科技大学
发明人:
李峻、云俊童、刘奇、王彤、王文韬、刘远柱
公开日:
2019-04-09
代理机构:
北京路浩知识产权代理有限公司11002
主分类号:
E04H6/18(2006.01)I
我要购买
摘要:
本发明涉及汽车工程领域,公开了一种无避让式立体车库,该立体车库包括:固定车位和移动车位;所述固定车位包括:两条相对设置在地上的滑轨;所述移动车位包括:停车架,驱使所述停车架在所述滑轨上配合滑动的移动机构,悬置在所述停车架内的车载板,设置在所述停车架的顶部且驱使所述车载板升降的升降机构。本发明提供的一种无避让式立体车库,通过在固定车位的上方设置可收拢、展开的移动车位,充分地利用了固定车位上方的空间,在不占用地下空间的同时增加了停靠车位的数量,能够较大程度的缓解城市停车难问题,减少基础建设占地面积,资金投入低,操作简单。
[发明]
一种多功能机床
申请号:
201811605974.7
状态:
审中-实审
申请日:
2018-12-26
申请人:
武汉科技大学
发明人:
谭俊杰、李峻、鲁顺、张晨阳
公开日:
2019-04-02
代理机构:
北京轻创知识产权代理有限公司11212
主分类号:
B23P23/04(2006.01)I
我要购买
摘要:
本发明公开了一种多功能机床,包括底座、旋转台、支撑件、伸缩件和加工部,所述旋转台转动安装在所述底座的上端,其在所述底座上可在水平面内转动,所述伸缩件通过与所述底座连接固定的支撑件悬设在所述底座的上方,并位于所述旋转台的上方,所述伸缩件的伸缩端朝下,所述加工部安装在所述伸缩件伸缩端的端部,待加工物件置于所述旋转台上,所述伸缩件伸长以驱动所述加工部对所述旋转台上的物件进行加工,或收缩以驱动所述加工部复位。其结构简单,将物件放置在所述旋转台上,由伸缩件伸长以驱动所述加工部向下移动至对物件进行加工,其工作效率高。
[实用新型]
一种多功能机床
申请号:
201822199692.3
状态:
有权
申请日:
2018-12-26
申请人:
武汉科技大学
发明人:
谭俊杰、李峻、鲁顺、张晨阳
公开日:
代理机构:
主分类号:
B23P23/04(20060101)
我要购买
摘要:
本实用新型公开了一种多功能机床,包括底座、旋转台、支撑件、伸缩件和加工部,所述旋转台转动安装在所述底座的上端,其在所述底座上可在水平面内转动,所述伸缩件通过与所述底座连接固定的支撑件悬设在所述底座的上方,并位于所述旋转台的上方,所述伸缩件的伸缩端朝下,所述加工部安装在所述伸缩件伸缩端的端部,待加工物件置于所述旋转台上,所述伸缩件伸长以驱动所述加工部对所述旋转台上的物件进行加工,或收缩以驱动所述加工部复位。其结构简单,将物件放置在所述旋转台上,由伸缩件伸长以驱动所述加工部向下移动至对物件进行加工,其工作效率高。
[实用新型]
一种多功能桶
申请号:
201822208949.7
状态:
有权
申请日:
2018-12-26
申请人:
武汉科技大学
发明人:
何嘉
公开日:
2019-09-13
代理机构:
北京轻创知识产权代理有限公司11212
主分类号:
B65D25/04(2006.01)I
我要购买
摘要:
本实用新型公开了一种多功能桶,包括圆形的桶体、布罩和多个提手支架,桶体的上端开口处的侧壁外翻边形成一圈桶沿,桶沿上端的前后相对设有两块连接座,布罩呈半椭球面形,其开口朝下罩设在所述桶体的上端,多个提手支架均为开口朝向下的半圆形支架,每个提手支架的两端分别与两个连接座转动连接,每个提手支架的上端均与布罩的内球面连接固定,且多个提手支架与布罩的连接处沿左右方向间隔分布,在外力作用下,多个提手支架可收拢并成一提手。本实用新型结构简单多个提手支架和布罩相互配合,打开时即可形成一个罩设在桶体上的布罩,将桶体罩住,闭合时即可形成一个完整的提手,操作十分简单,且提手和桶盖为一体,十分方便。
[实用新型]
一种具有龋齿检测功能的牙刷
申请号:
201822211351.3
状态:
有权
申请日:
2018-12-26
申请人:
武汉科技大学
发明人:
邵冉起、凌晨、龙敏
公开日:
2019-09-06
代理机构:
北京轻创知识产权代理有限公司11212
主分类号:
A46B15/00(2006.01)I
我要购买
摘要:
本实用新型公开了一种具有龋齿检测功能的牙刷,包括刷杆,所述刷杆上端的一侧设有刷毛,所述刷杆内部设有空腔,所述空腔内设有供药组件,所述供药组件具有出药口,所述刷杆内设有试剂通道,所述试剂通道的一端与穿出所述刷杆与外界连通,且该端位于所述刷杆上端对应刷毛的位置,所述试剂通道的另一端与所述出药口连通,所述供药组件用以通过所述试剂通道向人口腔内输送龋齿检测试剂。本实用新型能结构简单,能快速高效的让人们及时了解自己牙齿健康状况,具有广阔的市场价值,值得推广。
[发明]
一种利用机器视觉实现白酒微孔膜滤片质量检测的仪器
申请号:
201811603295.6
状态:
审中-实审
申请日:
2018-12-26
申请人:
武汉科技大学
发明人:
王瑞平、曾良才、伍世虔、曹伟、吴家鑫
公开日:
2019-04-12
代理机构:
武汉科皓知识产权代理事务所(特殊普通合伙)42222
主分类号:
G01N21/88(2006.01)I
我要购买
摘要:
本发明公开了一种利用机器视觉实现白酒微孔膜滤片质量检测的仪器,包括外框架总成、上端盖总成、老化检测仪、样品架总成;外框架总成及样品架总成中的前端板可形成封闭空间,对整个装置器支撑、安装及保护作用;上端盖总成由上端封盖、连接座、上端板、相机连接件、工业相机及镜头以及平行光源组成,获取白酒微孔膜滤片的图像;老化测试仪通过在白酒微孔膜滤片上划痕来测试其是否老化;样品架总成用于放置并固定待检测的白酒微孔膜滤片,同时要使得白酒微孔膜滤片能够旋转,从而配合老化测试仪使用。本发明可用于白酒微孔膜滤片外观及老化检测,老化测试可以量化,另外利用机器视觉技术进行测试能够观察到很多人眼无法发现的微小缺陷。
[发明]
一种适用于超低温高锰钢的高效埋弧焊金属粉芯药芯焊丝
申请号:
201811602479.0
状态:
审中-实审
申请日:
2018-12-26
申请人:
南京钢铁股份有限公司、武汉科技大学
发明人:
汪晶洁、王红鸿、李东晖、罗强、李松、陈亚魁、吴君明、田浩、王晓斌
公开日:
2019-03-29
代理机构:
南京利丰知识产权代理事务所(特殊普通合伙)32256
主分类号:
B23K35/30(2006.01)I
我要购买
摘要:
本发明公开了一种用于超低温高锰钢的高效埋弧焊金属粉芯药芯焊丝,该高效埋弧焊金属粉芯药芯焊丝由钢带和金属粉药芯组成,其钢带的化学组分是:C为0.20~0.23wt%,Si为0.03~0.05wt%,Mn为6~8wt%,P≤0.002wt%,S≤0.001wt%,余量为Fe和不可避免的杂质;其金属粉芯的化学组分是:电解锰为18~20wt%,锰硅合金为3~4wt%,镍粉为8~10wt%,低碳铬铁为6~8wt%,钨粉为4~6wt%,钾长石为2.0~3.0%wt%,余量为铁粉,组分总含量为100%,本发明能满足对所焊接的LNG贮罐的强度和超低温韧性的技术要求。
[实用新型]
一种水杯
申请号:
201822200970.2
状态:
有权
申请日:
2018-12-26
申请人:
武汉科技大学
发明人:
姚灿、柏入宁、董子明
公开日:
2019-10-22
代理机构:
北京路浩知识产权代理有限公司11002
主分类号:
A47G19/22(2006.01)I
我要购买
摘要:
本实用新型涉及生活用品领域,公开了一种水杯,包括:水杯本体;在水杯本体的内部设置热水腔和冷水腔,热水腔和冷水腔间隔设置在水杯本体的底部两侧,热水腔的侧壁底部设置热水出口,冷水腔的侧壁底部设置冷水出口,热水出口和冷水出口相对设置,在热水腔和冷水腔之间转动设置圆管,圆管的侧壁底部设置有与热水出口和冷水出口位于同一高度的进水口。本实用新型提供的一种水杯,提出通过冷热水的混合来调节水温,通过转动圆管即可实现冷热水的混合,可根据个人需求来灵活调节冷热水量的比例,能够在短时间内获得合适的水温,方便快速饮用,节约时间;且可获得各种不同温度的水,大大提高该水杯调节水温的灵活性,增强适用性。
[实用新型]
折叠伞
申请号:
201822200092.4
状态:
有权
申请日:
2018-12-26
申请人:
武汉科技大学
发明人:
江潇航
公开日:
2019-10-22
代理机构:
北京路浩知识产权代理有限公司11002
主分类号:
A45B25/18(2006.01)I
我要购买
摘要:
本实用新型涉及伞具技术领域,公开了一种折叠伞,包括伞杆、多个沿伞杆的周向设置的伞架以及连接多个伞架的伞面;伞架包括伞肋、伞骨、收纳壳以及滑动设置于收纳壳内的滑杆,伞肋的一端转动连接伞骨的中部,伞肋的另一端滑动套设于伞杆,以开合伞架;伞骨的一端连接伞杆的顶端,另一端连接收纳壳;滑杆朝向远离伞杆的顶端的方向滑动,以延伸伞架的长度。利用滑杆伸出收纳壳并朝向远离伞杆的顶端的方向滑动,来延伸伞架的长度。当需要增大伞的遮蔽面积时,将滑杆向外滑动延伸即可;当使用完毕时,将滑杆向收纳壳内推动即可。该折叠伞结构简单,使用方便,便于收纳以及随身携带。
[发明]
一种SSM框架下的老年病监测电子登录系统
申请号:
201811587934.4
状态:
审中-实审
申请日:
2018-12-25
申请人:
武汉科技大学
发明人:
曾燕、高峰、刘丹、顾进广、程桂荣、许浪
公开日:
2019-04-19
代理机构:
北京和信华成知识产权代理事务所(普通合伙)11390
主分类号:
G16H10/20(2018.01)I
我要购买
摘要:
本发明公开了一种SSM框架下的老年病监测电子登录系统,包括中央处理系统、服务终端、打印模块和显示模块;其中,打印模块通讯连接打印设备,显示模块通讯连接可输入信息的显示设备;中央处理系统包括信息传递模块、登录模块、呼叫服务模块、信息录入模块、数据存储模块、数据分析模块、健康评估模块和疾病预测模块;中央处理系统与打印模块通讯连接,信息传递模块与打印模块通讯连接;中央处理系统与显示模块通讯连接;信息传递模块与显示模块通讯连接;登录模块与信息传递模块信号连接;中央处理系统还包括登录信息验证模块。本发明无需手写,信息录入方便,老年人可以呼叫相关人员进行协助,满足使用市场。
[实用新型]
一种杯子清洗器
申请号:
201822197885.5
状态:
有权
申请日:
2018-12-25
申请人:
武汉科技大学
发明人:
李瑞洁、熊豪、余佳乐、滕树全、白日
公开日:
代理机构:
主分类号:
A47L17/00(20060101)
我要购买
摘要:
本实用新型公开了一种杯子清洗器。本实用新型的一种杯子清洗器,包括刷杆和至少两个刷体,所述刷杆竖直设置,至少两个刷体间隔的设置在刷杆下端的四周,至少两个刷体与刷杆的下端之间通过张缩机构与连接,张缩机构用于调节刷体与刷杆之间的间距。本实用新型的一种杯子清洗器在清洗杯子时,将刷杆的下端放置在杯子中,然后通过根据不同的杯子的直径来调节张缩机构,使得刷体与被清洗的杯子的内壁相贴,以使得在转动刷杆时,刷体能够更好的清洁杯子。
[实用新型]
一种餐厅送餐无人机
申请号:
201822197624.3
状态:
有权
申请日:
2018-12-25
申请人:
武汉科技大学
发明人:
梁少强、周然、严晨曦、张旺、康越龙
公开日:
2019-09-27
代理机构:
11212北京轻创知识产权代理有限公司
主分类号:
B64C39/02(20060101)
我要购买
摘要:
本实用新型公开了一种餐厅送餐无人机。本实用新型的一种餐厅送餐无人机,无人机飞行装置和承餐装置,承餐装置设置在无人机飞行装置的下方,承餐装置包括托盘和支撑架,托盘通过支撑架与无人机飞行装置的下端连接固定,托盘沿其四周边缘设有围栏,围栏的前侧设有开口,托盘上滑动的设有可由此开口滑进或滑出的移动餐板。本实用新型的一种餐厅送餐无人机安全可靠,送餐方式为飞行,能够通过支撑架与无人机飞行装置的下端连接固定的托盘实现在飞行过程中携带待配送的食物给顾客,提高了送餐人员的送餐效率,防止由于递送时间过长使食物冷掉;同时能够保证食物在运载过程中的稳定性。机器人送餐新奇刺激,吸引大人小孩就餐。
[发明]
一种电梯刹车装置
申请号:
201811591125.0
状态:
审中-实审
申请日:
2018-12-25
申请人:
武汉科技大学
发明人:
黄海祺、谢良喜、罗刚、吴攀峰、胡腾
公开日:
2019-04-19
代理机构:
武汉科皓知识产权代理事务所(特殊普通合伙)42222
主分类号:
B66B5/02(2006.01)I
我要购买
摘要:
一种电梯刹车装置,电梯轿厢顶部两侧对称设置所述电梯刹车装置,电梯刹车装置包括底板、套筒、弹簧、刹车块及刹车检测装置,刹车检测装置包括电池、电机、连接块、启动销、导向座、控制面板及加速度传感器;套筒开设第一通孔,刹车块设置第二通孔;电机、连接块及启动销依次连接;刹车块能够安装于套筒中空腔体内,刹车块第三端部开设圆柱形空腔,弹簧第一端部安装于底板内,第二端部安装于刹车块圆柱形空腔内;启动销能够依次穿过第一通孔及第二通孔,并进入刹车块圆柱形空腔内;当启动销竖直向上运动直至与弹簧第二端部分离后,弹簧从压缩状态变为自然状态,在水平方向对刹车块产生推力,使刹车块从套筒弹出至刹车槽内部,使电梯轿厢制动。
[发明]
一种全钒氧化还原液流电池电解液的制备方法
申请号:
201811595006.2
状态:
审中-实审
申请日:
2018-12-25
申请人:
武汉科技大学、国网电力科学研究院武汉南瑞有限责任公司
发明人:
张一敏、杨亚东、刘涛、李爱魁、黄晶、丁木清
公开日:
2019-05-10
代理机构:
武汉科皓知识产权代理事务所(特殊普通合伙)42222
主分类号:
H01M8/18(2006.01)I
我要购买
摘要:
本发明涉及一种全钒氧化还原液流电池电解液的制备方法。其技术方案是:将五氧化二钒和去离子水按固液比为(100~400)∶1g/L混合,搅拌,得到混合浆体。按硫酸∶五氧化二钒的摩尔比为(2~8)∶1,将硫酸加入混合浆体中,搅拌,得到活化浆体。按碳质还原剂∶五氧化二钒的摩尔比为(0.5~3.0)∶1,将碳质还原剂加入所述活化浆体内,于反应釜内在100~260℃搅拌1~4h,过滤,得到电解液粗液。将电解液粗液置于电解槽负极,电解槽正极加入与电解液粗液酸度相同的硫酸溶液,将电解液粗液在电流为1~5A条件下恒流电解至价态为3.5价,制得全钒氧化还原液流电池电解液。本发明流程简单、效率高、成本低和无污染;所制备的电解液无杂质残留。
[实用新型]
一种新型可降温手机壳
申请号:
201822186309.0
状态:
有权
申请日:
2018-12-25
申请人:
武汉科技大学
发明人:
张志豪、王海均、吕嘉辉、汪俊杰、赵晶
公开日:
2019-07-09
代理机构:
武汉科皓知识产权代理事务所(特殊普通合伙)42222
主分类号:
H04M1/18(2006.01)I
我要购买
摘要:
本实用新型提供一种新型可降温手机壳,包括壳体,外壳层、吸水材料;所述壳体的外表面设有带有开孔的外壳层,所述外壳层与壳体的外表面之间形成空腔;所述吸水材料置于空腔内。本实用新型能利用水分的蒸发带走壳体上吸收的热量,降低手机的温度,降温效果明显,结构简单、使用方便、制造成本低廉。
[发明]
一种用于钒电池的电解液及其制备方法
申请号:
201811594972.2
状态:
审中-实审
申请日:
2018-12-25
申请人:
武汉科技大学、国网电力科学研究院武汉南瑞有限责任公司
发明人:
张一敏、杨亚东、刘涛、李爱魁、黄晶、丁木清
公开日:
2019-05-10
代理机构:
武汉科皓知识产权代理事务所(特殊普通合伙)42222
主分类号:
H01M8/18(2006.01)I
我要购买
摘要:
本发明涉及一种用于钒电池的电解液及其制备方法。其技术方案是:将五氧化二钒与去离子水按固液比为(225~1125)∶1g/L混合,得到混合浆体;按支持电解质∶五氧化二钒的摩尔比为(3~7)∶1,向混合浆体加入支持电解质,搅拌,得到活化浆体;按还原剂∶五氧化二钒的摩尔比为(0.9~1.2)∶1,将还原剂加入活化浆体内,搅拌,过滤,得到电解液粗液;将电解液粗液置于电解槽负极,将与电解液粗液酸度相同的硫酸溶液加入电解槽正极;然后将电解液粗液在电流为1~5A条件下恒流电解至电解液价态为3.5,即得用于钒电池的电解液。本发明的生产效率高和能耗低,所制备的用于钒电池的电解液在宽温度区间内具有良好的稳定性和优异的电化学性能。
[发明]
基于发廊污水源与空气源热泵三联供复合系统
申请号:
201811582887.4
状态:
审中-实审
申请日:
2018-12-24
申请人:
武汉科技大学
发明人:
郝禹、吴松林、刘秋新
公开日:
2019-05-03
代理机构:
武汉科皓知识产权代理事务所(特殊普通合伙)42222
主分类号:
F25B13/00(2006.01)I
我要购买
摘要:
本发明公开了一种基于发廊污水源与空气源热泵三联供复合系统,包括压缩机,两个套管式换热器、电动四通阀、电动三通阀,风冷换热器、调节阀、循环水泵和两个保温水箱;本发明综合运用了压缩机、调节阀、电动四通阀、电动三通阀、套管换热器、风冷换热器、干燥器、汽液分离器、膨胀阀、水箱、循环泵、管道系统、控制系统的共同作用合理调节制冷剂的流量和流向。利用发廊的污废水低温热源,对空气源热泵起到补充作用,空气源与污水源热泵的联合运行,能更好的制冷、制热和制生活热水,寒冷季节能更有效辅助除霜。本发明具有更好的运行效率,当水箱温度达到设定的温度时系统自动停止运行,大大减少了设备运行时间,节能效果明显。
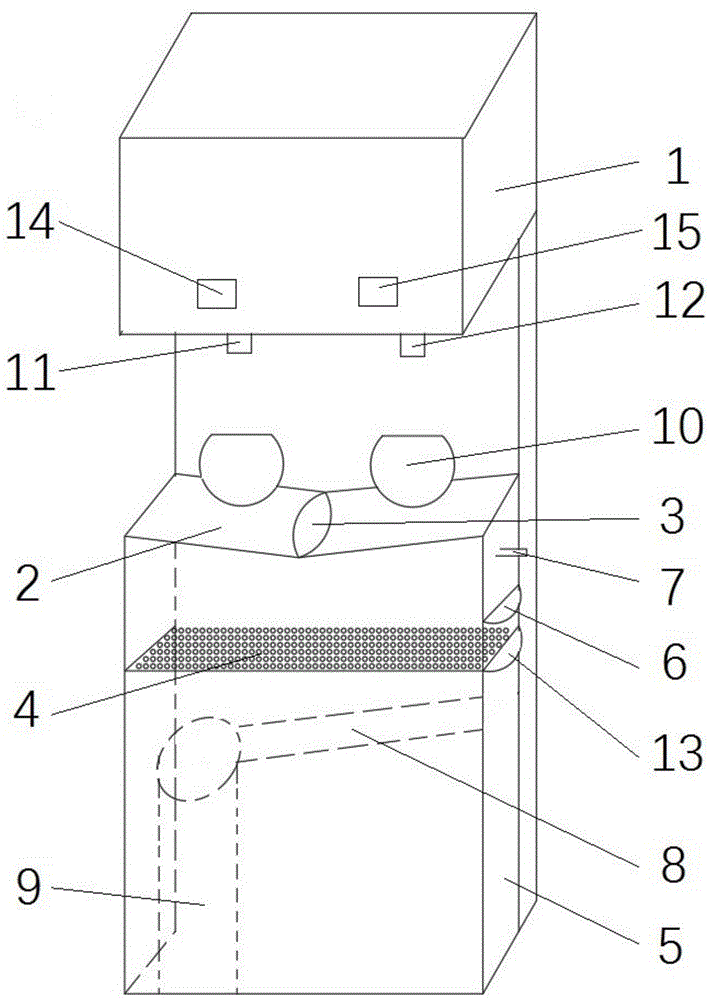
[实用新型]
立式直饮水机
申请号:
201822182779.X
状态:
有权
申请日:
2018-12-24
申请人:
武汉科技大学
发明人:
高成阳、李晨、李丽
公开日:
2019-11-19
代理机构:
11002北京路浩知识产权代理有限公司
主分类号:
A47J31/60(20060101)
我要购买
摘要:
本实用新型涉及饮水设备领域,公开了一种立式直饮水机,包括机体和安装于机体下方的滤水箱。机体设有出水口,滤水箱顶部设有汇流板,汇流板位于出水口下方;汇流板板面倾斜设置,汇流板的板面最低处设有汇流口;滤水箱内可拆卸地安装有滤网,滤网位于汇流口下方。本实用新型提供的立式直饮水机,在出水口下方设置汇流板,将出水口洒落的水和混有残渣废叶的剩水通过设置于汇流板低点的汇流口进入滤水箱内,残渣废叶被滤网阻挡,滤网可拆卸安装于滤水箱内,可根据使用情况定期进行拆卸清理,极大降低了引水设备的运行维护成本,结构简单、便于维护,具有极高的应用推广价值。
首页
上一页
121
122
123
124
125
126
127
128
129
130
下一页
尾页
当前共找到
8115
个专利记录
,当前显示页码
130/406