首页
专利查询
专利购买
专利转让
专利申请
15071489439
当前位置:
专利巴士
专利查询
专利名称
查询
高级查询
当前共找到
8115
个专利记录
,当前显示页码
160/406
专利名称
申请号
申请人
发明人
专利代办机构
[发明]
一种复杂几何结构角系数计算方法
申请号:
201810592274.2
状态:
审中-实审
申请日:
2018-06-11
申请人:
武汉科技大学
发明人:
贺铸、贾舒渊、潘丽萍、谭方关、廖明建、李亚伟
公开日:
2018-11-23
代理机构:
武汉华旭知识产权事务所42214
主分类号:
G06F17/50(2006.01)I
我要购买
摘要:
本发明了一种复杂几何结构角系数计算方法,首先对辐射空间结构进行离散化处理,再通过有限差分法计算出辐射换热量,最后通过辐射换热量进行角系数的确定,与传统的直接通过有限差分法、有限元法、蒙特卡洛法、矢量法等方法对复杂结构的角系数进行计算方法相比,极大简化了处理过程,有效避免了编程计算积分的过程,对整个角系数计算过程的效率和可靠性有显著的提高。
[发明]
一种具有多维增强的低碳铝碳质耐火材料及其制备方法
申请号:
201810592472.9
状态:
审中-实审
申请日:
2018-06-11
申请人:
武汉科技大学
发明人:
朱伯铨、殷超凡、李享成、陈平安
公开日:
2018-11-02
代理机构:
武汉科皓知识产权代理事务所(特殊普通合伙)42222
主分类号:
C04B35/66(2006.01)I
我要购买
摘要:
本发明涉及一种具有多维增强的低碳铝碳质耐火材料及其制备方法。所采用的技术方案是:按照单质硅粉∶铝粉∶活性氧化铝微粉的质量比为1∶(0.1~2)∶(1~5),将所述单质硅粉、所述铝粉和所述活性氧化铝微粉放入球磨机中,湿法球磨1~5h,烘干,制得预混料。再将5~35wt%的预混料、55~85wt%的刚玉粉料、0.5~4.5wt%的铝硅合金粉、1~5wt%的碳素和3~5wt%的结合剂于混碾机中混碾,压制成型,在80~240℃条件下干燥,固化。然后在0.1~2MPa的氮气气氛中,于1100~1700℃条件下热处理1~5h,制得具有多维增强的低碳铝碳质耐火材料。本发明具有成本低和工艺简单的特点,所制备的具有多维增强的低碳铝碳质耐火材料高温强度和热震稳定性优异。
[发明]
一种公路漂移板
申请号:
201810588776.8
状态:
审中-实审
申请日:
2018-06-08
申请人:
武汉科技大学
发明人:
王兴东、李天航、郭东生、王静仪、董家顺、胡安、李双、柳子豪
公开日:
2018-11-06
代理机构:
武汉科皓知识产权代理事务所(特殊普通合伙)42222
主分类号:
A63C17/01(2006.01)I
我要购买
摘要:
本发明涉及一种公路漂移板。其技术方案是:支架2的前部和后部对应地装有前轮组5和后轮组4,踏板1和减振片3通过螺栓由上往下依次固定在支架2的上平面。所述踏板1的中心位置处相互平行的开有2排安装孔11,4个安装孔11以踏板1的形心为中心对称设置,每排安装孔11的孔心连线与矩形板的中心线的夹角α=14~16°。所述支架2是由平板和平板两侧对称地侧板组成的整体,侧板下端开有三组轴孔;支架2的平板开有三组通孔13,与踏板1中的四个安装孔11能同时对应连接的四个通孔为同一组。本发明具有使用寿命长、性能稳定、续航能力强和体力消耗小的特点。
[实用新型]
一种混合式二层停车平台
申请号:
201820887270.2
状态:
有权
申请日:
2018-06-08
申请人:
武汉科技大学
发明人:
徐锦江、张立恒、代维康、潘东方、蹇文康、晋栩
公开日:
2019-01-08
代理机构:
武汉科皓知识产权代理事务所(特殊普通合伙)42222
主分类号:
E04H6/00(2006.01)I
我要购买
摘要:
本实用新型公开了一种混合式二层停车平台,包括一层平台、二层平台和卷扬机,所述一层平台用于安装在地面以下并与地面平齐,二层平台每侧均通过两根支撑杆与一层平台一端铰接相连,通过两根支撑杆在一层平台和二层平台一侧构成平行四边形结构,一层平台中部两侧分别设有一个顶部安装有定滑轮的支撑立柱,所述卷扬机设于远离二层平台一侧的一层平台下方,卷扬机上引出两根钢丝绳,每根钢丝绳分别绕过相应侧支撑立柱上定滑轮后,与相应侧的支撑杆相连,卷扬机钢丝绳拉动支撑杆绕其底部的铰接点转动,实现二层平台由一层平台端部的地面到上方运动。本装置对空间利用率高,停车方便简单,多种驱动方式保证了使用的稳定可靠性。
[发明]
一种基于并行化Softmax分类的图像处理方法和系统
申请号:
201810588917.6
状态:
审中-实审
申请日:
2018-06-08
申请人:
武汉科技大学
发明人:
陈泽熙、程峻岩、秦晓沐、姜键
公开日:
2018-12-07
代理机构:
北京轻创知识产权代理有限公司11212
主分类号:
G06K9/62(2006.01)I
我要购买
摘要:
本发明涉及一种基于并行化Softmax分类的图像处理方法和系统,该方法包括:步骤1,对训练图像进行预处理,获得训练数据集;步骤2,利用基于MapReduce的并行化Softmax分类方法运行所述训练数据集,获得多分类器;步骤3,将待分类图像进行预处理后,输入所述多分类器,获得图像分类结果。本发明提供的技术方案可有效提升对大数据图像进行分类的处理效率与处理质量。
[实用新型]
一种续航能力强的公路漂移板
申请号:
201820888083.6
状态:
有权
申请日:
2018-06-08
申请人:
武汉科技大学
发明人:
王兴东、李天航、郭东生、王静仪、董家顺、胡安、李双、柳子豪
公开日:
2019-01-08
代理机构:
武汉科皓知识产权代理事务所(特殊普通合伙)42222
主分类号:
A63C17/06(2006.01)I
我要购买
摘要:
本实用新型涉及一种续航能力强的公路漂移板。其技术方案是:支架(2)的前部和后部对应地装有前轮组(5)和后轮组(4),踏板(1)和减振片(3)通过螺栓由上往下依次固定在支架(2)的上平面。所述踏板(1)的中心位置处相互平行的开有2排安装孔(11),4个安装孔(11)以踏板(1)的形心为中心对称设置,每排安装孔(11)的孔心连线与矩形板的中心线的夹角α=14~16°。所述支架(2)是由平板和平板两侧对称地侧板组成的整体,侧板下端开有三组轴孔;支架(2)的平板开有三组通孔(13),与踏板(1)中的四个安装孔(11)能同时对应连接的四个通孔为同一组。本实用新型具有使用寿命长、性能稳定、续航能力强和体力消耗小的特点。
[发明]
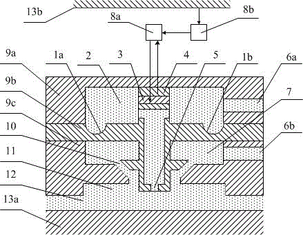
一种主动式气浮轴承
申请号:
201810583779.2
状态:
审中-公开
申请日:
2018-06-08
申请人:
武汉科技大学
发明人:
于普良、胡江山、李双
公开日:
代理机构:
主分类号:
F16C32/06(20060101)
我要购买
摘要:
本发明公开了一种复合节流主动调控的气浮轴承装置,包括气浮轴承本体和复合节流控制单元,其中气浮轴承本体由上本体、中本体和下本体三部分构成,复合节流控制单元主要由位移传感器、控制单元、驱动单元和检测单元四部分组成,控制单元根据检测单元和位移传感器的信号生成控制信号,驱动单元依据控制信号产生伸缩运动,动态调节气浮轴承复合节流的节流高度和节流面积,达到改变气膜间隙压强分布的目的,从而提高气浮轴承承载力和动刚度特性。本发明不仅可以有效抑制气浮轴承的微幅振动,而且可以显著提高气浮轴承承载力和动刚度等动力学特性,实现气浮轴承的高稳定性;此外,按照本发明的主动式气浮轴承具有结构紧凑,易于控制和高精度等优点,因此尤其适用于超精密制造和微电子制造等领域。
[实用新型]
传单自动发放装置
申请号:
201820877238.6
状态:
有权
申请日:
2018-06-07
申请人:
武汉科技大学
发明人:
李锦达、姚新远、吴兵华
公开日:
2018-12-07
代理机构:
北京路浩知识产权代理有限公司11002
主分类号:
G09F5/00(2006.01)I
我要购买
摘要:
本实用新型提供了一种传单自动发放装置,属于自动化设备技术领域,其包括用于存放传单的收纳盒、出纸器、红外传感器、架体、驱动器及控制器,收纳盒活动安装在架体上,出纸器安装在收纳盒内,收纳盒上设有出纸口,红外传感器安装在架体上,控制器与红外传感器及驱动器电连接,红外传感器检测周围环境中的行人并将人体信号传输给控制器,控制器根据接收到的人体信号控制驱动器驱动收纳盒相对架体运动,并控制出纸器分离输出传单。本实用新型提供的传单自动发放装置,通过红外传感器、控制器及出纸器完成传单的发放,不需要人工参与,自动程度高,能有效降低人工成本;驱动器驱动收纳盒运动,吸引行人的注意,提高发放成功率。
[实用新型]
伸缩折叠式阳台封闭结构
申请号:
201820875740.3
状态:
有权
申请日:
2018-06-07
申请人:
武汉科技大学
发明人:
刘哲宇、王媛媛、罗瑞
公开日:
2019-01-08
代理机构:
武汉科皓知识产权代理事务所(特殊普通合伙)42222
主分类号:
E04B1/00(2006.01)I
我要购买
摘要:
本实用新型公开了一种伸缩折叠式阳台封闭结构,通过顶板和底板封闭阳台窗口上下方空间,活动设置在窗口左右两侧的门窗封闭左右两侧部分空间。顶板下表面和底板上表面上下对称地设置第一滑轨、第二滑轨、转向导轨以及第三滑轨;第一滑轨和第二滑轨并排设置在顶板和底板左右两侧;第三滑轨的两端弯曲并位于顶板和底板左右两侧,中间部分位于顶板和底板远离窗口的前端,第三滑轨上设有可伸展到第一滑轨或第二滑轨上的防盗伸缩架,门窗与展开后的防盗伸缩架可拆卸连接,封闭窗口的正前方和左右侧的空间;转向导轨起到连接第三滑轨与第一滑轨、或第三滑轨与第二滑轨的作用。防盗伸缩架也可拉到第二导轨上折叠起来,增加阳台的空间。
[发明]
一种多喷头3D打印教具
申请号:
201810579282.3
状态:
审中-实审
申请日:
2018-06-07
申请人:
武汉科技大学
发明人:
蒋黎明、李友荣、徐增丙、鲁光涛、孙豪、周明乐
公开日:
2018-11-30
代理机构:
武汉科皓知识产权代理事务所(特殊普通合伙)42222
主分类号:
B29C64/236(2017.01)I
我要购买
摘要:
本发明提供一种多喷头3D打印教具,包括立方体中空支架,位于中空支架内的工作台,与工作台连接使之作升降运动的升降机构,中空支架上方四个角的位置设有支撑板,四个支撑板之间形成工作区域,每个支撑板上分别设有固定连接块,每相邻的两个固定连接块之间设有动力传动机构、以及与动力传动机构相连接的水平面平移机构,水平面平移机构上设有喷头组件,动力传动机构工作时,带动水平面平移机构运动,从而使得喷头组件在支撑板之间形成的工作区域内完成水平方向上的X、Y轴运动。本发明结构简单,通过控制驱动电机可以控制喷头在水平面上的移动,同时控制电机可以控制工作台的高度。
[发明]
一种二氧化锰-膨胀石墨-棉纤维三元复合超电容电极材料及其制备方法
申请号:
201810582564.9
状态:
审中-实审
申请日:
2018-06-07
申请人:
武汉科技大学
发明人:
范宝安、余凡、郭芬
公开日:
2018-12-11
代理机构:
北京轻创知识产权代理有限公司11212
主分类号:
H01G11/30(2013.01)I
我要购买
摘要:
本发明涉及一种二氧化锰‑膨胀石墨‑棉纤维三元复合超电容电极材料及其制备方法,制备方法包括如下步骤:(1)将醋酸锰或硫酸锰溶于水中得电解液;(2)将膨胀石墨分散于无水乙醇中得悬浮液,并将棉织物在悬浮液中充分浸渍,取出后烘干,得棉纤维丝表面包覆有膨胀石墨的棉织物;(3)以钛框固定包覆有膨胀石墨的棉织物并以其作阳极浸入上述电解液中,通电电解,使二氧化锰电化学沉积于包覆有膨胀石墨的棉织物表面,即得。有益效果为,所得材料具有良好的充放电性能,比电容高(可达到521.3F·g
‑1
)且比电容随电流密度增加的衰减程度较小(电流密度增大20倍,比电容只衰减了8.0%);生产方法简单、高效,环境友好,且成本低。
[实用新型]
一种阀缸一体的自动调节流量的组合阀
申请号:
201820873717.0
状态:
有权
申请日:
2018-06-07
申请人:
武汉科技大学
发明人:
湛从昌、吴凛、郭媛、张磊、陈奎生、陈新元
公开日:
2019-01-22
代理机构:
武汉科皓知识产权代理事务所(特殊普通合伙)42222
主分类号:
F15B13/02(2006.01)I
我要购买
摘要:
本实用新型涉及一种阀缸一体的自动调节流量的组合阀。其技术方案是:控制阀(1)壳体和控制缸(3)壳体同轴线固定连接,控制阀(1)的阀芯杆(10)和控制缸(3)的活塞杆(20)通过销子(2)连接。阀体(5)的空心圆柱形腔体内装有阀套(7),阀套(7)的空心圆柱形腔体内装有阀芯(9)和阀芯杆(10),在阀套(7)上从左向右设有圆形通孔(16)、节流孔(15)和泄油孔(12),阀套(7)的节流孔(15)的中心线和阀体(5)的出油口(8)的中心线为同一直线,阀套(7)的圆形通孔(16)中心线和阀体(5)的进油口(6)中心线为同一直线,阀套(7)的泄油孔(12)的中心线和阀体(5)的泄油口(13)的中心线为同一直线。本实用新型具有缸阀一体化、结构简单和成本低的特点,能自动实现速度平稳变换和流量调节。
[发明]
一种钢包测温取样装置
申请号:
201810579738.6
状态:
有权
申请日:
2018-06-07
申请人:
武汉科技大学
发明人:
詹瞩、陈新元
公开日:
2018-11-06
代理机构:
武汉科皓知识产权代理事务所(特殊普通合伙)42222
主分类号:
B22D2/00(2006.01)I
我要购买
摘要:
本发明公开一种钢包测温取样装置,包括底座、机械臂、转动装置、取样探头载体和破壳装置,机械臂安装在底座上,底座作为整个装置的载体,机械臂为多自由度机械臂,用于带动取样探头载体和破壳装置接近或远离钢包水,转动装置的本体安装在机械臂末端,所述取样探头载体和破壳装置并列安装在转动装置的转动端,转动装置用于对取样探头载体和破壳装置换位转向,取样探头载体用于安装测温取样探头,所述破壳装置用于在采样前戳破钢包水杂质壳。本发明通过机械臂带动破壳装置和取样探头载体到达钢包液面上方,利用破壳装置打孔破壳,然后通过转动装置转向,利用测温取样探头取样后测量。本发明结构稳定,取样方便,有效防止了人身伤害。
[发明]
一种用于脱除富氧燃烧烟气汞及含汞化合物的方法、吸附剂及其制备方法
申请号:
201810580696.8
状态:
审中-实审
申请日:
2018-06-07
申请人:
广州华润热电有限公司、武汉科技大学
发明人:
韦丹、杨新生、韩军、余方斌、秦林波
公开日:
2018-11-13
代理机构:
武汉宇晨专利事务所42001
主分类号:
B01D53/32(2006.01)I
我要购买
摘要:
本发明公开了一种用于脱除富氧燃烧烟气汞及含汞化合物的方法,包括以下步骤,S01.获得含主要成分为CO
2
、H
2
O、O
2
的燃烧烟气:使烟气含有体积比为73‑97%的CO
2
、1‑26%的H
2
O、1‑5%的O
2
、0.02‑0.05%的HCl;S02.利用上述步骤中的循环烟气携带活性炭粉末输送至等离子体反应器,进行低温等离子处理,使所述燃烧烟气成分被等离子体化变为高活性的原子或离子态,在所述活性炭上形成活性官能团,实现对燃烧烟气汞的吸附脱除;S03.将所述脱汞吸附剂输送至所述含汞燃烧烟气中,并附着在燃烧烟气过滤装置上,用于形成流化床从燃烧烟气中收集并去除汞及汞的化合物;S04.流化床上吸附剂的更新,每隔120min更新所述过滤装置上脱汞吸附剂。利用改性活性炭对烟气汞及化合物进行脱除,脱汞效率高。
[实用新型]
一种智能导盲拐杖
申请号:
201820879672.8
状态:
有权
申请日:
2018-06-07
申请人:
武汉科技大学
发明人:
李兰馨、邹梓杰
公开日:
2019-06-07
代理机构:
北京轻创知识产权代理有限公司11212
主分类号:
A61H3/06(2006.01)I
我要购买
摘要:
本实用新型涉及一种智能导盲拐杖,包括呈中空的导盲杆,以及固定在导盲杆顶端且呈中空的手柄,还包括:主控制器,以及分别与主控制器电连接的超声波传感器、振动器和对应不同报警距离的模式切换开关;主控制器设置在导盲杆或手柄的内腔,超声波传感器设置在导盲杆的内腔,振动器设置在手柄上,模式切换开关镶嵌在导盲杆的杆体上或手柄的柄体上,导盲杆上的位于超声波传感器的探测方向的位置处开设有开口。本实用新型通过模式切换开关调节超声波的探测距离,并结合开口减少智能导盲拐杖内部干扰,实现以简单结构实现增强智能导盲拐杖适应环境的灵活性。
[发明]
一种自动调节流量的组合阀
申请号:
201810578153.2
状态:
审中-实审
申请日:
2018-06-07
申请人:
武汉科技大学
发明人:
湛从昌、吴凛、张磊、郭媛、陈奎生、陈新元
公开日:
2018-09-11
代理机构:
武汉科皓知识产权代理事务所(特殊普通合伙)42222
主分类号:
F15B13/02(2006.01)I
我要购买
摘要:
本发明涉及一种自动调节流量的组合阀。其技术方案是:所述组合阀的控制阀(1)的壳体和控制缸(3)的壳体同轴线固定连接,控制阀(1)的阀芯杆(10)和控制缸(3)的活塞杆(20)通过销子(2)连接。阀体(5)的空心圆柱形腔体内装有阀套(7),阀套(7)的空心圆柱形腔体内装有阀芯(9)和阀芯杆(10),在阀套(7)上从左向右设有圆形通孔(16)、节流孔(15)和泄油孔(12),阀套(7)的节流孔(15)的中心线和阀体(5)的出油口(8)的中心线为同一直线,阀套(7)的圆形通孔(16)中心线和阀体(5)的进油口(6)中心线为同一直线,阀套(7)的泄油孔(12)的中心线和阀体(5)的泄油口(13)的中心线为同一直线。本发明具有缸阀一体化、结构简单、成本低和维护方便的特点,能自动实现速度平稳变换和流量调节。
[发明]
铁尾矿烧结轻质保温墙体材料及制备方法
申请号:
201810574216.7
状态:
审中-实审
申请日:
2018-06-06
申请人:
武汉科技大学
发明人:
杜金洋、陈永亮、张惠灵、徐克猛、王梦婵、陈润泽
公开日:
2018-11-02
代理机构:
武汉科皓知识产权代理事务所(特殊普通合伙)42222
主分类号:
C04B38/08(2006.01)I
我要购买
摘要:
本发明公开了一种铁尾矿烧结轻质保温墙体材料及制备方法。所述材料技术方案是:先按重量百分比准确称取45~55%的铁尾矿粉、20~30%的膨胀珍珠岩、15~25%的膨润土和5~15%的长石,经干混混匀后加水进行湿混,过筛得到粒径小于等于1mm的湿物料,采用压制成型的方式得到坯体,再经高温烧结制备出铁尾矿烧结轻质保温墙体材料。本发明利用铁尾矿为主要原料,采取合理的配方及工艺制备墙体材料,具有废物利用率高、生产成本低、节能环保等特点,开拓了铁尾矿在制备轻质保温墙体材料方向上的应用,制品的性能符合《烧结保温砖和保温砌块》(GB 26538‑2011)的要求。
[发明]
一种多旋翼植保无人机模拟喷洒实验平台
申请号:
201810573867.4
状态:
审中-实审
申请日:
2018-06-06
申请人:
武汉科技大学
发明人:
汪朝晖、姜昆、高全杰、孙笑、樊佳荣、李毅轩
公开日:
2018-10-30
代理机构:
上海精晟知识产权代理有限公司31253
主分类号:
B64F5/60(2017.01)I
我要购买
摘要:
本发明涉及一种多旋翼植保无人机模拟喷洒实验平台,包括:架体、旋翼单元、喷洒单元、驱动单元及控制单元;本发明通过对各喷施作业参数进行设置,模拟测试多旋翼植保无人机在不同喷施作业参数条件下的喷洒性能,通过测量不同作业参数条件下多旋翼植保无人机的实验喷洒结果,预测多旋翼植保无人机真实作业的喷洒质量及效果,该实验平台解决现阶段平台实验通用性不强,田间实验复杂等问题,同时,多旋翼植保无人机模拟喷洒实验平台中的杆架螺纹杆与喷洒杆、旋翼杆的配合,能模拟不同类型的植保无人机的喷头和旋翼布局,为植保无人机的喷洒性能研究及改进提供参考,为多旋翼植保无人机的喷洒参数优化及结构设计提供便捷。
[发明]
一种水泥窑用锆莫砖及其制备方法
申请号:
201810572228.6
状态:
审中-实审
申请日:
2018-06-06
申请人:
武汉科技大学
发明人:
徐义彪、李亚伟、桑绍柏、王庆虎、朱天彬
公开日:
2018-09-11
代理机构:
武汉科皓知识产权代理事务所(特殊普通合伙)42222
主分类号:
C04B35/66(2006.01)I
我要购买
摘要:
本发明涉及一种水泥窑用锆莫砖及其制备方法。其技术方案是:以58~75wt%的颗粒料、3~20wt%的锆莫来石细粉、3~10wt%的广西白泥细粉、1~3wt%的Ti3AlC2/Ti3SiC2复合粉体、2~7wt%的单质硅细粉、3~15wt%的生矾土微粉和0.5~1.0wt%的硼化锆细粉为A原料,外加占A原料0.5~2wt%的氯化铈和3~8wt%的纸浆废液,搅拌,成型,干燥,于1400~1600℃保温2~8h,即得水泥窑用锆莫砖。所述颗粒料是:以蓝晶石尾矿细粉或煤矸石细粉为B原料,外加B原料0.5~2wt%的氧化钇细粉和4~6wt%的纸浆废液,混匀,成型,干燥,于1300~1500℃保温3~9h,冷却,破碎,得颗粒料。本发明成本低,所制备的水泥窑用锆莫砖耐磨性好、导热系数低、抗热震性能好和抗侵蚀性能优良。
[发明]
一种轧钢模型钢族层别分类优化方法
申请号:
201810574041.X
状态:
审中-实审
申请日:
2018-06-06
申请人:
武汉科技大学
发明人:
李维刚、马威、徐文胜、赵云涛
公开日:
2018-11-16
代理机构:
上海精晟知识产权代理有限公司31253
主分类号:
B21B38/00(2006.01)I
我要购买
摘要:
本发明提供一种轧钢模型钢族层别分类优化方法,包括:步骤一:根据轧制过程数据计算变形速率和变形抗力,步骤二:根据实测的轧制力反求“等效实测”的变形抗力,步骤三:在图上绘制数据的散点图,根据分布特征判断层别划分是否合理,步骤四:针对钢族层别划分不合理的情况,采用一种新的线聚类算法来优化现有钢族层别的分类,确定需要划分到新层别的出钢记号,基于简单Nelder‑Mead算法寻找样本点X
i
到第j条聚类中心曲线的最短距离,采用最小二乘法分别对数据子集进行幂数曲线拟合,更新C、m系数,重复步骤,直到前后两次迭代得到的聚类中心线一致停止迭代,完成聚类。本发明提升了热轧模型钢族层别划分的精度。
首页
上一页
151
152
153
154
155
156
157
158
159
160
下一页
尾页
当前共找到
8115
个专利记录
,当前显示页码
160/406