首页
专利查询
专利购买
专利转让
专利申请
15071489439
当前位置:
专利巴士
专利查询
专利名称
查询
高级查询
当前共找到
8115
个专利记录
,当前显示页码
31/406
专利名称
申请号
申请人
发明人
专利代办机构
[发明]
一种磷酸硼陶瓷材料及其制备方法
申请号:
202110592237.3
状态:
审中-实审
申请日:
2021-05-28
申请人:
武汉科技大学
发明人:
李远兵、张毅、李淑静、李仕祺
公开日:
代理机构:
主分类号:
C04B35/447(20060101)
我要购买
摘要:
本发明涉及一种磷酸硼陶瓷材料及其制备方法。其技术方案是:将磷酸二氢铵和氧化硼混合,得混合料Ⅰ;将混合料Ⅰ球磨,烘干,机压成型,在350~750℃条件下保温,破碎,得到磷酸硼粉体。将氧化镁、氧化锌、氧化铋和氧化钆混合,得混合料Ⅱ;再将磷酸二氢铵和氧化硼按不同的质量比混合,得混合料Ⅲ;将混合料Ⅱ和混合料Ⅲ混合后再与磷酸硼粉体混合,球磨,烘干,制得磷酸锆陶瓷粉体。将磷酸锆陶瓷粉体机压成型,冷等静压处理,在空气气氛、常压和900~1200℃条件下保温2~5小时,制得磷酸硼陶瓷材料。本发明工艺简单、生产周期短和环境友好,所制备的磷酸硼陶瓷材料耐压/抗弯强度大、热膨胀性能良好和中子屏蔽性能优良。
[发明]
一种纳米核壳结构成孔剂及其制备方法
申请号:
202110591567.0
状态:
审中-公开
申请日:
2021-05-28
申请人:
武汉科技大学
发明人:
付绿平、唐少鹏、顾华志、黄奥、张美杰
公开日:
代理机构:
主分类号:
C04B38/06(20060101)
我要购买
摘要:
本发明公开了一种纳米核壳结构成孔剂的制备方法,包括以下步骤:(1)将纳米碳材料颗粒加入氨水溶液中进行超声分散,得到纳米碳材料悬浮液;(2)水浴加热条件下,将所得纳米碳材料悬浮液逐滴加入盐溶液中,同时搅拌均匀,得到混合液;(3)将所得混合液静置陈化,然后进行离心分离,去除上清液,得到沉淀物,将所得沉淀物干燥后保温,制得所述纳米核壳结构成孔剂。本发明所制备的纳米核壳结构成孔剂具有高温结构稳定性好和孔径可调控的特点。
[发明]
一种用于取向硅钢的无铬无机绝缘涂料及其制备方法
申请号:
202110591803.9
状态:
审中-实审
申请日:
2021-05-28
申请人:
武汉科技大学
发明人:
伍林、刘盈、胡雅、杨小于、叶迪、周义来、张保国、廖志远、陈奡
公开日:
代理机构:
主分类号:
C09D1/00(20060101)
我要购买
摘要:
本发明属于涂料技术领域,具体公开了一种用于取向硅钢的无铬无机绝缘涂料,包括以下重量份配比的原料:小颗粒硅溶胶10‑50份、大颗粒硅溶胶10‑50份、磷酸二氢铝溶液5‑50份、助剂0.1‑10份及水10‑100份。本发明还提供了一种用于取向硅钢的无铬无机绝缘涂料的制备方法,通过将小颗粒硅溶胶和大颗粒硅溶胶混合均匀成硅溶胶混合液后加水得到混合硅溶胶水溶液;再依次向其中加入磷酸二氢铝和助剂并持续拌至均匀,得到用于取向硅钢的无铬无机绝缘涂料。本发明提供的无铬无机绝缘涂料适用于取向硅钢,使取向硅钢环保无害的同时具有与含铬取向硅钢相当的耐腐蚀时效,从而实现取向硅钢产业绿色化并大大改善取向硅钢的综合性能。
[发明]
一种全彩色3D打印耗材的制备方法
申请号:
202110583697.X
状态:
审中-公开
申请日:
2021-05-27
申请人:
武汉科技大学
发明人:
罗明灵、蒋宾辰、刘朕、张云轩、周岐鸿、徐子阳
公开日:
代理机构:
主分类号:
B29C64/386(20170101)
我要购买
摘要:
本发明涉及一种全彩色3D打印耗材的制备方法,包括:利用黑色、白色、青色、品红色、黄色3D打印PLA(聚乳酸)原料耗材按照加色模式转换至减色模式规则混合获取不含灰色的目标全彩色耗材;利用黑色和白色打印PLA(聚乳酸)原料耗材按照第一公式混合得到的目标全彩色耗材的灰色成分;第一预设公式为:
式中G为灰阶值;S为CMY中最小量;L为CMY中最大量;N为比例系数;将获得的不含灰色的目标全彩色耗材和获得的目标全彩色耗材的灰色成分进行处理获得最终目标全彩色耗材。本发明保证了3D打印耗材彩色成分重现的准确性,混色效果较理想,实现了对各颜色的RGB值到五种颜色PLA耗材混合比的转换,满足了全彩3D打印流程中对色彩重现的技术要求。
[发明]
一种还原烟气中CO
2
用生物阴极材料的制备方法
申请号:
202110575691.8
状态:
审中-公开
申请日:
2021-05-26
申请人:
武汉科技大学
发明人:
王黎、张嘉方、廖梦根、郑鹏坤
公开日:
代理机构:
主分类号:
C25B3/26(20210101)
我要购买
摘要:
本发明涉及一种还原烟气中CO
2
用生物阴极材料的制备方法。在N
2
环境下,均按照浓度为0.5~1g/L,将芳香重氮盐和NaNO
2
溶解在稀盐酸溶液中,制得电化学还原重氮盐的电解液。然后采用三电极体系,以银‑氯化银电极作为参比电极,预处理后的钛板和碳毡分别作为对电极和工作电极,在阴极电势为‑0.5~1V条件下反应,直至通路的电荷量为0.1~0.2C止。将阴极在去离子水中冲洗2~3次后自然晾干,制得还原烟气中CO
2
用生物阴极材料。本发明工艺简单和合成条件温和,所制备的还原烟气中CO
2
用生物阴极材料对CO
2
的捕集能力好和反应位点多。
[实用新型]
一种基于TDLAS气体检测器的气体检测实验装置
申请号:
202121095857.8
状态:
有权
申请日:
2021-05-21
申请人:
武汉科技大学
发明人:
黄刚、成林、韩俊杰、徐千山
公开日:
代理机构:
主分类号:
G01N21/39(2006.01)
我要购买
摘要:
本申请涉及气体检测技术领域,且公开了一种基于TDLAS气体检测器的气体检测实验装置,包括支架,且支架上转动连接有转盘,所述转盘上插接有气体腔,所述气体腔的两端分别设置有与其连通的光信号发射器和光信号接收器,且气体腔两侧竖直内壁上均设置有反射镜和可调反射镜,本方案,通过在气体腔的内部中心对称设置两个反射镜,且在反射镜的一侧设置可调反射镜,通过对两个可调反射镜的角度调节,实现对于光在气体腔内侧运动轨迹的调节,从而便捷的控制光运行的距离,通过多组气体腔的相互配合,提升最终实验数据的精确性。
[发明]
一种经烧结熔覆法得到的铜基、铝基合金润滑减摩降磨材料及其制备方法
申请号:
202110557391.7
状态:
审中-实审
申请日:
2021-05-21
申请人:
武汉科技大学
发明人:
方海梁、刘静、胡雅
公开日:
代理机构:
主分类号:
C23C24/10(20060101)
我要购买
摘要:
本发明公开了一种经烧结熔覆法得到的铜基、铝基合金润滑减摩降磨材料及其制备方法,具体涉及粉末冶金以及激光熔覆、等离子熔覆、喷焊、堆焊、冷焊、氩弧熔覆等技术领域。本发明选用低碳钢、不锈钢板、低合金钢等板材作为基体材料,而以水流雾化、气流雾化、等离子旋转雾化法、电解法、机械合金化法、机械粉碎法。本发明在基体钢板上覆烧上一层铜合金粉末或铝合金粉末,用激光熔覆、喷焊、堆焊、冷焊、氩弧熔覆、等离子熔覆技术对经覆烧过后的钢‑铜合金板或钢‑铝合金板进行激光熔覆、喷焊、堆焊、冷焊、等离子熔覆、氩弧熔覆;对得到的钢‑铜合金板或钢‑铝合金板进行轧制‑去应力退火‑熔覆‑轧制等过程。
[发明]
一种可修饰取向硅钢表面的无铬无机绝缘涂料及其制备方法
申请号:
202110558761.9
状态:
审中-实审
申请日:
2021-05-21
申请人:
武汉科技大学
发明人:
伍林、刘盈、胡雅、杨小于、叶迪、周义来、张保国、廖志远、陈奡
公开日:
代理机构:
主分类号:
C09D1/00(20060101)
我要购买
摘要:
本发明提出了一种可修饰取向硅钢表面的无铬无机绝缘涂料及其制备方法,该涂料按照重量份计包括以下组份:磷‑硅溶胶40‑70份、钛改性增稠剂预溶胶25份、抑泡剂0.2‑1份、流平剂0.05‑0.2份和去离子水3.8‑34.75份。该涂料的制备方法为:先制备磷‑硅溶胶和钛改性增稠剂预溶胶;然后向磷‑硅溶胶中加入抑泡剂并搅拌均匀;再加入去离子水并搅拌均匀;再分次缓慢加入钛改性增稠剂预溶胶并搅拌均匀;最后加入流平剂并搅拌均匀。本发明所制备的无铬无机绝缘涂料可修饰取向硅钢表面瑕疵露晶等形貌缺陷;在取向硅钢表面形成的绝缘涂层具有良好的附着力和耐热性;涂料采用的原料均为无污染的环保材料,解决了含铬绝缘涂料带来的环境危害。
[发明]
一种可修饰取向硅钢表面的无机绝缘涂料及其制备和使用方法
申请号:
202110557367.3
状态:
审中-实审
申请日:
2021-05-21
申请人:
武汉科技大学
发明人:
伍林、刘盈、胡雅、黄珍欣、杨小于、叶迪、邓燕
公开日:
代理机构:
主分类号:
C09D1/00(20060101)
我要购买
摘要:
本发明提供了一种可修饰取向硅钢表面的无机绝缘涂料及其制备和使用方法,该涂料按照重量份计,包括:大颗粒硅溶胶5‑35份、磷酸二氢铝10‑30份、小颗粒硅溶胶5‑35份、铬酐0.5‑5份、增稠剂1‑10份、钛白粉0.01‑0.5份及去离子水0‑78.49份;该涂料的固含量为20‑40%。该涂料制备方法为:将增稠剂、去离子水、磷酸二氢铝、大颗粒硅溶胶、小颗粒硅溶胶,铬酐和钛白粉依次加入反应器中搅拌均匀,室温静置0.5‑1h。该涂料在使用时,需先将取向硅钢片进行清洁干燥预处理后,再将涂料辊涂在取向硅钢片上固化烧结并控制膜厚。本发明所提供的涂料制成的涂层表面平整均匀、颜色光亮,具有优良的附着性、耐蚀性、热稳定性和绝缘性,并且能修饰因硅酸镁底层质量不良引起的露晶亮点缺陷。
[实用新型]
一种便携式遥控三角警示牌
申请号:
202121088633.4
状态:
有权
申请日:
2021-05-20
申请人:
武汉科技大学
发明人:
左鑫凯、金贵林、刘少杰、胡桂铭、张玉胤
公开日:
代理机构:
主分类号:
B60Q7/00(2006.01)
我要购买
摘要:
本实用新型涉及一种便携式遥控三角警示牌,包括板体一、板体二和板体三,板体二和板体三分别与板体一转动连接并定位;板体二和板体三可展开至与板体一形成三角形,以用于警示,或板体二和板体三可收拢至与板体一叠合,以进行收纳。本实用新型的有益效果是结构简单,可实现折叠或展开,方便收纳和携带,节省空间;另外,可实现三角警示牌的自动行走,以完成三角警示牌的放置和回收工作,无需人工手动放置,安全可靠。
[发明]
一种毫米波点对点通信信道均衡方法
申请号:
202110254010.8
状态:
审中-公开
申请日:
2021-05-20
申请人:
武汉科技大学
发明人:
柴利、乐程放、唐慧、杨君
公开日:
代理机构:
主分类号:
H04L25/03(20060101)
我要购买
摘要:
本发明提出一种毫米波点对点通信信道均衡方法,其特征在于记录已知的发送数据和接收数据形成数据库,通过数据库搭建和训练卷积神经网络实现由接收数据直接恢复得到原始发送数据;包括如下步骤:建立数据库;划分数据集;构建神经网络并设置8个超参数;确定代价函数和性能评价指标;由接收数据直接恢复得到原始发送数据。使用点对点单输入单输出通信,所用数据库的输入和输出具有直接对应关系,可直接从卷积神经网络输出原始发送信号,而不是输出原始发送信号的条件概率分布,均衡过程更加直接。
[发明]
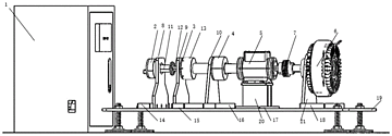
关节测试实验平台
申请号:
202110544054.4
状态:
审中-公开
申请日:
2021-05-19
申请人:
武汉科技大学
发明人:
闵华松、欧阳卫星、夏杭
公开日:
代理机构:
主分类号:
G01M13/02(20190101)
我要购买
摘要:
本发明公开了一种关节测试实验平台,包括:控制箱、支撑架、直流无刷电机、谐波减速机、增量编码器、扭矩传感器、联轴器以及磁粉制动器。直流无刷电机固定于支撑架上,且直流无刷电机与控制箱电性连接。谐波减速机固定于支撑架上,谐波减速机的一端与直流无刷电机相连接,且谐波减速机与控制箱电性连接。增量编码器固定于支撑架上,增量编码器的一端与谐波减速机的另一端相连接,且增量编码器与控制箱电性连接。扭矩传感器固定于支撑架上,扭矩传感器的一端与增量编码器的另一端相连接,且扭矩传感器与控制箱电性连接。借此,本发明的关节测试实验平台,装配简单,易于拆卸,可以测试关节的多个性能,且提高了对关节的输出特性测试精度。
[发明]
基于四维超混沌系统的图像加密方法、介质、设备及终端
申请号:
202110539412.2
状态:
审中-实审
申请日:
2021-05-18
申请人:
武汉科技大学
发明人:
何畅、张婷婷、陈贵词
公开日:
代理机构:
主分类号:
G06F21/60(2013.01)
我要购买
摘要:
本发明属于图像处理技术领域,公开了一种基于四维超混沌系统的图像加密方法、介质、设备及终端,在三维Lorenz系统的基础上,通过增加变量w使其成为四维超混沌Lorenz系统,针对该系统,Lyapunov指数的计算结果和系统运动轨迹的仿真结果验证了系统的超混沌性。对于该系统,提出了基于混沌序列的交换以及异或算法来对图像进行加密。此算法的安全性分析和测试结果表明,新算法对密钥非常敏感,具有较好的扩散性及安全性,能抵抗蛮力攻击、已知明文攻击和选择明文攻击。本发明能够解决基于传统加密算法以及低维混沌系统的数字图像加密算法逐渐暴露出密钥空间小、安全性不高等问题。
[发明]
利用高温红外热成像实现工件优化加工的方法
申请号:
202110540467.5
状态:
审中-实审
申请日:
2021-05-18
申请人:
武汉科技大学
发明人:
张华、张美航、鄢威、鲁陈勋、石灿玉、兰迎迎
公开日:
代理机构:
主分类号:
G05B19/401(2006.01)
我要购买
摘要:
本发明公开一种利用高温红外热成像实现工件优化加工的方法,属于工件优化加工领域。本方法利用高精度高灵敏度高温红外热成像设备采集加工过程中的刀具以及周边区域的实际温度,采用热分析方式,结合工件三维结构图、工艺参数表和刀具参数表获得理想工况温度,以理想工况温度和实际温度间的差值为引导,来调整加工过程中刀具的进给速度、工件的转速和冷却液使用量,从而控制加工温度在理想工况范围内,降低了刀具磨损情况,增加了刀具使用寿命,此外,由于温度控制得当,也大大降低了被加工工件材料的损伤,实现数控机床工件加工的优化,最终实现加工能耗降低。
[发明]
利用高温红外热成像实现工件优化加工的装置
申请号:
202110540533.9
状态:
审中-公开
申请日:
2021-05-18
申请人:
武汉科技大学
发明人:
张美航、张华、鄢威、王瑞平、江志刚、鲁陈勋
公开日:
代理机构:
主分类号:
G05B19/4063(20060101)
我要购买
摘要:
本发明公开一种利用高温红外热成像实现工件优化加工的装置,属于数字孪生技术应用领域,其包括数控机床系统、高温红外热像仪系统、存储器系统、热分析系统、处理器及控制器系统,高温红外热像仪系统与机床系统相邻,以能采集获得机床系统中加工区域温度,数控系统用作机加工的场所,存储器系统同时与热分析系统和处理器及控制器系统相连,热分析系统用于获取理想的加工工况温度并将该理想的加工工况温度存储在存储器系统中,处理器及控制器系统用于获得数控机床系统的控制参数,并对数控系统实施加工控制,以实现加工过程中工艺参数优化和加工能耗的优化控制。本发明装置能够实现加工工件过程中的实时能耗预测及后续同类工件的工艺优化。
[发明]
沥青与聚丙烯腈复合纳米纤维的自粘结微纳多孔炭膜及其制备方法和应用
申请号:
202110541139.7
状态:
审中-公开
申请日:
2021-05-18
申请人:
武汉科技大学
发明人:
袁观明、唐万莲、崔正威、李保六、李轩科、张江、董志军、丛野
公开日:
代理机构:
主分类号:
D04H1/728(2012.01)
我要购买
摘要:
本发明属于碳质薄膜技术领域,具体涉及一种沥青与聚丙烯腈复合纳米纤维的自粘结微纳多孔炭膜及其制备方法和应用。该方法包括如下步骤:S1.将沥青的甲苯可溶分与聚丙烯腈在有机溶剂中混溶,得到均匀可纺的稳定纺丝液,再通过静电纺丝法制备得到沥青与聚丙烯腈的复合纳米纤维薄膜;S2.将步骤S1得到的所述沥青与聚丙烯腈的复合纳米纤维薄膜进行氧化不熔化处理以进行部分的氧化交联,最后进行炭化处理,得到沥青与聚丙烯腈复合纳米纤维的自粘结微纳多孔炭膜。
[发明]
一种核酸枝接偶氮苯的组装体及制备方法及应用
申请号:
202110540673.6
状态:
审中-实审
申请日:
2021-05-18
申请人:
武汉科技大学
发明人:
赵智勇、马佳慧、刘思敏、金斗、高瑾瑜
公开日:
代理机构:
主分类号:
C07H21/04(20060101)
我要购买
摘要:
本发明公布了一种核酸枝接偶氮苯的组装体及制备方法及应用,将偶氮苯衍生物偶联到CpG寡脱氧核苷酸的末端得到所述的枝接核酸的偶氮苯分子;所述枝接核酸的偶氮苯分子在水溶液中加热组装得到核酸枝接偶氮苯分子的组装体;通过凝胶电泳、割胶、脱盐、紫外、质谱等表征手段对反应体系进行纯化和表征。在20℃‑100℃的碱性条件下,所述偶氮苯衍生物形成疏水核,疏水核的外围为柔性亲水的单链DNA;在酸性条件下,所述单链DNA变成“i‑motif”结构,所述核酸枝节偶氮苯的组装体解体。该组装体不仅可应用于药物负载等领域,利用DNA链的pH响应性,该组装体可应用于药物的可控释放。核酸枝节偶氮苯的组装体还可引入环糊精,使该组装体解体能应用于药物的可控释放。
[发明]
一种氧化硅@氧化铁/碳复合锂离子电池负极材料及其制备方法
申请号:
202110535234.6
状态:
审中-公开
申请日:
2021-05-17
申请人:
武汉科技大学
发明人:
陈政、许馨以、姜婷婷、周盈科、李睿智、谭宇
公开日:
代理机构:
主分类号:
H01M4/36(2006.01)
我要购买
摘要:
本发明涉及一种氧化硅@氧化铁/碳复合锂离子电池负极材料及其制备方法。其技术方案是:将0.5~1.5mol的氧化硅、0.5~1.5mol的水合三氯化铁、0.5~1.5mol的尿素、0.1~0.3mol的盐酸和0.1~0.5mol的糖类混合,再加入1~5mol的丙醇或乙醇作为溶剂,室温条件下磁力搅拌,得到混合溶液。将所述混合溶液转移到水热反应釜中,在160~180℃条件下水热反应10~12h,过滤,得到混合料。然后将所述混合料用乙醇和去离子水交替洗涤,干燥,在保护气氛和400~600℃条件下保温2~4h,自然冷却,制得氧化硅@氧化铁/碳复合锂离子电池负极材料。本发明具有成本低、工艺简单和操作方便的特点,所制备的氧化硅@氧化铁/碳复合锂离子电池负极材料电化学性能优异。
[实用新型]
一种家用厨余垃圾处理设备
申请号:
202121035409.9
状态:
有权
申请日:
2021-05-14
申请人:
武汉科技大学
发明人:
冯涛、鲍志杰、龚香宜、屠德刚、杨国栋
公开日:
代理机构:
主分类号:
B30B9/20(2006.01)
我要购买
摘要:
本实用新型涉及一种家用厨余垃圾处理设备,包括箱体,箱体内设有相互独立且并列分布的处理腔和收集腔,箱体的顶部设有与处理腔连通的进料口,底部设有与收集腔连通的出料口;处理腔和收集腔的下部相连通,处理腔内对应二者连通处的位置固定安装有过滤机构。本实用新型的有益效果是结构紧凑,可实现厨余垃圾的破碎、挤压脱水、过滤、挤压及烘干等作业,功能多样,降低厨余垃圾腐败的程度,便于集中收集运输。
[实用新型]
一种钢结构柱体柱脚节点连接结构
申请号:
202121019937.5
状态:
有权
申请日:
2021-05-13
申请人:
武汉科技大学
发明人:
李冬奎、贺东兵、王军洁、谢琳琳
公开日:
代理机构:
主分类号:
E04C3/32(2006.01)
我要购买
摘要:
本实用新型提供一种钢结构柱体柱脚节点连接结构,涉及柱脚连接装置技术领域,包括矩形板和钢柱,矩形板的上表面焊接有安装框,安装框的内壁活动连接有钢柱,安装框的内壁设有固定装置,固定装置包括八个弹簧,八个弹簧四个为一组,两组弹簧均固装在安装框的表面,弹簧远离安装框的一端固定连接有卡块,卡块远离弹簧的一端卡接有限位板,两个限位板彼此靠近的一侧均与钢柱固定连接,安装框的表面转动安装有两个转动板。本实用新型,解决了传统的连接结构需要用到较多的安装工具,并且安装方式较为繁琐,对临时搭建的建筑来说,复杂的安装导致不方便进行拆卸,降低了柱体柱脚连接结构使用效率的问题。
首页
上一页
31
32
33
34
35
36
37
38
39
40
下一页
尾页
当前共找到
8115
个专利记录
,当前显示页码
31/406