首页
专利查询
专利购买
专利转让
专利申请
15071489439
当前位置:
专利巴士
专利查询
专利名称
查询
高级查询
当前共找到
8115
个专利记录
,当前显示页码
32/406
专利名称
申请号
申请人
发明人
专利代办机构
[发明]
一种基于优选图像对的新用户审美偏好标定和分类方法
申请号:
202110525919.2
状态:
审中-公开
申请日:
2021-05-13
申请人:
武汉科技大学
发明人:
蒋旻、江佳俊、陈哲、郭嘉
公开日:
代理机构:
主分类号:
G06K9/62(2006.01)
我要购买
摘要:
本发明公开了一种基于优选图像对的新用户审美偏好标定和分类方法,包括S1,对用户代表数据库中的用户美学偏好进行聚类分析,从而得到用户代表美学评分数据集;S2,对用户代表美学评分数据集进行数据清洗,从清洗后的数据集中挑选出优选图像对,以及,基于优选图像对的用户审美偏好表达方法对用户代表的审美偏好进行重新标定,并基于该标定数据训练生成用户美学分类决策树;S3,对用户美学分类决策树的非叶节点的优选图像对进行用户美学偏好抉择,直至到达叶节点,从而对新用户进行美学偏好分类;通过简单交互的方式通过决策树确定新用户类别,对新用户个性化偏好分类准确有效。
[发明]
一种多功能家用厨余垃圾预处理装置
申请号:
202110517769.0
状态:
审中-公开
申请日:
2021-05-12
申请人:
武汉科技大学
发明人:
冯涛、屠德刚、鲍志杰、杨国栋
公开日:
代理机构:
主分类号:
B30B9/20(2006.01)
我要购买
摘要:
本发明涉及一种多功能家用厨余垃圾预处理装置,包括箱体,箱体内部的空间由竖直固定安装的隔板分隔成处理室和收集室,箱体的顶部设有至少一个连通处理室的进料口,底部设有连通收集室的出料口;隔板上设有连通处理室和收集室的开口,处理室内的下部对应开口处的位置水平固定安装有烘干平台;从进料口投入的待处理的厨余垃圾可下落至烘干平台上进行烘干处理,并可从开口进入收集室收集。本发明的有益效果是结构紧凑,可实现厨余垃圾的破碎、脱水、烘干、灭菌、压缩功能等作业,有利于后续的厨余垃圾回收二次利用以及收集运输。
[发明]
一种混凝土冻融实验冻胀监测装置
申请号:
202110514690.2
状态:
审中-公开
申请日:
2021-05-12
申请人:
武汉科技大学
发明人:
韩蓓
公开日:
代理机构:
主分类号:
G01N25/00(20060101)
我要购买
摘要:
本发明公开了一种混凝土冻融实验冻胀监测装置,包括冻胀检测主体;其中,冻胀检测主体的正中间设置有承载台,承载台的四周分别设置有承载筋,承载筋上放置有冻融实验机,冻融实验机的外侧固定有制冷片,冻融实验机水平贯穿设置有多处冷风口,每两处相临冷风口之间设置有内腔,内腔内设置有形变传感器,内腔内限位设置有连杆,连杆的两端分别固定有限位块和接触头,连杆贯通于内腔的内部与外部,限位块位于内腔的内部,接触头位于内腔的外部,连杆上嵌套有弹簧,所述弹簧位于内腔的外部。本发明为一种混凝土冻融实验冻胀监测装置,主要用于检测混凝土在不同低温条件下的对比实验,以此准确判定混凝土的使用寿命,其操作简单,实验效率更高。
[发明]
一种止水帷幕装置
申请号:
202110514760.4
状态:
审中-公开
申请日:
2021-05-12
申请人:
武汉科技大学
发明人:
江继
公开日:
代理机构:
主分类号:
E02D19/16(20060101)
我要购买
摘要:
本发明公开了一种止水帷幕装置,包括固定座和钻杆,所述固定座的下端设置有支撑腿,所述固定座的上端设置有水箱,所述水箱内设置有水泵,所述固定座的前端设置有控制面板,所述水箱的右侧连接有输水管,所述输水管的右侧设置有电动机,所述电动机的下端设置有安装座,所述安装座的下端设置有钻杆,所述钻杆的下端设置有钻头,所述电动机的右侧设置有输浆管,所述输浆管的右侧连接有蓄浆箱,所述蓄浆箱的内部设置有筛网,所述输水管和输浆管的下端设置有连接件,所述连接件的下端设置有输水内管和输浆内管,所述钻杆的两侧设置有连杆,本发明操作简洁,实现了能够在硬土层地区搅拌和喷浆,成桩质量好,功效高,具有极好的止水效果。
[实用新型]
一种建筑工程用物料传送装置
申请号:
202120993046.3
状态:
有权
申请日:
2021-05-11
申请人:
武汉科技大学
发明人:
刘成华
公开日:
代理机构:
主分类号:
E04G21/02(2006.01)
我要购买
摘要:
本实用新型公开了一种建筑工程用物料传送装置,包括底板,所述底板的上表面固定连接有底座,所述底座的内部固定连接有步进电机,所述步进电机的输出端固定连接有转轴,所述底座的上表面活动连接有转环,所述转环的上表面设有支撑架,所述支撑架的内侧壁活动连接有连接轴,所述连接轴远离支撑架的一端固定连接有传送箱,所述传送箱的左侧外壁固定连接有输送电机,所述输送电机的输出端固定连接有输送辊,所述输送辊的外侧表面设有输送叶片。本实用新型,设有转轴带动支撑架转动,进而可调整传送箱的角度,使装置可将水泥传送至不同的位置,使用范围更广,使用效果更佳。
[发明]
一种利用金属镀层催化还原制备三氧化二钒的方法
申请号:
202110511143.9
状态:
审中-公开
申请日:
2021-05-11
申请人:
武汉科技大学
发明人:
张一敏、胡艺博、胡鹏程、刘涛
公开日:
代理机构:
主分类号:
C01G31/02(2006.01)
我要购买
摘要:
本发明公开了一种利用金属镀层催化还原制备三氧化二钒的方法。其技术方案是:用氢氧化钠溶液将五价钒溶解为钒浓度为0.1~1mol/L的富钒液,用硫酸溶液调节pH值至4~6;再将富钒液置于高压釜内,在200~300℃和1~3MPa的氢气分压条件下搅拌2~4h。所述高压釜的内壁和搅拌桨的表面均为金属镀层,所述金属镀层的金属为钯、铂、铑、铱中的一种。将搅拌完成后的高压釜冷却至50℃以下,释压,取出料浆,抽滤,干燥,制得三氧化二钒。抽滤后的氢氧化钠溶液返回步骤一,循环利用。本发明具有能耗低、生产成本低、生产周期短、反应效率高和金属催化剂能高效循环利用的特点,采用金属镀层的催化还原方式能有效保证产品纯度。
[发明]
一种用硫酸氧钒溶液制备Na(V3(OH)6(SO4)2)材料的方法
申请号:
202110513019.6
状态:
审中-公开
申请日:
2021-05-11
申请人:
武汉科技大学
发明人:
张一敏、胡艺博、胡鹏程、刘涛
公开日:
代理机构:
主分类号:
C01G31/00(2006.01)
我要购买
摘要:
本发明涉及一种用硫酸氧钒溶液制备Na(V3(OH)6(SO4)2)材料的方法。其技术方案是:用氢氧化钠溶液将硫酸氧钒溶液的pH值调节至0.50~3.00,按溶液的体积∶高压釜容积之比为0.4~0.6∶1,将调节pH值后的硫酸氧钒溶液加入高压釜内;通入氮气排出所述高压釜内的空气,再于100~350℃和2~7MPa氢气分压的条件下,搅拌1.5~4h;然后将搅拌完成后的高压釜冷却至50℃以下,释压,取出高压釜内的料浆,再将所述料浆抽滤,干燥,制得Na(V3(OH)6(SO4)2)材料。本发明具有生产成本低、周期短、工艺简单和产品沉淀率高的特点,为Na(V3(OH)6(SO4)2)材料的工业应用奠定基础。
[发明]
一种靶向敲除HBx蛋白的质粒及其构建方法和应用
申请号:
202110506989.3
状态:
审中-实审
申请日:
2021-05-10
申请人:
武汉科技大学
发明人:
周俊、王腊、孙丹丹、邓洋、丁士杰
公开日:
代理机构:
主分类号:
C12N15/85(20060101)
我要购买
摘要:
本发明提出了一种靶向敲除HBx蛋白的pCMVHBV‑HBx(‑)质粒以及质粒的构建方法,构建方法步骤以下:以pCMVHBV质粒为模板,设计HBx的CDS突变型引物进行PCR扩增,扩增产物经凝胶回收,孵育,大肠杆菌转化,测序验证得到pCMVHBV‑HBx(‑)质粒。本发明的pCMVHBV‑HBx(‑)质粒可以靶向敲除HBx蛋白,显著抑制pgRNA和cccDNA的形成。
[发明]
一种表面缺陷图像的语义分割方法、装置及计算机设备
申请号:
202110504018.5
状态:
审中-公开
申请日:
2021-05-10
申请人:
武汉科技大学
发明人:
汤勃、林中康、孙伟、孔建益、李锦达、李玉、戴超凡
公开日:
代理机构:
主分类号:
G06K9/34(20060101)
我要购买
摘要:
本申请涉及图像处理技术领域,以及提供一种表面缺陷图像的语义分割方法、装置及计算机设备;该方法在获取待分割图像后,将待分割图像输入至语义分割模型中,得到待分割图像的分割结果,其中该语义分割模型为预先采用多个具有语义标注的表面缺陷图像对模型中的空间路径模型、上下文路径模型以及语义图路径模型进行训练得到的。由于本申请的语义分割模型是采用空间路径模型、上下文路径模型以及语义图路径模型组成的多并行路径语义分割模型,从而能够确保分割结果的准确性。
[发明]
一种从废旧锂离子电池中回收与再生正极材料的方法
申请号:
202110503254.5
状态:
审中-公开
申请日:
2021-05-10
申请人:
武汉科技大学
发明人:
朱佳欣、郭光辉、武婕、程祥雨、程煜堃
公开日:
代理机构:
主分类号:
H01M4/505(20100101)
我要购买
摘要:
本发明提供了一种锂离子电池正极材料中重金属元素回收与正极材料再生方法。首先将废旧锂离子电池完全放电、拆解、煅烧、碱洗得到正极材料粉末;使用浸出剂浸出正极材料中的有价金属元素,得到富含有价金属的浸出液;加热蒸发浸出液中的氨并调节溶液的pH,得到氢氧化镍钴锰沉淀前驱体;将前驱体与适当过量的碳酸锂混合研磨,然后采用两段升温法煅烧合成三元正极材料。从浸出液中的蒸发出来的氨气可以使用硫酸吸收,生成铵盐,实现氨的再利用。本发明可实现三元正极材料循环利用,而且工艺简单,能有效降低生产成本,并且可实现氨的循环使用。
[发明]
一种岩溶塌陷相似模拟装置
申请号:
202110506137.4
状态:
审中-实审
申请日:
2021-05-10
申请人:
武汉科技大学
发明人:
盛建龙、乔宇、俞栋华、姜维、王平
公开日:
代理机构:
主分类号:
G01N33/24(2006.01)
我要购买
摘要:
本发明涉及岩溶塌陷模拟技术领域,且公开了一种岩溶塌陷相似模拟装置,包括过水管道、塌陷模拟箱、降雨模拟器、水位控制器和岩溶开口,所述过水管道的两端均固定有阀体,且所述过水管道的外表面通过三通固定有所述岩溶开口,所述过水管道的上方设有所述塌陷模拟箱;通过在塌陷模拟箱的上方设置降雨模拟器,从而可以考虑地表降雨的时候,对岩溶塌陷的影响,同时可以研究降雨或者极端降雨天气对岩溶塌陷的影响,通过在岩溶开口的顶部螺纹连接圆环,可以在实验的过程中,更换不同内径大小的圆环,螺纹结构可较好的减少更换不同的圆环带来的装置误差,不同内径大小的圆环可研究岩溶开口大小对岩溶塌陷的影响。
[发明]
大型煤气管道隔板自动安装机构
申请号:
202110501504.1
状态:
审中-实审
申请日:
2021-05-08
申请人:
武汉科技大学
发明人:
傅连东、董堰凯、邓江洪、湛从昌、陈新元、涂福泉、郭媛、曾良才
公开日:
代理机构:
主分类号:
B23P19/00(20060101)
我要购买
摘要:
本发明涉及煤气管道隔板技术领域,具体是大型煤气管道隔板自动安装机构,包括管道,所述管道的上下端位置处均设置有第一液压组件,所述管道的正上方位置处安装有外框架,所述外框架的内侧安装有移动框架,所述移动框架的上端设置有第一横杆,所述移动框架的下端设置有第二横杆,所述外框架上设置有第二滑槽、第三滑槽,所述移动框架的顶端安装有第二液压组件,所述第二液压组件的上端为左框架,所述第二液压组件的下端为右框架。本发明可以通过液压系统远端自动完成对管道的分离,将隔板和密封圈送入到管道法兰分离区域内以及自动对法兰接触面进行清渣,操作快捷,功能多样,使用方便,使用性强,安全可靠。
[发明]
一种基于激光与视觉融合SLAM技术的室内导航方法及系统
申请号:
202110499661.3
状态:
审中-公开
申请日:
2021-05-08
申请人:
武汉科技大学
发明人:
李维刚、夏臻康、钟正
公开日:
代理机构:
主分类号:
G05D1/02(20200101)
我要购买
摘要:
本发明涉及一种基于激光与视觉融合SLAM技术的室内导航方法及系统,所述方法包括获取室内机器人激光传感器采集的激光数据以及室内机器人摄像头采集的视觉数据;利用基于多信息融合的闭环检测算法对所述激光数据和所述视觉数据融合处理获取二维SLAM语义格栅地图;获取室内机器人的传感器采集的传感信息,根据所述传感信息选用预设的激光雷达定位方法或选用预设的融合视觉里程计与IMU的定位方法获取室内机器人的位姿信息;利用所述位姿信息及所述二维SLAM语义格栅地图并基于骨架提取的Voronoi全局路径规划技术与动态窗口法局部路径规划技术生成供室内机器人执行的导航信息。
[实用新型]
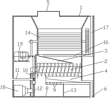
一种家庭厨余垃圾处理设备
申请号:
202120968219.6
状态:
有权
申请日:
2021-05-08
申请人:
武汉科技大学
发明人:
杨国栋、李明、冯涛、王世昌
公开日:
代理机构:
主分类号:
B65F1/14(2006.01)
我要购买
摘要:
本实用新型涉及一种家庭厨余垃圾处理设备,包括箱体、螺旋输送辊、导料板及污水收集槽,箱体内设有处理腔,箱体的顶部设有与处理腔连通的进料口,且箱体的底部还设有均与处理腔连通的排污口和出料口;螺旋输送辊水平安装在处理腔内,并可绕自身的轴向转动;导料板倾斜固定安装在螺旋输送辊的上方,且其下端延伸至螺旋输送辊一端的上方;污水收集槽固定安装在螺旋输送辊的下方,其一端延伸至螺旋输送辊另一端的下方,且其顶部水平固定安装有滤板,底部设有与排污口连通的排水口。本实用新型的有益效果是结构紧凑,可实现厨余垃圾的破碎、挤压、烘干及消毒作业,消除异味,方便对厨余垃圾做无害化处理,有利于厨余垃圾后续的收集运输。
[发明]
一种耐磨耐蚀三元硼化物/不锈钢复合材料及制备方法
申请号:
202110497685.5
状态:
审中-实审
申请日:
2021-05-08
申请人:
武汉科技大学
发明人:
潘应君、张浩、常智敏、柯德庆
公开日:
代理机构:
主分类号:
C22C33/02(20060101)
我要购买
摘要:
本发明公开了一种耐磨耐蚀三元硼化物/不锈钢复合材料及制备方法,属于复合材料制备技术领域,包括不锈钢材料粉末、三元硼化物原材料合金粉末和少量成型剂,且三元硼化物原材料合金粉末由质量比如下的各组分制备而成:5~20wt%的硼铁合金粉末、铬粉5~20wt%、钼粉10~30wt%、镍粉10~15wt%、铜粉1~5wt%、过渡金属碳化物1~5wt%、稀土氧化物0.5~3wt%和余量份的铁粉。本发明中,可灵活调节三元硼化物合金层与不锈钢基体合金的厚度,烧结后结合性好,三元硼化物合金层具有与不锈钢基材相当的耐腐蚀性,硬度高且可调整,耐磨性好,不锈钢基材可选范围广,制备成本低,操作简单。
[发明]
一种胎路三维力解算模型的建立与简化方法
申请号:
202110502051.4
状态:
审中-公开
申请日:
2021-05-08
申请人:
天津大学、武汉科技大学
发明人:
刘庆纲、周兴林、宋皓杰、王奇、魏旭明、郭昊
公开日:
代理机构:
主分类号:
G06F30/23(20200101)
我要购买
摘要:
一种胎路三维力解算模型的建立与简化方法,是用最小二乘多元非线性回归拟合结合线性内插的方法,建立胎路之间相互作用力与胎冠沿轮胎圆周任意点相对轮辋中心的位移之间的力‑位移解算模型,以力‑位移解算模型的准确度为指导,确定嵌入式位移传感器的最佳布置点位;所述力‑位移解算模型,是通过回归方程中各项参量贡献系数设定与检验,确定主导项,去掉非主导项,从而得到简化后的力‑位移解算模型。本发明在保证预测误差基本相同的前提下,提高了模型的计算效率。实现了胎路之间三维力的预测和计算。本发明提高了传感器安装位置的合理性,提出的传感器布局方法兼顾了测量性能与经济性。
[发明]
一种KR脱硫渣钢厂内部循环利用的方法
申请号:
202110514292.0
状态:
审中-公开
申请日:
2021-05-07
申请人:
武汉科技大学
发明人:
李建立、朱仁林、余岳、朱航宇、薛正良
公开日:
代理机构:
主分类号:
C21C1/02(2006.01)
我要购买
摘要:
本发明提供了一种KR脱硫渣钢厂内部循环利用的方法,通过将KR脱硫渣破碎后进行磁选,得到渣铁和尾渣;然后对尾渣进行高温氧化处理,得到含硫烟气和预熔渣;再对含硫烟气进行收集与处理,并将预熔渣作为造渣料用于转炉前期造渣,实现KR脱硫渣在钢厂内部的循环利用。通过上述方式,本发明能够将KR脱硫渣中的渣铁与难以被循环利用的尾渣有效分离,并通过对尾渣的高温氧化处理在充分脱硫的同时将尾渣中的铁氧化为铁氧化物,得到无硫且富含CaO和铁氧化物的预熔渣,进而利用CaO和铁氧化物之间的协同作用,将其作为造渣料用于转炉前期造渣,使铁氧化物促进石灰的快速溶解,在实现对KR脱硫渣综合利用的同时减轻转炉炼钢的造渣压力。
[发明]
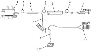
基于脉冲序列的距离速度同时测量方法及装置及存储介质
申请号:
202110490319.7
状态:
审中-公开
申请日:
2021-05-06
申请人:
武汉科技大学
发明人:
毛雪松、周亚琪、雷闰龙、黄少伟
公开日:
代理机构:
主分类号:
G01S17/58(20060101)
我要购买
摘要:
本发明提供一种基于脉冲序列的距离速度同时测量方法及装置及存储介质。该测量方法包括以下步骤:发射连续激光并分光为两路,一路输入调制器,另一路输入光衰减器;对输入调制器的激光信号作幅度调制,调制为位置随机的脉冲序列;将调制后的激光信号进行放大,再经准直后作为发射信号发射到激光雷达的扫描装置以投射到待测目标,产生回波信号;对输入光衰减器的激光信号作光衰减,将衰减后的信号作为参考信号;接收并耦合回波信号,并与参考信号一起送入合波器进行混频;将混频后信号进行光电转换输出电信号;对输出电信号作数据累加计算,分析得出待测目标的距离;对输出电信号作非等间隔采样信号频谱计算,分析得出待测目标的运动速度。
[发明]
一种表面缺陷检测方法及装置
申请号:
202110489417.9
状态:
审中-公开
申请日:
2021-05-06
申请人:
武汉科技大学
发明人:
汤勃、李玉、林中康、李锦达、孙伟、孔建益、戴超凡
公开日:
代理机构:
主分类号:
G06T7/00(20170101)
我要购买
摘要:
本申请涉及图像处理技术领域,以及提供一种表面缺陷检测方法及装置;该方法首先对待检测的表面缺陷图像的各底层特征进行提取得到各特征图像金字塔,根据中心周边差机制确定各特征图像金字塔对应的各特征图,将各特征图进行归一化处理,并将同一类型的特征图进行相加得到各特征显著图,以各特征显著图所具有的能量比例为权重融合各特征显著图得到合成显著图,然后对表面缺陷图像的高层特征进行提取、融合和采样操作得到高层显著图,最后以合成显著图所具有的能量比例以及高层显著图所具有的能量比例为权重,融合合成显著图和高层显著图得到总显著图,再根据总显著图确定表面缺陷图像的缺陷种类和缺陷位置。本申请提高了表面缺陷检测的识别精度。
[实用新型]
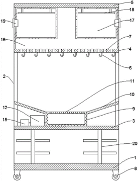
一种全天候晾衣装置
申请号:
202120946085.8
状态:
有权
申请日:
2021-05-06
申请人:
武汉科技大学
发明人:
欧阳文慧、杨纤婷、李冠男、周传辉
公开日:
代理机构:
主分类号:
D06F58/00(2020.01)
我要购买
摘要:
本实用新型公开了一种全天候晾衣装置,包括底板、支架、第一隔板、第二隔板、顶板、滴水收集处理机构和热风机构,所述支架竖直设置在所述底板上,所述底板上间隔设有多个鞋架,所述第一隔板通过所述支架水平设置在所述底板和鞋架上方,所述滴水收集处理机构设置在所述第一隔板上,所述第二隔板通过所述支架水平设置在所述第一隔板上方,所述第二隔板下端间隔设有多个用于挂晾衣架的挂钩,所述滴水收集处理机构设置在所述第一隔板上,所述第二隔板上间隔分布有多个透气孔,所述热风机构设置在所述第二隔板上端,所述顶板通过所述支架水平设置在所述热风机构上方。本实用新型针对现有的晾衣架的缺点,提供一种可以全天候进行晾衣的晾衣装置。
首页
上一页
31
32
33
34
35
36
37
38
39
40
下一页
尾页
当前共找到
8115
个专利记录
,当前显示页码
32/406