首页
专利查询
专利购买
专利转让
专利申请
15071489439
当前位置:
专利巴士
专利查询
专利名称
查询
高级查询
当前共找到
8115
个专利记录
,当前显示页码
41/406
专利名称
申请号
申请人
发明人
专利代办机构
[实用新型]
一种烟气脱硝测量与控制系统
申请号:
202120228776.4
状态:
有权
申请日:
2021-01-27
申请人:
内蒙古包钢和发稀土有限公司、武汉科技大学
发明人:
赵智承、周志辉、赵宇驰、周建国、郝晓燕
公开日:
代理机构:
主分类号:
B01D53/30(2006.01)
我要购买
摘要:
本实用新型公开了一种烟气脱硝测量与控制系统,包括第一混合器,所述第一混合器的一侧连通有第二管体,所述第二管体的一端连通有喷氨分布器,所述喷氨分布器的出气口连通有第二混合器;通过关闭第五管体外侧壁的第二电磁阀,打开第十管体外侧壁连通的第二电磁阀,在引风机的作用下,使得第二混合器的混合气体直接进入烟气检测仪,对反应前的氮氧化物浓度进行分析,从而把反应前与反应后的氮氧化物浓度进行对比分析,从而计算脱硝效率,经烟气检测仪检测符合国家排放标准后,经第九管体进入到碱溶液容器对未完全转化的氮氧化物进行吸收后排放大大气中,避免了大气受到污染,从而提高了本系统的实用性。
[实用新型]
一种烟气脱硝反应器
申请号:
202120240415.1
状态:
有权
申请日:
2021-01-27
申请人:
内蒙古包钢和发稀土有限公司、武汉科技大学
发明人:
赵智承、赵宇驰、周建国、郝晓燕
公开日:
代理机构:
主分类号:
B01D53/86(2006.01)
我要购买
摘要:
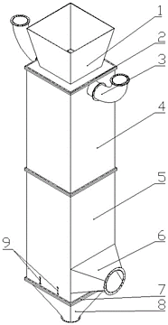
本实用新型提供一种烟气脱硝反应器,包括由不锈钢制成的反应器壳体,反应器壳体包括:顶部封头罩,其设在反应器壳体的顶部,在顶部封头罩上设有进气管道;预热段壳体,其位于反应器壳体腔室的上部,预热段壳体内为预热腔,预热腔内自上而下设置有第一气体分布器和预热结构,预热结构由纵向设置的第一耐火砖砌成,第一耐火砖内埋设有第一电加热丝,相邻第一耐火砖之间有纵向的气流间隙;脱硝段壳体,其位于反应器壳体腔室的下部,脱硝段壳体内为脱硝腔,脱硝腔内自上而下设有第二气体分布器和催化剂载体层;底部封头罩,其设在反应器壳体的底部,在底部封头罩上设有出气管道。控制器,其与第一电加热丝线路连接。本实用新型结构简单、实用性强。
[发明]
一种敲除PD1的靶向LMP1的CAR-T细胞的制备方法和应用
申请号:
202110101793.6
状态:
审中-公开
申请日:
2021-01-26
申请人:
武汉科技大学
发明人:
廖兴华、王君、张慧敏、项园、李佳蓬、李慧、张同存
公开日:
代理机构:
主分类号:
C12N5/10(20060101)
我要购买
摘要:
一种敲除PD1的靶向LMP1的CAR‑T细胞的制备方法,包括如下步骤:S1,构建PD1基因sgRNA质粒pGL3‑U6‑hPD1‑sgRNA和LMP1‑CAR细胞质粒LMP1‑CAR PiggyBac Transposon,将pGL3‑U6‑hPD1‑sgRNA和LMP1‑CAR PiggyBac Transposon质粒与电转缓冲液混合,制得电转混合液,并用电转混合液转染PBMC细胞,得到转染后的PBMC细胞;S2,将转染后的PBMC细胞转入T细胞培养基,用磁珠激活CD3阳性T细胞,并培养扩增转染后的PBMC细胞,获得敲除PD1的LMP1‑CAR‑T细胞。本发明采用靶向LMP1的CAR‑T细胞联合敲除PD1的联合治疗,对患者的T细胞进行PD1敲除,纠正免疫逃逸,恢复患者的免疫功能,增强CAR‑T细胞攻击淋巴瘤的效应。在制备EVB淋巴瘤诊断试剂或治疗药物中的应用具有重要的临床意义。
[实用新型]
一种神经内科患者护理喂药器
申请号:
202120214447.4
状态:
有权
申请日:
2021-01-26
申请人:
武汉科技大学附属天佑医院
发明人:
陈秋霞、何芳、肖艳玲、罗志峰
公开日:
代理机构:
主分类号:
A61J7/00(2006.01)
我要购买
摘要:
本实用新型公开了一种神经内科患者护理喂药器,包括扩张器、转动地设置在扩张器上的下压板、设置在扩张器上的喂药装置;本实用新型中该装置由扩张器、下压板和喂药装置组成,而扩张器具体起到的是将上下颚扩张开,进而方便喂药,减少了浪费,降低了医护人员的工作量,在一定程度上,降低了患者用药的不适感,而下压板起到的是将舌头向下压,进而将喉咙展开,确保顺利的将药送入口中,而喂药装置由照明灯和喂药勺组成,能够方便医护人员喂药,止了呛药情况的发生,喂药装置能够起到较好的调节喂药方向的作用,扩张器能够起到支撑作用。
[发明]
一种碳纤维增强热固性树脂基复合材料及其制备方法
申请号:
202110102767.5
状态:
审中-实审
申请日:
2021-01-26
申请人:
武汉科技大学
发明人:
董志军、田红、李轩科、袁观明、丛野、朱辉、李保六、张江
公开日:
代理机构:
主分类号:
C08J5/04(20060101)
我要购买
摘要:
本发明公开了一种碳纤维增强热固性树脂基复合材料及其制备方法,属于先进复合材料技术领域。本发明的制备方法为先将基体树脂、低收缩剂、固化剂、阻聚剂、内脱模剂、增稠剂、分散助剂按照质量比取样搅拌混合均匀制得树脂糊;将树脂糊、碳纤维无纺布经片状模塑料工艺制备成片状碳纤维预浸料;将片状碳纤维预浸料平铺叠加,真空热压,合模压型;真空热压合模压型结束,冷却脱模,即得碳纤维增强热固性树脂基复合材料。本发明具有工艺简单、生产周期短、能耗低、强度与模量可设计、易大面积成型且可满足形状与结构复杂的制品成型要求等特点,所制备的复合材料具有强度高、模量高、质量轻、呈各向同性等优异性能。
[实用新型]
一种铁矿粉无碳烧结系统
申请号:
202120212221.0
状态:
有权
申请日:
2021-01-26
申请人:
武汉科技大学
发明人:
陈铁军、万军营、周仙霖、罗艳红、刘佳文、胡梦杰、郑锡瀚
公开日:
代理机构:
主分类号:
C22B1/16(2006.01)
我要购买
摘要:
本实用新型属于铁矿烧结及节能减排技术领域,具体涉及一种铁矿粉无碳烧结系统,该系统包括依次设置的:对原料进行分级,并对各级原料分别配料的分级配料装置;对分级配料装置得到的各级配料进行混料的混料装置;对混料装置得到的混料进行烧结的带式烧结装置,所述带式烧结装置在进料端设置有布料装置和铺底料装置,所述布料装置具有铺边料溜槽;以及对所述带式烧结装置得到的烧结料进行破碎的破碎装置。本实用新型将烧结混合料干燥、预热、烧结、冷却工序整合到带式机上,带式机采用台车两侧烧嘴喷吹气体燃料供热,干燥、预热和烧结温度易于控制,整个烧结系统热风循环利用,热能利用率高,节约能源。
[实用新型]
一种用于紫外可见分光光度计的小尺寸薄膜试样载物台
申请号:
202120206581.X
状态:
有权
申请日:
2021-01-26
申请人:
武汉科技大学
发明人:
刘宏玉、贺臣、陈扬、党新志、张仁刚、王子璇、刘傲敏
公开日:
代理机构:
主分类号:
G01N21/31(2006.01)
我要购买
摘要:
本实用新型提出了一种用于紫外可见分光光度计的小尺寸薄膜试样载物台,包括载玻片,所述载玻片上粘贴有双面胶,所述双面胶的另一面粘贴有玻璃基底,所述玻璃基底的另一面镀有薄膜试样,所述载玻片在玻璃基底之外区域粘贴遮光胶带。所述载玻片的尺寸与紫外可见分光光度计的液体样品槽的尺寸相匹配。本实用新型利用仪器自带的样品槽就可测试≤10 mm×10 mm的小尺寸薄膜样品的透射谱,简单、灵活、易行。
[发明]
一种高频分时曝光光源控制器
申请号:
202110095980.8
状态:
审中-实审
申请日:
2021-01-25
申请人:
武汉科技大学
发明人:
陈则河、方智慧、徐山、王佳君、伍世虔
公开日:
代理机构:
主分类号:
G03F7/20(20060101)
我要购买
摘要:
本发明涉及光源控制技术领域,具体涉及一种高频分时曝光光源控制器,包括外部输入电源、外部触发信号、上位机和主控模块,还包括与主控模块连接的外部控制信号触发模块、LED灯光源驱动输出模块、多级稳压电源模块、按键模块、电流电压显示模块、温度传感器、网口通信模块、数据通信模块和反馈散热模块。该控制器应用于工业生产中机器视觉系统,可根据视觉系统要求控制多盏LED灯的亮度和通断,还可通过外部触发或者上位机内部信号来实时切换多盏不同的LED灯高频分时曝光。具有高响应速度,高稳定性和高调节精度的优点。演可以根据视觉系统要求切换不同的控制方式以及LED灯光源路数,实现线阵相机同时在多种不同光源环境下的图像采集。
[发明]
一种高取向层状石墨烯气凝胶相变复合材料及其制备方法
申请号:
202110095982.7
状态:
审中-公开
申请日:
2021-01-25
申请人:
武汉科技大学
发明人:
董志军、董倩雯、李轩科、袁观明、丛野、朱辉、李保六、张江
公开日:
代理机构:
主分类号:
C09K5/06(20060101)
我要购买
摘要:
本发明公开了一种高取向层状石墨烯气凝胶相变复合材料及其制备方法,属于相变储能领域。具体包括以下步骤:氧化石墨烯悬浮液采用分段加热的方式水热反应得到还原石墨烯水凝胶;预冻处理;真空冷冻干燥,得到层状气凝胶材料;高温碳化或石墨化处理;通过真空浸渍与相变材料复合。本发明制备的石墨烯气凝胶能够多次回弹、不易碎;本发明所制备的高取向层状石墨烯气凝胶相变复合材料,具有优良的定向导热性能和高储能特性和良好的防泄漏性能,在相变储能领域具有广阔的应用前景。
[实用新型]
一种立式加热炉炉口密封装置
申请号:
202120200897.8
状态:
有权
申请日:
2021-01-25
申请人:
武汉科技大学
发明人:
朱航宇、王伟胜、李建立、余岳、宋明明、薛正良
公开日:
代理机构:
主分类号:
F27B1/10(2006.01)
我要购买
摘要:
本实用新型提供了一种立式加热炉炉口密封装置。该密封装置包括具有中空结构的密封装置本体、设置于密封装置本体内的集气圈以及进气管、出气管;进气管的一端与保护气体供应源相连通,另一端穿过密封装置本体的外壁与集气圈相连通;出气管的一端与集气圈相连通,另一端贯穿密封装置本体的内壁。将该密封装置置于立式加热炉的炉口上方,并由进气管通入保护气体,能够使保护气体经集气圈和出气管形成气体射流,该气体射流在装置内高速旋转,形成一层气幕墙,实现炉口外部和内部的隔绝,以保证加料和取样过程中钢液不受炉口附近区域空气污染,从而对炉内冶炼环境进行有效的保护,以提高钢液质量,并满足实验室研究的需求,具有较高的实际应用价值。
[发明]
一种城市地下联系通道防火卷帘门的开启方法
申请号:
202110089723.3
状态:
审中-实审
申请日:
2021-01-22
申请人:
武汉科技大学
发明人:
姜学鹏、荚旭东
公开日:
代理机构:
主分类号:
E06B9/68(20060101)
我要购买
摘要:
本发明属于地下通道技术领域,尤其为一种城市地下联系通道防火卷帘门的开启方法,包括控制按钮,所述控制按钮的输出端连接有信号收发单元,所述信号收发单元的输出端连接有中央处理器,所述中央处理器的输出端连接有信号收发单元。通过火灾识别单元上连接的火灾摄像头、烟雾报警器和温度传感器检测外界的情况,信号传递给火灾识别单元检测识别是否发生火灾,同时信号传递给火灾判断单元,更好的判断火灾发生的情况,同时信号再次传递至中央处理器,同时中央处理器把火灾发生的信号传给至微处理器,微处理器把信号传递至报警单元,通过报警单元上的警报响铃把火灾信号传递至外界,使外界人员知晓发生火灾。
[实用新型]
一种多边形组合拼接电脑桌
申请号:
202120187059.1
状态:
有权
申请日:
2021-01-22
申请人:
武汉科技大学
发明人:
王哲、石秀华、王小玲、王师
公开日:
代理机构:
主分类号:
A47B21/00(2006.01)
我要购买
摘要:
本实用新型提供一种多边形组合拼接电脑桌,涉及生活用品技术领域,包括六角桌,所述六角桌表面均设有限位槽,且限位槽为盲槽,所述六角桌表面设有拼接桌,所述限位槽内设有限位凸起,且限位凸起嵌合于限位槽内,且限位凸起于限位槽榫接,且限位凸起与拼接桌表面固定,所述拼接桌顶面均阵列开设有安装槽,所述安装槽内设有显示屏,且显示屏嵌合于安装槽内,所述安装槽顶面固定有玻璃,所述拼接桌下方设有主机,且主机与显示屏电性连接,所述拼接桌正下方均阵列设有抽拉平台,采用拼接桌和显示屏,实现了改变传统的电脑桌一体的形状,可将设备进行拼接安装,增加了设备的功能性,同时用于较多人数和教学的形式,增加了设备的使用面积。
[发明]
一种横通道及平导铁路隧道实验装置
申请号:
202110093516.5
状态:
审中-实审
申请日:
2021-01-22
申请人:
武汉科技大学
发明人:
姜学鹏、李超
公开日:
代理机构:
主分类号:
G09B25/00(20060101)
我要购买
摘要:
本发明属于铁路隧道火灾安全技术领域,尤其为一种横通道及平导铁路隧道实验装置,包括地面,所述地面的顶部设置有支撑件,所述支撑件的顶部设置有轨道,所述地面的顶部设置有隧道,所述隧道的顶部设置有照明灯,所述隧道的一侧设置有横通道,所述横通道的顶部摄像头。通过变频风机的使用,可以实时地调节风量的大小,从而实现了在实验中对风量和速度场均匀分布的有效控制,达到精确实验的效果,通过摄像头可随时对实验隧道内的情况进行观察,实时监控实验的进展,通过两个风机共同的开启,当烟尘比较多时可很快的对通道内的烟尘进行驱散,保障人身的安全,通过反光条与照明灯的配合使用在实验中更快速的找到横通道入口。
[发明]
建筑工地移动水桶
申请号:
202110078894.6
状态:
审中-公开
申请日:
2021-01-21
申请人:
武汉科技大学
发明人:
张庭、金清平
公开日:
代理机构:
主分类号:
B65D25/24(20060101)
我要购买
摘要:
本发明公开了一种建筑工地移动水桶,涉及土木工程设备领域,该建筑工地移动水桶包括水桶本体,水桶本体的螺纹管配有桶盖,水桶本体两侧设有两提手,水桶本体设有两套管,两套管内均安装有支撑杆,两支撑杆均设有底座板,两底座板均分别安装有两万向轮。该建筑工地移动水桶安装有可以自由收放的万向轮,移动起来方便平稳,灵活性强,亦可稳定地摆放在地面上,使用起来非常方便。
[发明]
一种大型体育场馆悬挑雨棚抗震性检测装置
申请号:
202110080995.7
状态:
审中-公开
申请日:
2021-01-21
申请人:
武汉科技大学
发明人:
刘晓东
公开日:
代理机构:
主分类号:
G01M7/02(20060101)
我要购买
摘要:
本发明公开了一种大型体育场馆悬挑雨棚抗震性检测装置,包括支撑底座、雨棚钢结构架、第一吸附式感应器和连接弹簧,所述支撑底座的上端固定连接有伺服电机,所述伺服电机的端部连接有转动凸轮,所述转动凸轮的上端设有摆动底座,且摆动底座的上端连接有左侧固定架,所述左侧固定架通过连接螺栓与雨棚钢结构架连接,所述雨棚钢结构架的上部设有第一吸附式感应器和第二吸附式感应器,所述雨棚钢结构架的另一端通过连接螺栓与右侧固定架连接,所述右侧固定架的下端设有连接弹簧,本发明利用振动电机和伺服电机可以增大雨棚钢结构架的振动幅度,同时便于将雨棚钢结构架的振动由弱到强进行调节,能够更加准确地检测钢结构的抗震性。
[发明]
一种建筑结构健康监测系统
申请号:
202110078347.8
状态:
审中-公开
申请日:
2021-01-21
申请人:
武汉科技大学
发明人:
冯田子
公开日:
代理机构:
主分类号:
G01D21/02(20060101)
我要购买
摘要:
本发明公开了一种建筑结构健康监测系统,包括一级传感器、二级传感器、数据预处理模块、结构损伤探测模块和健康监测管理模块,所述一级传感器和二级传感器通过导线与信号数据采集模块连接,所述信号数据采集模块另一侧与数据预处理模块相连接,所述数据预处理模块与信号数据传输连接,且信号数据传输通过数据传输线与检测判断和安全评估模块连接,所述安全评估模块通过建筑健康修正与信号数据采集模块相连接,所述安全评估模块通过结构损伤探测模块与警报模块相连接,本发明利用一级传感器和二级传感器可以完成对建筑结构各种物理状态的测量,能够实时监测结构载荷变化以及所处环境变化,有效地保证监测数据的稳健性和可靠性。
[发明]
运动载体上射流装置打击目标的方法
申请号:
202110082129.1
状态:
审中-实审
申请日:
2021-01-21
申请人:
武汉科技大学
发明人:
何浩玮、林云汉、陈姚节
公开日:
代理机构:
主分类号:
F41B9/00(20060101)
我要购买
摘要:
本发明提供一种运动载体上射流装置打击目标的方法,该方法包括:根据射流装置上相机拍摄到的目标图片,获取目标的实时位置;根据目标的实时位置,获取所述射流装置中射流本体的电机的初始旋转角度;根据射流装置中三轴陀螺仪监测到的运动载体的运动状态、三轴陀螺仪的初始值、三轴陀螺仪的坐标变换矩阵,获取电机的补偿角度;根据电机的初始旋转角度和电机的补偿角度,获取电机的最终旋转角度,以使得根据最终旋转角度,控制射流本体对目标进行打击。本发明通过相机和陀螺仪两个方面对射流装置进行控制补偿,保证了射流平稳射出,提高了击打目标的准确性。
[发明]
工业机器人铣削过程中的关节刚度辨识方法
申请号:
202110078188.1
状态:
审中-公开
申请日:
2021-01-20
申请人:
武汉科技大学
发明人:
段现银、张灿、张樵、朱泽润、彭芳瑜、李澜涛、杨家瑜
公开日:
代理机构:
主分类号:
B25J9/16(20060101)
我要购买
摘要:
本发明涉及一种工业机器人铣削过程中的关节刚度辨识方法。本发明通过测量机器人在加工过程中的形变、力矩、平移和受力等参数,利用矩阵变换和相应算法,可以准确辨识出工业机器人在铣削运动状态下的关节刚度。一般传统的关节刚度辨识方法中均基于激光跟踪仪和六维力传感器,仅可测量机器人静止状态下其末端挂负载后的变形与作用力。然而在工业机器人铣削过程中,机器人姿态、铣削力和末端变形时刻发生变化,与机器人保持某固定姿态下末端负载和变形的情况不相同,并且该传统方法不能测得机器人运动状态下其末端变形和周期变化的铣削力。
[发明]
基于深度学习的睑板腺量化分析及其在MGD诊疗中的应用
申请号:
202110073495.0
状态:
审中-公开
申请日:
2021-01-20
申请人:
武汉爱尔眼科医院有限公司、武汉科技大学
发明人:
张莹、刘小明、王烁、王漫、王姗、吴国欢
公开日:
代理机构:
主分类号:
G16H50/20(20180101)
我要购买
摘要:
本发明公开了基于深度学习的睑板腺量化分析及其在MGD诊疗中的应用,本发明应用深度学习量化分析睑板腺形态,为MGD的诊疗提供客观可靠的量化指标,从而实现睑板腺功能障碍的自动诊断,避免了手动分析图片的繁琐及人为因素的干扰,提高了结果的客观性;睑板腺分割可以显示多种睑板腺的形态变化,治疗前可见睑板腺有缩短、迂曲、扩张和缺失,通过睑板腺按摩或强脉冲等物理治疗后睑板腺形态变化可通过临床指标计算客观地得出具体数据变化情况,本发明可以为MGD治疗的效果提供更客观精确的评估手段。本发明具有诊断准确率和效率高,量化评估指标的优点。
[发明]
一种用于高温粉料冷却的方柱形竖式冷却装置及方法
申请号:
202110075952.X
状态:
审中-实审
申请日:
2021-01-20
申请人:
武汉科技大学
发明人:
彭志坚、陈铁军、刘露露
公开日:
代理机构:
主分类号:
F27D15/02(20060101)
我要购买
摘要:
本发明属于冷却设备技术领域,具体涉及一种用于高温粉料冷却的方柱形竖式冷却装置及方法。该装置包括:四方柱形的管状的主壳体,主壳体具有上盖板和下盖板;竖向设置在主壳体内的若干长方形的空心板状结构的冷却板,各冷却板上下开口,并形成料流冷却通道,相邻的两块冷却板之间形成巷道形空腔风道,上盖板设置有若干长条形的进料口,下盖板设置有若干长条形的出料口;锥形集料槽、热废气排出管、进风口和集料排矿槽。本发明通过在空心板内形成料流冷却通道、在相邻的两块冷却板之间形成巷道形空腔风道,高温粉料不会直接与冷却气流接触,尤其适合于以湿风作为冷却风,适用于高温粉料的冷却,设备结构简单,维修量小,环境友好。
首页
上一页
41
42
43
44
45
46
47
48
49
50
下一页
尾页
当前共找到
8115
个专利记录
,当前显示页码
41/406