首页
专利查询
专利购买
专利转让
专利申请
15071489439
当前位置:
专利巴士
专利查询
专利名称
查询
高级查询
当前共找到
8115
个专利记录
,当前显示页码
43/406
专利名称
申请号
申请人
发明人
专利代办机构
[实用新型]
一种医疗护理用医疗器械转运车
申请号:
202120057158.8
状态:
有权
申请日:
2021-01-11
申请人:
武汉科技大学城市学院
发明人:
程蕾
公开日:
代理机构:
主分类号:
B62B3/00(2006.01)
我要购买
摘要:
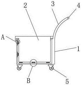
本实用新型公开了一种医疗护理用医疗器械转运车,包括装置本体,所述装置本体的内腔设置有内箱,装置本体的顶部右侧前后两端固定连接有支撑杆,支撑杆远离装置本体的一端固定连接有推杆,装置本体的底部四周固定连接有万向轮,装置本体内腔的底部固定连接有第一固定块,内箱的底部固定连接有第一限位块。该医疗护理用医疗器械转运车,通过设置的支撑杆与推杆、万向轮的配合,可以方便对装置本体进行移动,通过设置的第一限位槽、第一弹簧、第一限位块与第一固定块的配合,可以减少内箱在装置本体的内部上下晃动,起到上下减震的作用,保护内箱内的医疗器械不会上下晃动,出现混乱。
[实用新型]
一种转体落料式的烧结矿转运站装置
申请号:
202120062139.4
状态:
有权
申请日:
2021-01-11
申请人:
武汉科技大学
发明人:
王晓港、幸福堂、石癸鑫、黄悦
公开日:
代理机构:
主分类号:
B65G47/16(2006.01)
我要购买
摘要:
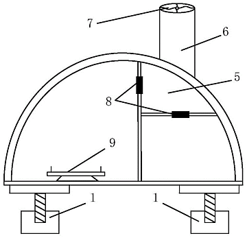
本实用新型涉及一种转体落料式的烧结矿转运站装置,包括运输系统、传动系统、除尘系统,所述的运输系统由上下层输送带、螺旋滑梯、装料斗、固定支架组成。传动系统由转动轴、传动轴、传动齿轮、飞轮、传动皮带、电动机组成。除尘系统由密闭罩、排风罩等除尘设备构成。螺旋滑梯为转运站落料的关键部件,由固定架固定在密闭罩上,其内部的转动轴与传动轴通过传动齿轮连接。传动轴末端的飞轮与电动机通过传动皮带连接。排料漏斗固定在螺旋滑梯正下方的落料口处的密闭罩上。本实用新型可以为转运站在落料时消除重力场因素对物料下落运动的影响,避免了下落颗粒流发生扩散运动,极大地减少了诱导风量和粉尘的产生,从而更加的节能环保。
[发明]
靶向CD30和CD24的双靶点CAR-T细胞的构建方法及应用
申请号:
202110027546.6
状态:
审中-实审
申请日:
2021-01-10
申请人:
武汉科技大学
发明人:
廖兴华、王君、王运丹、项园、张慧敏、李慧、李佳蓬、张晓宇、徐瑶、张同存
公开日:
代理机构:
主分类号:
C12N5/10(20060101)
我要购买
摘要:
本发明提出了靶向CD30和CD24的双靶点CAR‑T细胞的制备及其应用,CAR‑T细胞嵌合抗原受体包括抗CD30单链抗体、抗CD24单链抗体、铰链区、跨膜区、胞内区。双靶点CAR‑T可以很好地解决单CAR‑T的脱靶效应,且不会大程度地加重细胞因子释放综合征,获得更好的杀瘤效果。
[发明]
氮化硅晶须增强的刚玉多孔陶瓷过滤器及其制备方法
申请号:
202110025202.1
状态:
审中-实审
申请日:
2021-01-08
申请人:
武汉科技大学
发明人:
鄢文、刘莹、支瑾娜、陈茜琳、梁雄、李亚伟
公开日:
代理机构:
主分类号:
C04B38/08(20060101)
我要购买
摘要:
本发明涉及一种氮化硅晶须增强的刚玉多孔陶瓷过滤器及其制备方法。其技术方案是:将改性多孔刚玉陶瓷细粉、单质硅粉和α‑Al
2
O
3
微粉混合,外加羧甲基纤维素钠、减水剂、消泡剂、铝溶胶和去离子水,搅拌,得到具有触变性的陶瓷浆体(简称陶瓷浆体);将预处理聚氨酯泡沫模板浸入陶瓷浆体中,去除多余浆体,养护,干燥,高温炉内于1200~1300℃预烧,得到氮化硅晶须增强的刚玉多孔陶瓷过滤器预烧体;然后浸渍于陶瓷浆体中,真空保压,离心处理,自然干燥和升温干燥,高温炉内于1350~1450℃烧成,制得氮化硅晶须增强的刚玉多孔陶瓷过滤器。本发明所制制品强度高、热震稳定性好、净化能力强和过滤效果高,适用于铝及其合金熔体和高品质钢液的净化。
[发明]
氮化硅晶须增强的镁铝尖晶石透气耐火材料及其制备方法
申请号:
202110025228.6
状态:
审中-实审
申请日:
2021-01-08
申请人:
武汉科技大学
发明人:
鄢文、吴晗、周文英、陈哲、李亚伟、李楠
公开日:
代理机构:
主分类号:
C04B38/08(20060101)
我要购买
摘要:
本发明涉及一种氮化硅晶须增强的镁铝尖晶石透气耐火材料及其制备方法。其技术方案是:以15~21wt%、30~39wt%和17~24wt%的改性球形多孔镁铝尖晶石陶瓷颗粒I、II和III为骨料,以2~4wt%的镁砂细粉、3~6wt%的刚玉细粉、3~8wt%的单质硅粉和8~20wt%的尖晶石细粉为基质。先将骨料置于搅拌器内搅拌,外加骨料和基质之和0.1~0.5wt%的催化剂,搅拌,再外加骨料和基质之和3~7wt%的亚硫酸纸浆废液,搅拌。然后加入基质,搅拌,成型,干燥,在N
2
气氛和1400~1600℃条件下保温,冷却,制得氮化硅晶须增强的镁铝尖晶石透气耐火材料。本发明资源利用率高和显微结构可控,所制制品透气均匀稳定、强度高、抗侵蚀性能优良和热震稳定性能优异。
[发明]
氮化硅增强的多孔尖晶石-碳陶瓷过滤器及其制备方法
申请号:
202110023635.3
状态:
审中-实审
申请日:
2021-01-08
申请人:
武汉科技大学
发明人:
鄢文、鄢俊杰、梁雄、李亚伟、李楠
公开日:
代理机构:
主分类号:
C04B38/06(20060101)
我要购买
摘要:
本发明涉及一种氮化硅增强的多孔尖晶石‑碳陶瓷过滤器及其制备方法。其技术方案是:以改性多孔尖晶石陶瓷细粉、改性煤焦油沥青细粉、单质硅粉和羧甲基纤维素钠为原料,混合,加入铝溶胶、减水剂、消泡剂和去离子水,搅拌,得到具有触变性的陶瓷浆体(简称陶瓷浆体)。将预处理聚氨酯泡沫浸入陶瓷浆体中,取出后去除多余的陶瓷浆体,养护,干燥,在N
2
气氛中,升温至1150~1250℃,保温。将得到的多孔尖晶石‑碳陶瓷过滤器预烧体浸渍于陶瓷浆体中,真空静置,离心处理,干燥;在N
2
气氛中,升温至500~600℃,保温,再升温至1350~1450℃,保温,制得氮化硅增强的多孔尖晶石‑碳陶瓷过滤器。本发明所制制品强度高、热震稳定性好和过滤效率优异。
[发明]
复合增强的多孔尖晶石-刚玉-碳陶瓷过滤器及其制备方法
申请号:
202110025247.9
状态:
审中-实审
申请日:
2021-01-08
申请人:
武汉科技大学
发明人:
鄢文、鄢俊杰、梁雄、李亚伟、李楠
公开日:
代理机构:
主分类号:
C04B38/08(20060101)
我要购买
摘要:
本发明涉及一种复合增强的多孔尖晶石‑刚玉‑碳陶瓷过滤器及其制备方法。其技术方案是:以81~90wt%的改性多孔尖晶石‑刚玉陶瓷细粉、3~6wt%的改性煤焦油沥青粉、0.6~3wt%的单质硅粉和5~10wt%的刚玉微粉为原料,将原料和占原料0.3~1.5wt%的减水剂搅拌,得到混合料;再外加占原料0.6~3wt%的流变剂、3.5~7wt%的硅溶胶、0.1~0.35wt%的消泡剂和25~42wt%的去离子水,搅拌,得到混合溶液;将混合料和混合溶液搅拌,得到浆体;将碳化硅预形体完全浸入到浆体中,离心,干燥,在埋碳条件和1330~1480℃下保温,冷却,制得复合增强的多孔尖晶石‑刚玉‑碳陶瓷过滤器。本发明所制制品力学性能优异、热震稳定性好、使用寿命长和过滤效果优良。
[发明]
碳化硅晶须增强的多孔氧化镁-碳陶瓷过滤器及其制备方法
申请号:
202110025203.6
状态:
审中-公开
申请日:
2021-01-08
申请人:
武汉科技大学
发明人:
鄢文、彭望定、鄢俊杰、陈哲、梁雄、李光强
公开日:
代理机构:
主分类号:
C04B35/80(20060101)
我要购买
摘要:
本发明涉及一种碳化硅晶须增强的多孔氧化镁‑碳陶瓷过滤器及其制备方法。其技术方案是:以改性多孔镁质细粉、改性煤焦油沥青粉、单质硅粉和羧甲基纤维素钠为原料,加入减水剂、消泡剂、铝溶胶和去离子水,搅拌,得到具有触变性的陶瓷浆体。将预处理聚氨酯泡沫浸入具有触变性的陶瓷浆体中,取出后挤压,养护,干燥,在埋碳和1150~1250℃条件下保温,冷却;将冷却后的多孔氧化镁‑碳陶瓷过滤器预烧体浸渍于具有触变性的陶瓷浆体中,真空静置,离心处理,干燥,埋碳条件下于1400~1500℃保温,冷却,制得碳化硅晶须增强的多孔氧化镁‑碳陶瓷过滤器。本发明所制制品过滤效果优异、强度高和热震稳定性好。
[发明]
碳化硅晶须增强多孔方镁石-尖晶石-碳过滤器及其制备方法
申请号:
202110023652.7
状态:
审中-实审
申请日:
2021-01-08
申请人:
武汉科技大学
发明人:
鄢文、高仲钰、陈哲、王强、刘昱、李光强
公开日:
代理机构:
主分类号:
C04B38/06(20060101)
我要购买
摘要:
本发明涉及一种碳化硅晶须增强多孔方镁石‑尖晶石‑碳过滤器及其制备方法。其技术方案是:将微纳米孔径的多孔方镁石‑尖晶石陶瓷细粉于真空装置中与改性溶液混合,干燥;干燥后得到的改性多孔方镁石‑尖晶石陶瓷细粉和单质硅粉、改性煤焦油沥青粉、减水剂、流变剂、铝溶胶、消泡剂和去离子水混合,搅拌,得到浆体。将碳化硅预形体浸入到浆体中,静置,离心处理,得到陶瓷素坯;将陶瓷素坯干燥,在埋碳条件下,升温至1350~1450℃,保温,冷却,制得碳化硅晶须增强多孔方镁石‑尖晶石‑碳过滤器。本发明制备的碳化硅晶须增强多孔方镁石‑尖晶石‑碳过滤器的强度高、热震稳定性优良、使用寿命长和钢液净化效果好;适用于超洁净钢液过滤。
[发明]
一种SiC晶须增强的刚玉透气耐火材料及其制备方法
申请号:
202110023671.X
状态:
审中-实审
申请日:
2021-01-08
申请人:
武汉科技大学
发明人:
鄢文、陈茜琳、吴晗、陈俊峰、魏耀武、韩兵强
公开日:
代理机构:
主分类号:
C04B35/103(20060101)
我要购买
摘要:
本发明涉及一种SiC晶须增强的刚玉透气耐火材料及其制备方法。其技术方案是:以15~20wt%的改性球形多孔刚玉颗粒I、31~39wt%的改性球形多孔刚玉颗粒II和17~25wt%的改性球形多孔刚玉颗粒III为骨料,以2~4wt%的镁砂细粉、10~22wt%的刚玉细粉、3~6wt%的α‑Al
2
O
3
细粉和2~5wt%的单质硅粉为基质;先将骨料置于搅拌器内混匀,外加骨料和基质之和3~7wt%的亚硫酸纸浆废液,混匀,再加入基质,搅拌,成型,干燥,在埋碳条件下升温至1300~1500℃,保温,冷却,制得SiC晶须增强的刚玉透气耐火材料。本发明所制制品透气均匀、强度高、使用寿命长、抗热震性优异和钢液夹杂物去除效率高。
[发明]
一种SiC晶须增强的镁铝尖晶石透气耐火材料及其制备方法
申请号:
202110025263.8
状态:
审中-实审
申请日:
2021-01-08
申请人:
武汉科技大学
发明人:
鄢文、吴晗、陈哲、梁雄、李亚伟、李远兵、李楠
公开日:
代理机构:
主分类号:
C04B38/08(20060101)
我要购买
摘要:
本发明涉及一种SiC晶须增强的镁铝尖晶石透气耐火材料及其制备方法。其技术方案是:以13~19wt%、32~41wt%和19~25wt%的粒径依次为4.5±0.3mm、1.8±0.3mm和0.7±0.2mm的改性球形多孔镁铝尖晶石陶瓷颗粒为骨料,以2~4wt%的镁砂细粉、3~6wt%的刚玉细粉、2~5wt%的单质硅粉和10~22wt%的尖晶石细粉为基质。先将骨料置于搅拌器内,搅拌,再外加骨料和基质之和3~7wt%的亚硫酸纸浆废液,搅拌,再加入基质,搅拌,成型,干燥,在埋碳条件下,于1300~1500℃保温,冷却,制得SiC晶须增强的镁铝尖晶石透气耐火材料。本发明具有资源利用率高和显微结构可控的特点,所制制品透气均匀稳定、强度高和热震稳定性能优异。
[发明]
一种采用复合式重点排烟的大断面隧道火灾试验平台
申请号:
202110024227.X
状态:
审中-公开
申请日:
2021-01-08
申请人:
中国市政工程中南设计研究总院有限公司、武汉科技大学
发明人:
张美聪、姜学鹏、何振华、张丽莎、王正阳、赵倩文、何小龙、张庆
公开日:
代理机构:
主分类号:
G01M99/00(20110101)
我要购买
摘要:
本发明公开了一种采用复合式重点排烟的大断面隧道火灾试验平台,包括隧道模型主体、纵向通风排烟系统、复合式重点排烟系统、火源燃烧模拟系统和测量记录系统,通过该试验平台可以实现对大断面隧道火灾在复合式重点排烟模式下的烟气控制效果进行模拟研究,方便测量记录烟气温度、成分和浓度,且便于观察烟气的流场特征,便于比较各种通风排烟模式的排烟效果,具有较高的准确度、可信度。
[发明]
一种氮化硅晶须增强镁碳多孔陶瓷过滤器及其制备方法
申请号:
202110023644.2
状态:
审中-实审
申请日:
2021-01-08
申请人:
武汉科技大学
发明人:
鄢文、宋金文、鄢俊杰、彭望定、王强、李光强
公开日:
代理机构:
主分类号:
C04B38/06(20060101)
我要购买
摘要:
本发明涉及一种氮化硅晶须增强镁碳多孔陶瓷过滤器及其制备方法。其技术方案是:先将改性多孔镁质细粉、改性煤焦油沥青细粉、单质硅粉和羧甲基纤维素钠混合,加入减水剂、消泡剂、铝溶胶和去离子水,搅拌,得到具有触变性的陶瓷浆体(以下简称陶瓷浆体)。将聚氨酯泡沫浸泡NaOH溶液中,洗涤,晾干;然后浸入陶瓷浆体中,去除多余的陶瓷浆体,养护,干燥,在N
2
气氛和1200~1300℃条件下保温,冷却;再浸渍于陶瓷浆体中,真空静置,离心处理,干燥,在N
2
气氛和1300~1400℃条件下保温,冷却,制得氮化硅晶须增强镁碳多孔陶瓷过滤器。本发明所制制品强度高、热震稳定性好和过滤效果优异,适用于钢液、镁熔体和镁合金熔体的净化。
[发明]
一种钢结构螺栓连接结构
申请号:
202110024117.3
状态:
审中-公开
申请日:
2021-01-08
申请人:
武汉科技大学
发明人:
来紫梦
公开日:
代理机构:
主分类号:
F16B39/28(20060101)
我要购买
摘要:
本发明公开了一种钢结构螺栓连接结构,包括钢结构、螺栓和卡紧机构,所述钢结构对应螺栓设置有螺孔,所述螺栓表面设置有螺丝纹,且螺丝纹的末端设置有卡槽,所述螺丝纹上设置有螺帽,所述螺帽内设置有卡紧机构,所述卡紧机构由限位槽、压缩弹簧、伸缩杆和卡块构成,所述钢结构与螺栓间的连接较为复杂,但其稳定性更强,能够承载更多的荷载,本发明的紧固性及稳定性强,并且对钢结构的截面削弱较小,同时能够防止螺栓受承载影响滑丝,减少安全隐患。
[发明]
一种晶须增强轻量化铝锆碳质耐火材料及其制备方法
申请号:
202110025244.5
状态:
审中-实审
申请日:
2021-01-08
申请人:
武汉科技大学
发明人:
鄢文、陈哲、白晨、李亚伟、李远兵、李楠
公开日:
代理机构:
主分类号:
C04B38/08(20060101)
我要购买
摘要:
本发明涉及一种晶须增强轻量化铝锆碳质耐火材料及其制备方法。其技术方案是:以22~33wt%的改性多孔复合陶瓷颗粒I、26~32wt%的改性多孔复合陶瓷颗粒II为骨料,以21~35wt%的改性多孔复合陶瓷细粉、3~6wt%的单质Si粉和4~11wt%的碳粉为基质,先将所述骨料置于搅拌机中,加入占所述骨料和所述基质之和3~7wt%的改性液态热固性酚醛树脂,混合,再加入基质,搅拌,机压成型,在170~320℃条件下热处理,最后在1150~1460℃和埋碳环境中保温4~12小时,自然冷却,制得晶须增强轻量化铝锆碳质耐火材料。本发明所制制品导热系数低、强度高、热震稳定性能优异、抗渣性能优良和抗氧化性能好。
[发明]
一种晶须增强轻量化铝碳质耐火材料及其制备方法
申请号:
202110025255.3
状态:
审中-实审
申请日:
2021-01-08
申请人:
武汉科技大学
发明人:
鄢文、陈哲、白晨、李亚伟、李远兵、李楠
公开日:
代理机构:
主分类号:
C04B35/66(20060101)
我要购买
摘要:
本发明涉及一种晶须增强轻量化铝碳质耐火材料及其制备方法。其技术方案是:以20~30wt%的改性多孔陶瓷颗粒I、25~35wt%的改性多孔陶瓷颗粒II为骨料,以24~36wt%的改性多孔陶瓷细粉、2~6wt%的单质Si粉和4~10wt%的碳粉为基质;先将所述骨料置于搅拌机中,加入占所述骨料和所述基质之和2~6wt%的改性液态热固性酚醛树脂,混合,再加入所述基质,搅拌均匀,机压成型,在180~310℃条件下热处理,最后在1100~1450℃和埋碳环境中保温3~10小时,自然冷却,制得晶须增强轻量化铝碳质耐火材料。所制制品具有导热系数低、强度高、热震稳定性能优异、抗渣性能和抗氧化性能好的特点。
[发明]
一种轻量化方镁石-尖晶石-碳耐火材料及其制备方法
申请号:
202110025196.X
状态:
审中-实审
申请日:
2021-01-08
申请人:
武汉科技大学
发明人:
鄢文、刘修毅、陈哲、戴亚洁、李亚伟
公开日:
代理机构:
主分类号:
C04B35/66(20060101)
我要购买
摘要:
本发明涉及一种轻量化方镁石‑尖晶石‑碳耐火材料及其制备方法。其技术方案是:以19~28wt%的改性多孔方镁石‑尖晶石陶瓷颗粒I、26~34wt%的改性多孔方镁石‑尖晶石陶瓷颗粒II为骨料,以27~37wt%的粒径小于0.088mm的改性多孔方镁石‑尖晶石陶瓷细粉、1~5wt%的单质Si粉和6~12wt%的碳粉为基质;先将骨料置于搅拌机中,加入占骨料和基质之和2~7wt%的改性液态热固性酚醛树脂,混合,再加入基质,搅拌,机压成型,干燥,在氮气气氛和1390~1610℃条件下保温,冷却,制得轻量化方镁石‑尖晶石‑碳耐火材料。本发明所制制品具有导热系数低、强度高、热震稳定性能优异、抗渣性能优良和抗氧化性能好的特点,适用于出钢口、滑板等钢水导流关键器件。
[发明]
一种轻量化方镁石-碳化硅-碳耐火材料及其制备方法
申请号:
202110023653.1
状态:
审中-实审
申请日:
2021-01-08
申请人:
武汉科技大学
发明人:
鄢文、韩铮、吴晗、戴亚洁、李亚伟、李楠
公开日:
代理机构:
主分类号:
C04B38/08(20060101)
我要购买
摘要:
本发明涉及一种轻量化方镁石‑碳化硅‑碳耐火材料及其制备方法。其技术方案是:以14~16wt%的改性多孔方镁石陶瓷颗粒I、17~20wt%的改性多孔方镁石陶瓷颗粒II和22~24wt%的改性多孔方镁石陶瓷颗粒Ⅲ为骨料,以35~45wt%的改性多孔方镁石陶瓷细粉、0.1~1.5wt%的单质硅粉、0.5~2wt%的超细石墨粉和0.5~2wt%的碳化硅细粉为基质。先将骨料置于搅拌机中,外加骨料与基质之和0.1~0.5wt%的催化剂和2~6wt%的酚醛树脂,搅拌,加入基质,搅拌;机压成型,干燥,在埋碳气氛和1300~1450℃条件下保温,随炉冷却,制得轻量化方镁石‑碳化硅‑碳耐火材料。本发明所制制品具有碳含量低、导热系数低、强度高、热震稳定性优良和抗侵蚀渗透性能优异的特点。
[发明]
一种轻量化刚玉-碳化硅耐火材料及其制备方法
申请号:
202110023625.X
状态:
审中-实审
申请日:
2021-01-08
申请人:
武汉科技大学
发明人:
鄢文、陈哲、陈俊峰、韩兵强、魏耀武、李楠
公开日:
代理机构:
主分类号:
C04B38/08(20060101)
我要购买
摘要:
本发明涉及一种轻量化刚玉‑碳化硅耐火材料及其制备方法。其技术方案是:以25~32wt%的改性多孔刚玉陶瓷颗粒I和23~30wt%的改性多孔刚玉陶瓷颗粒II为骨料,以18~28wt%的改性多孔刚玉陶瓷细粉、13~20wt%的碳化硅细粉和3~5wt%的单质Si粉为基质,先将所述骨料置于搅拌机中,加入占所述骨料和所述基质之和4~7wt%的改性液态热固性酚醛树脂,混合,再加入基质,搅拌,机压成型,在200~250℃条件下热处理,然后在1190~1420℃和埋碳条件下保温4~10小时,冷却,制得轻量化刚玉‑碳化硅耐火材料。本发明所制制品具有导热系数低、强度高、热震稳定性能好、抗渣性能优异和抗氧化性能好的特点,适用于炼铁、炼焦和石油化工等高温工业的热工装备。
[发明]
一种碳化硅晶须增强的铝碳多孔陶瓷过滤器及其制备方法
申请号:
202110023614.1
状态:
审中-公开
申请日:
2021-01-08
申请人:
武汉科技大学
发明人:
鄢文、陈茜琳、支瑾娜、鄢俊杰、陈哲、李亚伟
公开日:
代理机构:
主分类号:
C04B38/06(20060101)
我要购买
摘要:
本发明涉及一种碳化硅晶须增强的铝碳多孔陶瓷过滤器及其制备方法。其技术方案是:以改性多孔氧化铝陶瓷细粉、改性煤焦油沥青粉、炭黑、石墨和单质硅粉为原料,预混,外加流变剂、减水剂、消泡剂、铝溶胶和去离子水,搅拌,得到具有触变性的陶瓷浆体。将预处理聚氨酯泡沫模板浸入具有触变性的陶瓷浆体中,取出后挤压,养护,干燥,在埋碳和1150~1250℃条件下保温,冷却;将冷却后的碳化硅晶须增强的铝碳多孔陶瓷过滤器预烧体再浸渍于具有触变性的陶瓷浆体中,真空静置,离心处理,干燥,埋碳条件下于1350~1450℃保温,冷却,制得碳化硅晶须增强的铝碳多孔陶瓷过滤器。本发明所制制品力学性能优异、净化效果好和使用寿命长。
首页
上一页
41
42
43
44
45
46
47
48
49
50
下一页
尾页
当前共找到
8115
个专利记录
,当前显示页码
43/406