首页
专利查询
专利购买
专利转让
专利申请
15071489439
当前位置:
专利巴士
专利查询
专利名称
查询
高级查询
当前共找到
8115
个专利记录
,当前显示页码
50/406
专利名称
申请号
申请人
发明人
专利代办机构
[发明]
一种用于电容去离子技术电极的复合材料制备及其应用
申请号:
202011269215.5
状态:
审中-公开
申请日:
2020-11-13
申请人:
武汉科技大学
发明人:
王黎、郑鹏坤、余杨、张嘉方
公开日:
代理机构:
主分类号:
C02F1/469(20060101)
我要购买
摘要:
本发明公开了一种用于电容去离子技术的电极复合材料及其应用,所述复合电极材料是采用改良的Hummers法制备氧化石墨烯(GO),再用二氧化锰改性氧化石墨烯(MnO
2
/GO)作为电极复合材料的主吸附材料,乙炔黑为导电剂。取石墨纸作为集电极,聚偏氟乙烯(PVDF)作为粘结剂得到二氧化锰/氧化石墨烯复合电极。氧化石墨烯比表面积大,且具有较多含氧官能团,增加了电极材料的亲水性。在石墨烯片层间引入MnO
2
,形成一维MnO
2
纳米线,从而有效减弱了片层堆叠效应,提升了复合材料的电化学性能,增加了脱盐量。本发明工艺简单,操作方便,原料资源丰富、生产成本低廉,具有良好的应用前景和经济效益。
[发明]
泡沫钛基底上生长氧化铁纳米棒阵列材料及其制备方法
申请号:
202011261537.5
状态:
审中-公开
申请日:
2020-11-12
申请人:
武汉科技大学
发明人:
李睿智、李荣聪、张灵、周盈科
公开日:
代理机构:
主分类号:
H01G11/86(20130101)
我要购买
摘要:
本发明涉及一种泡沫钛基底上生长氧化铁纳米棒阵列材料及其制备方法。其技术方案是:按硫酸钠∶六水合氯化铁∶去离子水的物质的量比为7∶7∶7800配料,在室温条件下搅拌,得混合溶液。将所述混合溶液转移到高压反应釜中,再将经洗洁精、乙醇和用去离子水超声清洗过的泡沫钛浸入到混合溶液中,在160~170℃条件下保温4~7h,得前躯体。将所述前躯体置于管式气氛炉,在氩气气氛中于430~470℃条件下保温2~3h,制得泡沫钛基底上生长氧化铁纳米棒阵列材料。本发明工艺简单、环境友好和易于工业化生产,所制制品比容量高、倍率性能好和循环稳定性优异。
[发明]
一种吊车钢绳消谐控制方法、装置、设备、储存介质及终端
申请号:
202011260485.X
状态:
审中-公开
申请日:
2020-11-12
申请人:
武汉科技大学
发明人:
刘惠康、鲁强光、柴琳、祖一康、周舟、刘冬田、付筱筱
公开日:
代理机构:
主分类号:
H02P21/22(20160101)
我要购买
摘要:
本发明属于吊车防摆技术领域,公开了一种吊车钢绳消谐控制方法、装置、设备、储存介质及终端,根据拉格朗日方程建立二维桥式吊车动力学模型;通过电流来控制输出力矩,通过电机的输出力矩来控制台车受到的牵引力的大小;运用有源滤波技术检测谐波的方法;基于有源滤波技术的消谐控制的设计。本发明提供的基于有源滤波技术的吊车钢绳消谐控制方法,通过运用有源滤波技术来消除重物与钢丝绳的谐振,减小了摆角,达到了快速消谐防摆的效果。同时,本发明能够快速有效地检测出谐波电流,从而有效的抑制钢丝绳与重物之间的谐振,进一步帮助控制器快速精确地实现小车定位,提升防摆性能。
[发明]
一种基于子流稀疏卷积的三维目标检测方法及系统
申请号:
202011260387.6
状态:
审中-公开
申请日:
2020-11-12
申请人:
武汉科技大学
发明人:
林云汉、孙亚兰、刘双元、闵华松、叶亮、左韬、邓春华
公开日:
代理机构:
主分类号:
G06K9/46(20060101)
我要购买
摘要:
本发明提供一种基于子流稀疏卷积的三维目标检测方法及系统,该方法包括:获取目标场景的初始点云数据;基于初始点云数据和优化后的点云体素卷积神经网络,获取目标点云特征,优化后的点云体素卷积神经网络通过子流稀疏卷积对点云体素卷积神经网络进行优化得到;根据目标点云特征,对目标场景进行目标检测。本发明实施例构建了基于子流稀疏卷积的点云体素卷积神经网络提取方法,利用点云的稀疏性进行进一步的特征提取,能够更加高效的对局部信息进行深层提取,从而提高了三维目标检测的效率和精度。
[发明]
降解乙醇胺并同时制氢的燃料电池-电解池串联装置
申请号:
202011252616.X
状态:
审中-公开
申请日:
2020-11-11
申请人:
武汉科技大学
发明人:
郭芬、侯帅、许萍、饶子轩、邹云合
公开日:
代理机构:
主分类号:
C25B1/04(20210101)
我要购买
摘要:
本发明公开了一种降解乙醇胺并同时制氢的燃料电池‑电解池串联装置,该装置由n个直接乙醇胺‑过氧化氢燃料电池(n为不小于2的整数)和1个电解池串联而成;所述电解池以含乙醇胺溶液作为电解液,阳极为泡沫镍载金电极,阴极为铂片;所述燃料电池包括负极端、正极端及隔膜,其负极端的燃料和催化电极分别为乙醇胺水溶液和泡沫镍载金电极,正极端的氧化剂和催化电极分别是过氧化氢水溶液和碳纤维布载钯电极。本装置中的燃料电池组可直接为电解池供电,从而实现在超低外部能耗下,同时降解乙醇胺并制取氢气的目的。
[实用新型]
一种多仓按压瓶
申请号:
202022598716.X
状态:
有权
申请日:
2020-11-11
申请人:
武汉科技大学
发明人:
刘怀广、蔡煜、张立恒、刘安逸、赖天舒
公开日:
代理机构:
主分类号:
B65D1/04(20060101)
我要购买
摘要:
一种多仓按压瓶,包括带有封盖的按压瓶、异形按压头、锥形周盖和上端盖,所述锥形周盖与按压瓶的上部螺纹连接,所述异形按压头中部的外壳上设置有与锥形周盖顶面的尺寸相匹配的旋转板,异形按压头可转动地设置于锥形周盖内的中部,且旋转板置于锥形周盖的顶面,所述上端盖与锥形周盖螺纹连接,且预留有供旋转板转动的间隙,所述按压瓶内部通过隔板分隔成多个瓶腔,每个瓶腔所对应的封盖上均设置有通孔,转动所述异形按压头,所述下吸管可绕圆形凹槽转动至不同的接头凹槽内。本实用新型利用一个按压头实现“一瓶多用”的功能,解决了出行需携带多个瓶罐的问题,方便携带且提高了行李箱的空间利用率。
[发明]
一种H型钢梁钢管混凝土柱的节点结构
申请号:
202011245822.8
状态:
审中-公开
申请日:
2020-11-10
申请人:
武汉科技大学
发明人:
许成祥、胡鸿运
公开日:
代理机构:
主分类号:
E04B1/58(20060101)
我要购买
摘要:
本发明公开了一种H型钢梁钢管混凝土柱的节点结构,主要包括第一U形架和第二U形架,第一U形架底面开有两通槽,通槽与第一滑槽相通,第一滑槽内设有限位环,限位环与第一U形架固定连接,第一滑槽内贴合滑动设有第一T形滑杆,第一T形滑杆截面为方形,深沟球轴承外环侧壁对称固定连接有两限位杆,第一U形架侧壁开有第一弧形槽,第一弧形槽与第二滑槽相通,弧形杆的直径为10mm‑12mm,T形旋转杆与旋转块的连接方式采用焊接,能够实现第一U形架与第二U形架的固定的同时也实现与钢管混凝土柱的固定,防止固定后第一U形架与第二U形架滑动现象的发生,支撑能力增强,安装简单,省时省力,加快施工速度,满足建筑使用需求。
[发明]
一种适用于张弦桁架结构消能减震的可调节装置
申请号:
202011244184.8
状态:
审中-公开
申请日:
2020-11-10
申请人:
武汉科技大学
发明人:
黄丽雅
公开日:
代理机构:
主分类号:
E04B1/98(20060101)
我要购买
摘要:
本发明公开了一种适用于张弦桁架结构消能减震的可调节装置,包括用于连接张弦桁架与地表的多个调节装置,所述调节装置包括弹性杆体、升降构件,所述弹性杆体的底部与升降构件的顶部相连,所述弹性杆体上设有接触式位移传感器。本发明一种适用于张弦桁架结构消能减震的可调节装置,通过接触式位移传感器,设置弹性杆体对张弦桁架有效作用力的两个端值,配合升降构件,灵活改变整个装置的位置以及长度,使得弹性杆体对张弦桁架的作用力处于两个端值区间内,从而能够充分利用弹性杆体双向受力的性能,增强张弦桁架整体的受压承重以及抵抗风荷载能力,增大张弦桁架在强风区域的使用率。
[发明]
一种土木工程用地基承载力实验装置
申请号:
202011275070.X
状态:
审中-公开
申请日:
2020-11-10
申请人:
武汉科技大学
发明人:
朱红兵、谷祥仔、施旭刚、江恒、李咏灿
公开日:
代理机构:
主分类号:
G01N3/34(20060101)
我要购买
摘要:
本发明公开了一种土木工程用地基承载力实验装置,包括底板,底板的顶面固定连接有四根支腿。本装置通过电机、第二半齿轮、齿轮、第三旋转杆、绕线辊和钢丝绳的配合使用,使得敲击锤反复多次提高再在重力的作用下,自由下落对滑板的顶面产生击打,将锥形探头砸入到土质内一定深度进行实验,此时指针在刻度尺上所指的深度,就是锥形探头砸入到土质内的深度,这样便于直观的知道锥形探头砸入到土质内的深度,并且通过第二斜齿轮、第一斜齿轮、第二旋转杆、第一半齿轮、齿环和第一旋转杆的配合使用,使得记录带发生移动,这样使得每次记录笔下降在记录带上留下的痕迹是不叠加的,便于后期数据统计。
[发明]
一种类岩石试样制作模具及其使用方法
申请号:
202011240660.9
状态:
审中-实审
申请日:
2020-11-09
申请人:
武汉科技大学
发明人:
叶义成、周栋、胡南燕、王为琪、谭文侃、崔旭阳、黄建彬、李雪雪
公开日:
代理机构:
主分类号:
G01N1/36(20060101)
我要购买
摘要:
本发明公开了一种类岩石试样制作模具,包括底板、侧板、夹板、横向定位件、纵向定位件、钢片固定件和预制裂隙钢片,侧板、夹板和底板形成类岩石试样浇筑空间,由横向定位件、纵向定位件和钢片固定件共同组成裂隙定位组件,用于定位裂隙位置。本发明具有结构简单、操作方便、密封性好、能控制双裂隙不同尺寸和方位的特点,能有效解决岩石原样受切割技术的限制较难预制多裂隙的问题,用于类比研究含裂隙实体岩石材料的破裂机理、裂纹尺寸效应以及裂纹方位效应的测定。
[实用新型]
一种暖通空调出风口的净化装置
申请号:
202022576214.7
状态:
有权
申请日:
2020-11-09
申请人:
武汉科技大学
发明人:
周传辉、张子默、陈乖乖、周源东、吴棒、周广昌
公开日:
代理机构:
主分类号:
F24F13/28(20060101)
我要购买
摘要:
本实用新型提供了一种暖通空调出风口的净化装置,包括吹风管、吹风罩、过滤网和百叶板,所述吹风罩上端与吹风管连通;所述过滤网设置在吹风罩内中部,所述过滤网与吹风罩通过滑动连接机构连接;所述百叶板设置在吹风罩内底部,所述百叶板与吹风罩通过滑动连接机构可拆卸连接。本实用新型公开的一种暖通空调出风口的净化装置,首先,能够方便拆除百叶板,从而方便对吹风罩内部进行维护,使用更加便捷,而且结构简单,不易损坏,其次能够方便拆装过滤网,给更换和清洗过滤网提供了很大的便捷性,实用性更高。
[发明]
一种桥梁分隔护栏结构
申请号:
202011236489.4
状态:
审中-公开
申请日:
2020-11-09
申请人:
武汉科技大学
发明人:
卢作孚
公开日:
代理机构:
主分类号:
E01D19/10(20060101)
我要购买
摘要:
本发明公开了一种桥梁分隔护栏结构,涉及桥梁设备领域,该桥梁分隔护栏结构包括两支撑杆,两支撑杆底部均设有弹簧,所有弹簧均设有安装板,两支撑杆之间连接有两连杆,两连杆底部均设有护栏杆,两支撑杆顶部固定有雨棚,雨棚上粘贴由反光膜。该桥梁分隔护栏结构结构稳定,防撞性能良好,提高了使用寿命,而且可以给行人提供遮风挡雨的保护,服务周到。
[发明]
一种用于暗场缺陷检测的光罩掩模板图形设计方法
申请号:
202011236042.7
状态:
审中-实审
申请日:
2020-11-09
申请人:
武汉科技大学
发明人:
许爽、刘超、廖程、刘宇飞
公开日:
代理机构:
主分类号:
G06F30/10(20200101)
我要购买
摘要:
本发明属于半导体制造的无图案硅片缺陷检测技术领域,公开了一种用于暗场缺陷检测的光罩掩模板图形设计方法,利用微粗糙度表面无颗粒散射模型计算表面无颗粒情况下的光散射信号;利用光滑表面颗粒散射模型计算表面有颗粒污染情况下的光散射信号;根据所得散射光强信号求取表面颗粒散射光与表面无颗粒散射光的信号对比度s;根据信号对比度s求取能用以分离颗粒散射光的透光区域;通过表面散射模型根据透光区域,设计适用的光罩掩模板图形,滤除无法区分颗粒散射信号的散射光。本发明优化了现有的暗场缺陷检测系统中收集散射光的方法,能有效地消除硅片表面由于自身粗糙度的存在在没有颗粒污染的情况下产生的少量的光散射信号。
[发明]
一种自动控制的带式输送机电动螺旋拉紧装置及方法
申请号:
202011236644.2
状态:
审中-公开
申请日:
2020-11-09
申请人:
武汉科技大学
发明人:
曾飞、严诚、黄书伟、章生、宋杰杰
公开日:
代理机构:
主分类号:
B65G23/44(20060101)
我要购买
摘要:
本发明公开了一种自动控制的带式输送机电动螺旋拉紧装置,包括电动螺旋拉紧装置,电动螺旋拉紧装置包括尾部机架、第一丝杆支撑端、丝杆、第一螺母座、第二螺母座、第二丝杆支撑端、联轴器、滚筒支座和步进电机,本发明还公开了一种自动控制的带式输送机电动螺旋拉紧方法本发明采用步进电机作为电动螺旋拉紧装置调节的动力源,步进电机带动丝杠旋转,其调节同步性好、准确、马力足、调节速度快、效率高。大大减轻了工人劳动强度,提高了作业效率。
[发明]
一种安全节能板材折弯装置
申请号:
202011228238.1
状态:
审中-公开
申请日:
2020-11-06
申请人:
武汉科技大学
发明人:
郝志强
公开日:
代理机构:
主分类号:
B21D5/00(20060101)
我要购买
摘要:
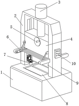
本发明涉及折弯装置技术领域,且公开了一种安全节能板材折弯装置,包括工作台,所述工作台的顶部焊接有支撑柱,所述支撑柱的顶部通过螺栓连接有油缸,所述支撑柱的内壁滑动连接有滑板,所述滑板的前部设置有调整机构,所述支撑柱的前部设置有防护机构,所述工作台的顶部设置有出料机构,所述工作台的内部设置有卸料机构,本发明通过调整机构可以对顶块的高度进行调整,使其在相同的行程中移动的距离缩短,进而来改变板料的折弯角度,从而可以实现折弯角度的调整,可以适用于不同角度的板料折弯,再通过防护机构可以在折弯时将装置的两端挡住,防止在折弯过程中人手的意外伸入,可以减少安全隐患,保证工人的安全。
[发明]
一种全自动板材折弯方法
申请号:
202011228898.X
状态:
审中-实审
申请日:
2020-11-06
申请人:
武汉科技大学
发明人:
郝志强
公开日:
代理机构:
主分类号:
B21D5/00(20060101)
我要购买
摘要:
本发明涉及折弯装置技术领域,且公开了一种采用全自动板材折弯装置对板材进行折弯的方法,折弯装置包括工作台,所述工作台的顶部焊接有支撑柱,所述支撑柱的顶部通过螺栓连接有油缸,所述支撑柱的内壁滑动连接有滑板,所述滑板的前部设置有调整机构,所述支撑柱的前部设置有防护机构,所述工作台的顶部设置有出料机构,所述工作台的内部设置有卸料机构,本发明通过调整机构可以对顶块的高度进行调整,使其在相同的行程中移动的距离缩短,进而来改变板料的折弯角度,从而可以实现折弯角度的调整,适用于不同角度的板料折弯,再通过防护机构可以在折弯时将装置的两端挡住,防止在折弯过程中人手的意外伸入,减少安全隐患,保证工人安全。
[发明]
一种全自动板材折弯装置
申请号:
202011228924.9
状态:
审中-公开
申请日:
2020-11-06
申请人:
武汉科技大学
发明人:
郝志强、郭宇飞、王志刚、阮金华、徐增丙
公开日:
代理机构:
主分类号:
B21D5/00(20060101)
我要购买
摘要:
本发明涉及折弯装置技术领域,且公开了一种全自动板材折弯装置,包括工作台,所述工作台的顶部焊接有支撑柱,所述支撑柱的顶部通过螺栓连接有油缸,所述支撑柱的内壁滑动连接有滑板,所述滑板的前部设置有调整机构,所述支撑柱的前部设置有防护机构,所述工作台的顶部设置有出料机构,所述工作台的内部设置有卸料机构,本发明通过调整机构可以对顶块的高度进行调整,使其在相同的行程中移动的距离缩短,进而来改变板料的折弯角度,从而可以实现折弯角度的调整,可以适用于不同角度的板料折弯,再通过防护机构可以在折弯时将装置的两端挡住,防止在折弯过程中人手的意外伸入,可以减少安全隐患,保证工人的安全。
[发明]
一种SARS-CoV2粘膜免疫疫苗及其应用
申请号:
202011225947.4
状态:
审中-实审
申请日:
2020-11-05
申请人:
武汉科技大学
发明人:
李胜华、廖兴华、张勉、张同存
公开日:
代理机构:
主分类号:
A61K39/215(20060101)
我要购买
摘要:
本发明涉及一种SARS‑CoV2粘膜免疫疫苗及其应用,采用SARS‑CoV2的Spike蛋白的RBD基因和水解Spike蛋白S1/S2位点基因组成疫苗的基本组分,同时结合CT‑B亚单位基因、能结合人IgA‑Fc的sdAb基因和Furin蛋白酶切位点区域hd,构建在大肠杆菌或酵母表达载体里,表达后的蛋白形成的五聚体纳米颗粒可以引起机体粘膜免疫反应,产生针对SARS‑CoV2的抗体,对机体起到免疫保护作用。
[发明]
一种防偏移的桩基施工装置
申请号:
202011221184.6
状态:
审中-公开
申请日:
2020-11-05
申请人:
武汉科技大学
发明人:
黄大利
公开日:
代理机构:
主分类号:
E02D27/12(20060101)
我要购买
摘要:
本发明公开了一种防偏移的桩基施工装置,包括回形框板,其特征在于:所述回形框板上端垂直焊接有回形支架,所述回形支架内侧壁下端通过螺栓螺母连接有四个规格相同的第一液压装置,所述第一液压装置上焊接有支撑架,所述支撑架上设有多个规格相同的旋转轴承,所述旋转轴承上焊接有转动辊,本发明是一种防偏移的桩基施工装置,通过第一液压装置推动支撑架,使得转动辊对桩基下端进行支撑,同时利用第三液压装置推动夹紧块,实现对桩基上端进行支撑,采用第二液压泵带动滑动块沿滑动凹槽进行垂直方向上的移动,从而起到防偏移的作用,操作简单,且能适用于不同大小桩基的使用,稳定性强。
[发明]
一种可换向导缆装置
申请号:
202011220109.8
状态:
审中-公开
申请日:
2020-11-05
申请人:
武汉科技大学
发明人:
刘源泂、杨运政、刘志远、蒋国忠、黄益斌
公开日:
代理机构:
主分类号:
H02G11/00(20060101)
我要购买
摘要:
本发明涉及一种可换向导缆装置。其包括上外壳、下外壳、壳体,所述壳体置于活动连接的上外壳、下外壳内,所述壳体分为上下两瓣,所述壳体内侧安装有纵向导轮、横向导轮和斜导轮,所述纵向导轮、横向导轮和斜导轮构成贯穿的电缆通道,所述下外壳底部连有竖直方向且可转动的支架轴。该装置能防止电缆发生扭曲,打卷的情况发生,减少了人工的操作量,使线缆能够按照需要的轨迹运动。
首页
上一页
41
42
43
44
45
46
47
48
49
50
下一页
尾页
当前共找到
8115
个专利记录
,当前显示页码
50/406