首页
专利查询
专利购买
专利转让
专利申请
15071489439
当前位置:
专利巴士
专利查询
专利名称
查询
高级查询
当前共找到
8115
个专利记录
,当前显示页码
62/406
专利名称
申请号
申请人
发明人
专利代办机构
[发明]
一种高温工业用多孔介质燃烧系统
申请号:
202010618452.1
状态:
审中-公开
申请日:
2020-06-30
申请人:
武汉科技大学
发明人:
陈元元、许学成、李本文
公开日:
代理机构:
主分类号:
F23D14/02(20060101)
我要购买
摘要:
本发明涉及一种高温工业用多孔介质燃烧系统,包括空燃气混合系统、多孔介质燃烧装置、点火烧嘴与点火控制系统。空燃气混合系统设有空气管路、燃气管路、电磁切断阀、两个自动调节阀、混合器和防爆阀,两个自动调节阀之间通过比例关系实现空、燃气流量自动调节;多孔介质燃烧装置设有均气室、布风板、燃烧面板、烧嘴内衬;点火烧嘴设有喷嘴和喷管;点火控制系统设有电极、点火电源与控制装置,电极安装在点火烧嘴上,点火电源分别与电极和控制装置相连,控制装置设有点火模块、火焰检测模块和故障报警/连锁模块。本燃烧系统可延长电极使用寿命,提高点火稳定性,增强火焰监测效果,提升系统的可控性、完整性与安全性。
[发明]
升降机固定装置松动状态检测方法、计算机设备及升降机
申请号:
202010604478.0
状态:
审中-公开
申请日:
2020-06-29
申请人:
武汉科技大学
发明人:
丁国荣、王文波、张连华、申杨、钱龙
公开日:
代理机构:
主分类号:
G06F17/18(20060101)
我要购买
摘要:
本发明属于升降机松动状态检测技术领域,公开了一种升降机固定装置松动状态检测方法、计算机设备及升降机,通过在升降机固定装置的地方安装振动传感器,对从传感器搜集过来的不同松动状态的信号进行变分模态分解(VMD),得到K个固有模态分量(IMF);对K个固有模态分量IMF分别计算信息熵、高阶累积量以及高阶谱;利用组合特征来识别固定装置松动状态检测。本发明将VMD方法引入到升降机固定装置故障诊断,用于处理机脚螺栓的故障信号。VMD不仅具有坚实的理论基础,而且对于噪声也表现出较好的鲁棒性,能够从信噪比较低的原始振动信号中分离出包含特征信息的信号分量,进而实现升降机固定装置松动状态检测。
[发明]
一种基于微表情识别的教学评价和实时反馈系统
申请号:
202010609476.0
状态:
审中-公开
申请日:
2020-06-29
申请人:
武汉科技大学
发明人:
赵小维、李冠男、徐麟、梁致远、郑悦、姚庆
公开日:
代理机构:
主分类号:
G06Q10/06(20120101)
我要购买
摘要:
本发明公开了一种基于微表情识别的教学评价和实时反馈系统,包括:评价系统建立模块、信息采集模块、教学评价与反馈模块,所述评价系统建立模块用于构建由图像处理及微表情评价所搭建的模型,所述信息采集模块用于接收学生及教师信息并将学生及教师的信息输出至所述评价系统建立模块,所述教学评价与反馈模块用于实时获取课堂状况并将所述课堂状况发送至所述评价系统建立模块,根据所述评价系统建立模块反馈的信息及时进行教学调整,适用于教学评价反馈领域,可以有效的解决因无法将学生学习状态实时反馈给教师所带来的实时及准确性的问题。
[实用新型]
一种拟静力试验的竖向载荷加载装置
申请号:
202021223975.8
状态:
有权
申请日:
2020-06-29
申请人:
武汉科技大学
发明人:
许成祥、王粘锦
公开日:
代理机构:
主分类号:
G01N3/08(20060101)
我要购买
摘要:
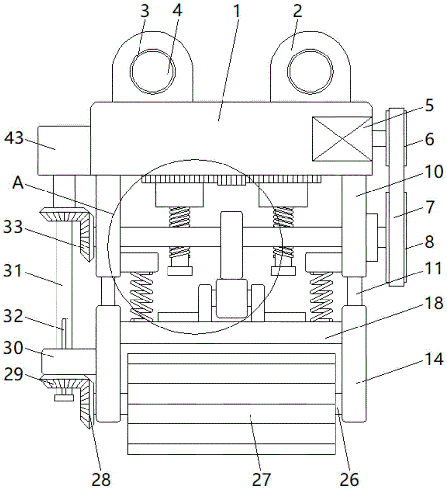
本实用新型涉及一种拟静力试验的竖向载荷加载装置,包括转接梁、上部拉杆、反力平台和下部拉杆;所述反力平台和转接梁均水平设置,所述上部拉杆和下部拉杆均竖直设置,所述下部拉杆的顶部连接于转接梁的底部,所述下部拉杆用于将转接梁固定于试验模型的底部,所述上部拉杆的底部连接于转接梁顶部,所述反力平台设置于上部拉杆上,所述反力平台下方设置有顶升机构,所述顶升机构包括千斤顶和分配梁,所述千斤顶的顶部与反力平台的底部连接,所述分配梁水平固定于千斤顶的底部用于支撑千斤顶。该装置适用于实验室中反力架结构不能提供实验模型所需竖向荷载的情况。
[发明]
一种石墨烯负载空心二氧化锰复合材料及其制备方法
申请号:
202010606119.9
状态:
审中-公开
申请日:
2020-06-29
申请人:
武汉科技大学
发明人:
陈尧、张路、顾华志
公开日:
代理机构:
主分类号:
H01G11/26(20130101)
我要购买
摘要:
本发明涉及一种石墨烯负载空心二氧化锰复合材料及其制备方法。其技术方案是:将氧化石墨加入水中,超声分散,得氧化石墨烯胶体;将锰盐、L‑赖氨酸和硼氢化钠分别与水混合得到对应的锰盐溶液、L‑赖氨酸溶液和硼氢化钠溶液;将氧化石墨烯胶体先后与锰盐溶液、L‑赖氨酸溶液和硼氢化钠溶液混合,再置于水热釜中反应,然后将反应产生的氧化物复合材料分散水中,即得悬浊液,将悬浊液与高锰酸钾溶液混合,洗涤,即得石墨烯负载二氧化锰复合材料,将石墨烯负载二氧化锰复合材料重新分散后与盐酸混合,过滤,洗涤,制得石墨烯负载空心二氧化锰复合材料。本发明工艺简单,制备的石墨烯负载空心二氧化锰复合材料比电容高、循环寿命长和导电性能优异。
[发明]
具有自修复性能的仿生纤维网水凝胶的制备方法及其应用
申请号:
202010596615.0
状态:
审中-公开
申请日:
2020-06-28
申请人:
武汉科技大学
发明人:
李凯、曾艳、梁峰
公开日:
代理机构:
主分类号:
C08J3/075(20060101)
我要购买
摘要:
本发明提供了一种具有自修复性能的仿生纤维网水凝胶的制备方法及其应用,制备方法包括如下步骤:1)将海藻酸钠氧化为氧化海藻酸钠;2)以0.137 mol/L的己二酸作为溶剂配制含量为0.01%的壳聚糖溶液,将壳聚糖溶液缓慢滴加入聚丙烯酸溶液中,滴加完成后室温下反应1 h,待反应结束后先将溶液在‑80℃冷冻,然后解冻离心洗涤,最后冷冻干燥得到壳聚糖纤维;3)以生理盐水为溶剂配制氧化海藻酸钠溶液和含有壳聚糖纤维的羧甲基壳聚糖溶液,氧化海藻酸钠溶液和羧甲基壳聚糖溶液按体积比为1:2混合进行反应得到多级次纤维网水凝胶。纤维网水凝胶具有可修复性能,与天然细胞外基质结构相似,在三维细胞培养、软组织修复等组织工程领域具有很好的应用前景。
[发明]
一种长短桩复合地基整平装置
申请号:
202010601448.4
状态:
审中-公开
申请日:
2020-06-28
申请人:
武汉科技大学
发明人:
魏璨、褚丹灵、袁成成
公开日:
代理机构:
主分类号:
E02D3/02(20060101)
我要购买
摘要:
本发明涉及建筑施工技术领域,且公开了一种长短桩复合地基整平装置,包括电动推杆,控制电动推杆的输出轴回缩使连接柱向上移动,连接柱向上移动带动套筒和第四锥齿轮向上移动,使第四锥齿轮脱离第三锥齿轮,然后控制马达运行使齿轮旋转,齿轮旋转通过齿圈带动丝母旋转,丝母旋转使丝杆回缩并脱离横梁的顶部,使偏心轮与滑轮相接触,此时控制电机运行通过主动轮、皮带和从动轮可以使转轴和偏心轮旋转,偏心轮旋转能够使滑轮、横梁、活动架和压辊上下运动,对长短桩复合地基进行压紧,进一步的,使电动推杆、电机和马达处于不同的工作状态,可以使整平装置达到不同的效果,自由选择压紧、抹平或同时压紧和抹平。
[发明]
钢丝棉定量扯断分卷设备及其使用方法
申请号:
202010582603.2
状态:
审中-公开
申请日:
2020-06-23
申请人:
武汉科技大学
发明人:
王兴东、王紫阳、李贵、朱俊龙、孙伟、郑帅、邹光明
公开日:
代理机构:
主分类号:
B65H63/08(20060101)
我要购买
摘要:
本发明涉及一种钢丝棉定量扯断分卷设备,所述装置包括支撑机构、检测机构、储料机构、扯断机构、卷棉机构、助卷机构。扯断机构安装在支撑机构中部。储料机构安装在支撑机构右部。卷棉机构安装在支撑机构左侧。检测机构分为两组,分别测量大卷钢丝棉的减少量和卷棉轴上的增加量。本发明采用两组传感器采集信息,电子吊秤减量计量,称重传感器增量计量共同实现钢丝棉的高精度按需计量。扯断式分卷方式使钢丝棉断裂处边缘粗糙,更容易贴合成卷。装置自动化程度高,减少了生产过程中的火灾隐患。本发明具有计量准确,自动化程度高和安全系数高等特点。
[发明]
混凝土拉压双功能动力徐变试验装置
申请号:
202010594074.8
状态:
审中-公开
申请日:
2020-06-23
申请人:
武汉科技大学
发明人:
江恒、朱红兵、夏昌煌、谷祥仔、施旭刚、李咏灿
公开日:
代理机构:
主分类号:
G01N3/12(20060101)
我要购买
摘要:
本发明公开了一种混凝土拉压双功能动力徐变试验装置,涉及建筑试验领域,该混凝土拉压双功能动力徐变试验装置包括底座和顶板,底座和顶板之间连接有若干立柱,底座顶部中心处垂直连接有拉力传感器,拉力传感器通过数据线与控制计算机连接,拉力传感器顶部连接有端板,顶板中心处垂直镶嵌安装有液压缸,液压缸连接有端板,两端板通过若干固定螺栓固定有混凝土柱。该混凝土拉压双功能动力徐变试验装置结构简单,成本低廉,使用起来稳定性好,而且对拉伸力的检测非常直接和准确,徐变试验的精度高。
[实用新型]
一种钢丝棉定量扯断分卷装置
申请号:
202021182229.9
状态:
有权
申请日:
2020-06-23
申请人:
武汉科技大学
发明人:
王兴东、王紫阳、李贵、朱俊龙、孙伟、郑帅、邹光明
公开日:
代理机构:
主分类号:
B65H26/00(20060101)
我要购买
摘要:
本实用新型涉及一种钢丝棉定量扯断分卷装置,所述装置包括支撑机构、检测机构、储料机构、扯断机构、卷棉机构、助卷机构。扯断机构安装在支撑机构中部。储料机构安装在支撑机构右部。卷棉机构安装在支撑机构左侧。检测机构分为两组,分别测量大卷钢丝棉的减少量和卷棉轴上的增加量。本实用新型采用两组传感器采集信息,电子吊秤减量计量,称重传感器增量计量共同实现钢丝棉的高精度按需计量。扯断式分卷方式使钢丝棉断裂处边缘粗糙,更容易贴合成卷。装置自动化程度高,减少了生产过程中的火灾隐患。本实用新型具有计量准确,自动化程度高和安全系数高等特点。
[发明]
一种铜渣聚苯胺磁性复合吸附剂及其制备方法
申请号:
202010573871.8
状态:
审中-公开
申请日:
2020-06-22
申请人:
武汉科技大学
发明人:
张美杰、栗海峰、黄青、张合先
公开日:
代理机构:
主分类号:
B01J20/26(20060101)
我要购买
摘要:
本发明涉及一种铜渣聚苯胺磁性复合吸附剂及其制备方法。其技术方案是:按浓度为5~15kg/L,将铜渣粉加入到摩尔浓度为0.5~1.5mol/L稀盐酸中,超声分散,得到盐酸铜渣悬浮液。按盐酸铜渣悬浮液∶苯胺的体积比为50~100∶1混合,搅拌,得到混合悬浮液。按浓度为0.2~2.0mg/L,将过硫酸铵加入摩尔浓度为0.5~1.0mol/L的稀盐酸中,搅拌,得到过硫酸铵盐酸溶液。按照1~5mL/min的流量,将过硫酸铵盐酸溶液加入混合悬浮液中,过硫酸铵盐酸溶液∶混合悬浮液的体积比为1∶0.25~0.50,搅拌,磁选收集固体粉末,制得铜渣聚苯胺磁性复合吸附剂。本发明成本低廉、工艺简单、能将废弃物循环利用,所制制品对工业废水中的重金属吸附能力强和能重复利用。
[发明]
一种无水炮泥用添加剂及其制备方法
申请号:
202010573861.4
状态:
审中-公开
申请日:
2020-06-22
申请人:
湖南立达高新材料有限公司、武汉科技大学
发明人:
张志韧、李亚伟、徐义彪、桑绍柏、姜美平
公开日:
代理机构:
主分类号:
C04B35/66(20060101)
我要购买
摘要:
本发明涉及一种无水炮泥用添加剂及其制备方法。其技术方案是:先以35~55wt%的红柱石细粉、10~30wt%的蓝晶石细粉、6~16wt%的氧化钛细粉、5~15wt%的氮氧化硅微粉、3~7wt%的钛碳化铝细粉、3~7wt%的土状石墨微粉、1~3wt%的单质硅细粉、2~5wt%的膨润土微粉和2~5wt%的氧化镍细粉为原料,再外加所述原料0.5~2.5wt%的聚丙烯纤维和7~15wt%的钴改性酚醛树脂细粉,在混合机中混合20~30分钟,即得无水炮泥用添加剂。其中所述红柱石细粉的Al
2
O
3
含量﹥52wt%,粒径﹤75μm;所述蓝晶石细粉的Al
2
O
3
含量﹥54wt%,粒径﹤45μm。本发明所制备的无水炮泥用添加剂不仅对环境无污染,且能显著提高无水炮泥的强度、体积稳定性、抗氧化性能和抗侵蚀性能。
[发明]
一种车体双横臂独立悬架侧倾防控方法及结构
申请号:
202010567804.5
状态:
审中-公开
申请日:
2020-06-19
申请人:
武汉科技大学
发明人:
唐学权、严运兵
公开日:
代理机构:
主分类号:
B60G17/016(20060101)
我要购买
摘要:
本发明公开了一种车体双横臂独立悬架侧倾防控方法及结构,将普通双横臂悬架的左右下横臂与车架固定的铰接点改为活动的,与电机摆臂通过转动销连接。这样使得连接点可以上下移动,进而带动左右下横臂上的减震器下支点上下移动。减震器的上支点与车厢相连,承载式车身中车架与车厢是一体的,左右减震器上支点上下移动就会使车厢在横断面上的左右高度发生变化,从而达到改变车厢侧倾状态的目的。且本发明的控制系统采用经典反馈控制结构,实现容易,控制效果好,能有效的提高车辆的防过大侧倾能力和舒适性。
[发明]
一种高强高模炭纤维长丝的力学性能测试方法
申请号:
202010562796.5
状态:
审中-公开
申请日:
2020-06-19
申请人:
武汉科技大学
发明人:
李轩科、高荣柯、单长春、李保六、朱辉
公开日:
代理机构:
主分类号:
G01N3/08(20060101)
我要购买
摘要:
一种高强高模炭纤维长丝的力学性能测试方法,包括以下步骤:按热固性环氧树脂:三乙烯四胺:丙酮=(8~15):1:14的质量比配制胶液,取一束350mm长的复丝,将复丝浸入胶液中,取出后悬挂配重砝码将复丝拉直;将悬挂着复丝的隔板插入鼓风干燥箱上方,分别在60℃和120℃各保温两个小时;将AB胶均匀涂抹在两张标有中心线的加强片上,然后将固化后的炭纤维复丝固定在中心水平线上,再将加强片置于复丝上,制得待测的炭纤维复丝试样;最后在万能材料试验机上测试。本发明采用超高模量的K13D2U中间相沥青基炭纤维进行复丝试样的制备和测试,成功率高,测试结果准确,纤维损耗率低,解决了高模量炭纤维脆性高,易断的难题。
[实用新型]
测温遥控器
申请号:
202021134923.3
状态:
有权
申请日:
2020-06-18
申请人:
武汉科技大学
发明人:
李冠男、赵小维、欧阳文慧、周传辉、胡云鹏、陈俭、方曦、胡航、郑悦、姚庆
公开日:
代理机构:
主分类号:
F24F11/56(2018.01)
我要购买
摘要:
本实用新型公开了测温遥控器,涉及空调技术领域,其技术方案要点是:包括遥控器本体、操作显示屏、多个温度传感器、微处理器、电源装置和无线信号接收器。该测温遥控器能够实时感知室内人员常活动区域的环境温度信息,瞬时测量人体体表温度信息,并将测量的温度信息传递至空调器中的控制处理器,便于空调器对室内温度进行精准调控;该测温遥控器用于空调房温度现场自动校准与精准控制,能够利用测温遥控器测量温度数据,在房间现场对空调的原室内环境温度测量数值进行自动修正,并根据修正的温度测量数值,结合人体热舒适性公式,使空调进行智能控制,调控空调压缩机启停或压缩机的转速变化,实现对室内环境温度的精准控制。
[发明]
测温遥控器及空调房温度现场自动校准与精准控制的方法
申请号:
202010558321.9
状态:
审中-公开
申请日:
2020-06-18
申请人:
武汉科技大学
发明人:
李冠男、赵小维、欧阳文慧、周传辉、胡云鹏、陈俭、方曦、胡航、郑悦、姚庆
公开日:
代理机构:
主分类号:
F24F11/56(20180101)
我要购买
摘要:
本发明公开了测温遥控器及空调房温度现场自动校准与精准控制的方法,涉及空调技术领域,其技术方案要点是:包括遥控器本体、操作显示屏、多个温度传感器、微处理器、电源装置和无线信号接收器。该测温遥控器能够实时感知室内人员常活动区域的环境温度信息,瞬时测量人体体表温度信息,并将测量的温度信息传递至空调器中的控制处理器,便于空调器对室内温度进行精准调控;该现场自动校准与精准控制方法,通过利用测温遥控器测量温度数据,在房间现场对空调的原室内环境温度测量数值进行自动修正,并根据修正的温度测量数值,结合人体热舒适性公式,使空调进行智能控制,调控空调压缩机启停或压缩机的转速变化,实现对室内环境温度的精准控制。
[实用新型]
一种钢管自动上料机构
申请号:
202021131139.7
状态:
有权
申请日:
2020-06-18
申请人:
武汉科技大学
发明人:
陈桂娟、王忠平、梁炫、牛清勇、廖明进、陈剑辉
公开日:
代理机构:
主分类号:
B23D21/00(20060101)
我要购买
摘要:
本实用新型涉及一种钢管自动上料机构,包括上料架、上升机构和输料道,所述上料架设置于上升机构的底部,所述输料道设置于上升机构的顶部,所述上料架用于将钢管输送至上升机构,所述上升机构用于带动钢管上升并输送至输料道;所述上升机构包括支架、旋转电机、安装板和上料钩,所述支架竖直设置,所述旋转电机设置于支架一端,所述旋转电机的输出端设置有主动链轮,所述支架的另一端旋转设置有从动链轮,所述主动链轮和从动链轮通过链条连接,所述安装板设置于链条上,所述上料钩旋转设置于安装板侧面。本实用新型可自动将上料轨道上的钢管输送至输料道上,无需人工操作,减少人力成本,提高工作效率。
[发明]
一种基于Fluent的城市水体蒸发模拟方法
申请号:
202010560053.4
状态:
审中-公开
申请日:
2020-06-18
申请人:
武汉科技大学
发明人:
徐雪梅、梅丹、朱禹政
公开日:
代理机构:
主分类号:
G06F30/20(20200101)
我要购买
摘要:
本发明是一种基于Fluent的城市水体蒸发模拟方法,涉及城市水体微环境的湿热交换领域;假设从水体蒸发的是裹挟纯水液滴的饱和湿空气,利用DPM模型加载液态颗粒物,并对液滴进行追踪,得到液滴群在非等温流场的迁移特性;随着时间的推移,液滴的温度不断升高,其表面的水蒸气分压会由较大幅度的增加;因此,为了准确模拟液滴在流场中的散发,加载压力拟合方程实现对液滴表面分压力的修正;本发明可针对不同相对湿度下城市水体微环境内传热、传质过程的数值模拟,能够在较短时间内预测城市水体微环境的速度场、温度场和湿度场,对研究湿度变化对流场的影响具有重要意义,节省了时间和人力成本。
[发明]
利用FCC废催化剂与赤泥耦合制备地质聚合物的方法
申请号:
202010553758.3
状态:
审中-公开
申请日:
2020-06-17
申请人:
武汉科技大学
发明人:
倪红卫、张华、李杨、余丽、何环宇
公开日:
代理机构:
主分类号:
C04B28/00(20060101)
我要购买
摘要:
本发明提供了一种利用FCC废催化剂与赤泥耦合制备地质聚合物的方法。本发明将FCC废催化剂与烧结法赤泥进行混合,通过调控原料配比调节钙铝比为0.3~0.8,同时通过添加硅灰调节硅铝比为1.8~2.2,然后与复合碱激发剂混合后注入模具中,经成模、固化、脱模和养护处理,得到高强度地质聚合物。本发明不仅能够有效的固化FCC废催化剂中的重金属,而且由于将钙含量相对较高的烧结法赤泥与FCC废催化剂联用,能够有效调控混合料激发凝胶的聚合和固结硬化过程,从而提高地质聚合物的抗压强度。如此,既解决了环境污染和土地资源占用等问题,又实现了固体废弃物资源化利用的目标。
[发明]
针对多类恶意攻击的工业信息物理系统安全检测方法
申请号:
202010553520.0
状态:
审中-公开
申请日:
2020-06-17
申请人:
武汉科技大学
发明人:
刘斌、陈景召、蒋峥、黄卫华
公开日:
代理机构:
主分类号:
H04L29/06(20060101)
我要购买
摘要:
本发明提供一种针对多类恶意攻击的工业信息物理系统安全检测方法,建立被控物理对象的统一的攻击模型,将被控物理对象和可能遭受多类恶意攻击的通信网络视为一个由网络层和物理层构成的组合对象;根据组合对象的数学模型发生变化定义ICPS的安全模态和非安全模态;利用ICPS在所述安全模态下的运行数据,计算安全模态的指示变量的基准值;以固定检测周期在线计算当前检测时刻的指示变量,量化当前检测时刻的指示变量与所述基准值的差异得到二者差值,根据差值检测结果确定ICPS受到攻击或发出安全信号。克服现有安全检测方法只能检测单一类型网络攻击、且不能满足以跟踪控制为目的安全检测需求缺陷。
首页
上一页
61
62
63
64
65
66
67
68
69
70
下一页
尾页
当前共找到
8115
个专利记录
,当前显示页码
62/406