首页
专利查询
专利购买
专利转让
专利申请
15071489439
当前位置:
专利巴士
专利查询
专利名称
查询
高级查询
当前共找到
8115
个专利记录
,当前显示页码
65/406
专利名称
申请号
申请人
发明人
专利代办机构
[实用新型]
一种大型思政教育宣传栏
申请号:
202020783440.X
状态:
有权
申请日:
2020-05-13
申请人:
武汉科技大学
发明人:
王玉婷、孔波、黄晨旭、徐继男
公开日:
代理机构:
主分类号:
G09F15/00(20060101)
我要购买
摘要:
本实用新型公开了一种大型思政教育宣传栏,包括宣传箱,所述宣传箱的正面通过合页活动连接有活动门,所述活动门的表面固定安装有把手,所述宣传箱的侧面分别固定连接有第一固定管和第二固定管,所述第一固定管的内壁滑动连接有第一活动杆,所述第二固定管的内壁滑动连接有第二活动杆,所述第一活动杆和第二活动杆的一端固定连接有固定柱,所述宣传箱的内顶壁和内底壁均固定安装有轴承座,所述轴承座的内环面转动连接有转动柱。通过设置带刹车万向轮,便于宣传栏的展开和移动,通过设置第一固定管、第二固定管、转动螺栓、第一活动杆和第二活动杆,便于宣传栏宽度的调节,使宣传栏适用与不同长度的宣传页,同时也方便宣传栏的收纳。
[发明]
一种独塔单索面预应力斜拉桥精准爆破拆除方法
申请号:
202010398959.0
状态:
审中-公开
申请日:
2020-05-12
申请人:
中钢集团武汉安全环保研究院有限公司、武汉科技大学
发明人:
陈德志、罗鹏、李本伟、陈晨、徐顺香、胡浩川、安玉东、周应军、周祥磊
公开日:
代理机构:
主分类号:
F42D3/02(20060101)
我要购买
摘要:
本发明公开了一种独塔单索面预应力斜拉桥精准爆破拆除方法。包括以下步骤:S1:标出索塔爆破切口支撑部分与爆破部分的切口分界线,将爆破切口分为梯形爆破部分与支撑部分;S2:机械破碎主梁两侧桥面,使主梁两侧分离;S3:标出索塔、主梁、主墩孔位,在索塔爆破切口梯形爆破部分、索塔爆破切口支撑部分底部、主梁、主墩钻凿炮孔;S4:沿索塔梯形爆破部分与支撑部分切口分界线连续钻凿分界贯穿孔,分界贯穿孔与切口分界线相切,布置在梯形爆破部分一侧,形成贯穿分界面;S5:平行钻凿与炮孔深度相同的补偿孔;S6:沿索塔爆破切口梯形爆破部分水平方向间隔破碎表皮混凝土,割断露出的包裹钢筋;S7:装药、堵塞、联网、起爆。本方法钻凿炮孔容易、工作量小,斜拉索两端不会弹出,在空中甩动,且背向临时便桥倾倒,安全性好。
[发明]
一种基于边缘关注策略的肝脏影像语义分割方法
申请号:
202010397127.7
状态:
审中-公开
申请日:
2020-05-12
申请人:
武汉科技大学
发明人:
张晓龙、佘玉龙、邓春华、程若勤、何新宇
公开日:
代理机构:
主分类号:
G06T7/12(20170101)
我要购买
摘要:
本发明公开了一种基于边缘关注策略的肝脏影像语义分割方法,其特征在于,包括步骤:S1、原始数据集的格式转换;S2、肝脏影像数据的预处理;S3、分析肝脏影像的边缘特征并设计Encoder‑Decoder深度学习框架模型,所述Encoder‑Decoder深度学习框架模型包括编码阶段和解码阶段;S4、在编码阶段,利用ResNet34残差网络和边缘关注策略模块得到边缘注意图;S5、在解码阶段,利用反卷积和边缘关注策略模块进行特征的提取以及分割图像的生成;S6、对语义分割后的图像进行降噪处理。本发明通过边缘关注策略模块与深度卷积网络训练及其融合,优化损失函数,提取肝脏影像的深度特征并分割,具有提高肝脏影像语义分割效果的特点。
[发明]
一种稻壳基纳米碳化硅/碳复合吸波材料及其制备方法
申请号:
202010393046.X
状态:
审中-公开
申请日:
2020-05-11
申请人:
武汉科技大学、武汉佰迈思新材料有限公司
发明人:
霍开富、陈振东、高标、付继江、李忠红、刘凯
公开日:
代理机构:
主分类号:
C01B32/977(20170101)
我要购买
摘要:
本发明公开了一种以稻壳为原料制备纳米碳化硅/碳复合吸波材料的方法,合成步骤如下:将用蒸馏水洗净烘干后的稻壳放入坩埚中后置于管式炉或马弗炉中进行热处理,分别得到碳化稻壳与纳米二氧化硅。然后将碳化稻壳、纳米二氧化硅和金属镁粉按一定质量比例进行配比并用球磨机进行混料。将混合好的物料放入反应釜中,置于管式炉中加热进行反应。将反应后得到的产物放入盐酸溶液中搅拌,然后用过滤设备分离出盐酸溶液中的残留物并用蒸馏水清洗至中性,最后干燥得到碳含量可调的纳米碳化硅/碳复合吸波材料。本发明以农业废弃物稻壳为原料,制备过程简单、高效和无污染,易于实现工业化生产,符合可持续发展的理念。
[发明]
一种高强度耐腐蚀奥氏体不锈钢板带材的生产方法
申请号:
202010391578.X
状态:
审中-公开
申请日:
2020-05-11
申请人:
武汉科技大学
发明人:
李立新、胡文韬、魏雷阳、程书鹏、胡盛德、叶奔
公开日:
代理机构:
主分类号:
C21D8/02(20060101)
我要购买
摘要:
本发明涉及一种高强度耐腐蚀奥氏体不锈钢板带材的生产方法。其技术方案是:采用一种“用于金属板带材的非对称循环弯曲变形装置”,将热轧或退火态的奥氏体不锈钢板带进行非对称循环弯曲变形及随后的退火处理2~4次,使奥氏体不锈钢板带的晶粒尺寸细化,提高材料屈服强度;然后采用另一种“用于金属板带材的非对称循环弯曲变形装置”对晶粒尺寸细化后的奥氏体不锈钢板带再进行非对称循环弯曲变形及随后的退火/固溶处理,使材料近表层晶界特征分布优化,提升材料的耐蚀能力。本发明工艺简单、易于控制和适用性广,生产的奥氏体不锈钢板带材不仅晶粒细化效果显著、强度高和强塑性匹配良好,且耐腐蚀能力强。
[发明]
一种细化奥氏体不锈钢板带晶粒尺寸的生产方法
申请号:
202010391576.0
状态:
审中-公开
申请日:
2020-05-11
申请人:
武汉科技大学
发明人:
李立新、程书鹏、魏雷阳、胡文韬、叶奔、胡盛德
公开日:
代理机构:
主分类号:
C21D8/02(20060101)
我要购买
摘要:
本发明涉及一种细化奥氏体不锈钢板带晶粒尺寸的生产方法。技术方案是:步骤1、采用“用于金属板带材的非对称循环弯曲变形装置”,对热轧或退火态奥氏体不锈钢板带进行非对称循环弯曲变形,对变形后的奥氏体不锈钢板带进行退火处理;步骤2、将退火处理后的奥氏体不锈钢板带再进行非对称循环弯曲变形,对再变形后的奥氏体不锈钢板带进行退火处理;将步骤2重复0~2次,使奥氏体不锈钢板带晶粒细化。所述退火处理工艺相同:退火处理的保温温度为800~1100℃,退火处理的保温时间T=Kδ;其中:K表示保温时间调节系数;δ表示奥氏体不锈钢板带厚度。本发明工艺简单和易于控制,生产的奥氏体不锈钢板带晶粒尺寸细化效果显著和材料强塑性匹配好。
[发明]
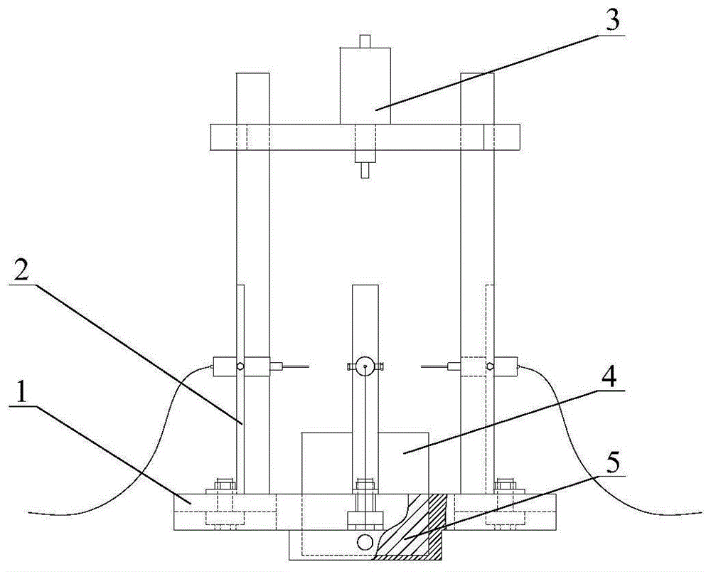
一种用于金属板带材的非对称循环弯曲变形装置
申请号:
202010391415.1
状态:
审中-公开
申请日:
2020-05-11
申请人:
武汉科技大学
发明人:
李立新、叶奔、胡文韬、胡盛德、魏雷阳、程书鹏
公开日:
代理机构:
主分类号:
B21D5/14(20060101)
我要购买
摘要:
本发明涉及一种用于金属板带材的非对称循环弯曲变形装置。其技术方案是:所述装置包括大弯曲辊(1)、小弯曲辊(2)、支撑辊组(3)和夹持辊(4);大弯曲辊(1)与小弯曲辊(2)的数量之和为3、或为5、或为7、或为9、或为11,支撑辊组(3)的组数与小弯曲辊(2)的辊数相同,支撑辊组(3)由1~2根支撑辊组成。大弯曲辊(1)的辊径∶小弯曲辊(2)的辊径为(1.6~9.9)∶1;所述支撑辊为通段实心辊、或为3~11段实心辊、或为由3~11个背衬轴承装配组成。该装置不仅可实现金属板带材的连续塑性变形,累积变形大,且弯曲变形的金属板带材的尺寸大和变形组织均匀。
[发明]
一种TiO
2
/Au/CoPi复合纳米管阵列光阳极的制备方法
申请号:
202010384712.3
状态:
审中-公开
申请日:
2020-05-09
申请人:
武汉科技大学
发明人:
吴玲、李婷玉、余海东、申露萍、颜家保、俞丹青
公开日:
代理机构:
主分类号:
C25B11/08(20060101)
我要购买
摘要:
一种TiO
2
/Au/CoPi复合纳米管阵列光阳极的制备方法,依次包括TiO
2
纳米管阵列薄膜的制备、TiO
2
/Au纳米管阵列薄膜的制备和TiO
2
/Au/CoPi纳米管阵列薄膜的制备,其特征在于:所述TiO
2
/Au/CoPi纳米管阵列薄膜的制备是将TiO
2
/Au纳米管阵列薄膜作为工作电极,Pt片为对电极,Ag/AgCl电极为参比电极,以Co(NO
3
)
2
磷酸盐缓冲溶液为电解液,在可见光下光电沉积磷酸钴盐(CoPi)助催化剂,然后取出用去离子水清洗、干燥。本发明制备方法Au纳米颗粒均匀沉积到TiO
2
表面,不发生团聚,且形貌均匀,磷酸钴盐(CoPi)助催化剂快速、精准地沉积到Au纳米颗粒表面,而不沉积到TiO
2
表面,增加了分解水产氧反应的活性位点,高效发挥磷酸钴盐(CoPi)助催化剂的催化性能,在相同偏压下,光电密度约为TiO
2
/Au的3倍。
[发明]
一种纳米Au修饰的WO
3
纳米片阵列光阳极的制备方法
申请号:
202010384843.1
状态:
审中-公开
申请日:
2020-05-09
申请人:
武汉科技大学
发明人:
吴玲、余海东、刘春阳、李豪、颜家保、俞丹青
公开日:
代理机构:
主分类号:
H01G9/20(20060101)
我要购买
摘要:
一种纳米Au修饰的WO
3
纳米片阵列光阳极的制备方法,依次包括WO
3
纳米片阵列薄膜的制备和WO
3
/Au光阳极的制备,其特征在于:所述WO
3
/Au光阳极的制备是将WO
3
纳米片阵列薄膜置于SnCl
2
的盐酸溶液浸泡,然后用无水乙醇冲洗吹干,再置于HAuCl
4
水溶液中浸泡一段时间,然后取出去离子水冲洗吹干,最后置于HNO
3
水溶液中浸泡一段时间,即制得WO
3
/Au光阳极。本发明方法制备WO
3
/Au光阳极,超细Au纳米颗粒在WO
3
表面均匀沉积、分散性优异,沉积的Au颗粒尺寸均匀,约为10nm,在Au与WO
3
界面形成肖特基结促进了电荷分离,WO
3
纳米片的单晶结构又提供了良好电子传输的通道,从而有效的提高了其光电催化性能。
[发明]
多轴/场域碳纤维应变传感器及其应用方法
申请号:
202010384010.5
状态:
审中-公开
申请日:
2020-05-08
申请人:
武汉科技大学
发明人:
郑华升、郭家宝、韩中州、陈精英、姚波
公开日:
代理机构:
主分类号:
G01B7/16(20060101)
我要购买
摘要:
本发明涉及一种多轴/场域碳纤维应变传感器及其应用方法,包括基底,基底上表面固定有由四条碳纤维纱线组成的外围矩形框,外围矩形框内沿经向、纬向和斜向均匀铺设有碳纤维纱线,经向和纬向的碳纤维纱线形成了多个大小相等的矩形网格,斜向的碳纤维纱线将每个矩形网格分为了两个三角形单元,碳纤维交叉处相互接触形成节点,在外围矩形框上选取若干个节点粘贴铜丝以形成电极,封装后加压成型。本发明利用连续碳纤维的力阻功能效应研发了一种具有场域监测功能的应变传感器,通过在结构表面的大面积敷设,该传感器可实现结构表面所有应变分量的场域测量,并具有成本低廉、布线简单、测量仪器要求低和耐久性好的优点。
[实用新型]
一种便于挂载的桥梁混凝土红外热成像设备
申请号:
202020761602.X
状态:
有权
申请日:
2020-05-08
申请人:
武汉科技大学
发明人:
金辉、邹兰林
公开日:
代理机构:
主分类号:
G01J5/00(20060101)
我要购买
摘要:
本实用新型公开了一种便于挂载的桥梁混凝土红外热成像设备,包括红外热成像设备本体、底部连接板,所述红外热成像设备本体外部设置有防护壳,该防护壳通过可调节角度的底部角度调节组件底部连接;所述底部连接板上设置有多个用于固定红外热成像设备的固定组件;所述固定组件包括连接块、连接杆和一对夹板,所述连接杆通过连接块固定在底部连接板底部,所述连接杆自由端设置有螺纹段,所述一对夹板的其中一个夹板固定在连接杆上,另一个夹板连接在螺纹段上,并由端部的固定螺母固定,所述一对夹板相对侧均设置有卡槽。整个装置结构简单、安装调节方便,有利于热红外成像设备的安装和检查。
[发明]
一种基于嵌入式FEFnet网络的图像自动检测计数方法及系统
申请号:
202010404904.6
状态:
审中-公开
申请日:
2020-05-07
申请人:
武汉科技大学
发明人:
潘炼、王凯
公开日:
代理机构:
主分类号:
G06T7/00(20170101)
我要购买
摘要:
本发明涉及一种基于嵌入式FEFnet网络的图像自动检测计数方法,其特征在于,包括以下步骤:将图像进行数据准备与预处理;再放入空洞卷积CNN网络提取特征图;将特征图放入多层感受野RPN网络中提取更精准的候选框;特征图和候选框送入ROI Align层将特征图转化为固定维度;最后使用全连接层输出分类和回归向量。通过反复迭代更新权重输出模型,调用模型放入检测装置中检测图像位置及个数。同时还涉及到一种基于嵌入式的图像自动识别系统,用以实现所提供的FEFnet网络复杂背景图像自动检测与计数方法。本发明能有效的进行类似图像目标识别,其目标识别的精度高、速度快、鲁棒性好,且同时具有通用目标检测的能力,具有较好的市场运用前景。
[发明]
路网约束下多警员协作围捕任务分配及路径规划方法
申请号:
202010372605.9
状态:
审中-公开
申请日:
2020-05-06
申请人:
武汉科技大学
发明人:
陈洋、胡子峰、吴怀宇、陈志环、童枭军
公开日:
代理机构:
主分类号:
G01C21/34(20060101)
我要购买
摘要:
本发明公开了一种路网约束下多警员协作围捕任务分配及路径规划方法,包括以下步骤:1)获取路网的道路拓扑地图G;2)获取路网G中警员分布信息和任务目标位置信息;3)根据任务目标出现的位置结合道路拓扑地图,确定任务目标下一个可能达到的节点集合;4)获取各警员和任务目标的移动速度;5)根据拦截点集合,以及警员和任务目标的移动速度,确认待分配警员集合;6)计算拦截点集合中各个路口的拥挤度;7)建立路网约束下多警员协作围捕任务分配及路径规划优化模型;8)求解优化模型,获得多警员协作围捕任务分配及路径规划方案。本发明通过建立多目标优化模型,合理地将警员分配到各个抓捕点,有效提高抓捕效率。
[发明]
一种测试矿石品位分布方法
申请号:
202010374565.1
状态:
审中-公开
申请日:
2020-05-06
申请人:
武汉科技大学
发明人:
王平、程爱平、兰建强、曾文旭、刘红阳、闫曳綪
公开日:
代理机构:
主分类号:
G01N27/72(20060101)
我要购买
摘要:
本发明公开了一种测试矿石品位分布方法,属于磁铁矿石地下开采技术领域。所述测试矿石品位分布方法包括以下步骤:通过凿岩机的钎杆上向中深孔钻屑,通过钻屑收集装置收集若干份钻屑;将若干所述钻屑分别放入磁性物质含量测试仪内,获取所述钻屑的四氧化三铁的含量;根据若干所述钻屑的四氧化三铁的含量,获取若干所述铁矿石的品位;根据若干所述铁矿石的品位绘制矿体内矿石品位分布图。本发明测试矿石品位分布方法根据钻屑磁性来测试矿石品位,在满足测试精度的基础上,具有操作简便快捷、耗时短、费用较低优点,能够可靠地使用于井下现场的矿石品位测试。
[发明]
一种低温饱和岩石冻融波速与变形实时测量方法
申请号:
202010371732.7
状态:
审中-公开
申请日:
2020-05-06
申请人:
武汉科技大学
发明人:
刘艳章、蔡原田、黄诗冰、叶义成、王瑾、王刘宝、王成、周泓康
公开日:
代理机构:
主分类号:
G01N29/07(20060101)
我要购买
摘要:
本发明涉及一种低温饱和岩石冻融波速与变形实时测量方法。其技术方案是:采用低温岩石声波波速与变形测试装置,测得冻融时刻为t
i
时的待测试样(24)高度方向的位移C
i‑1
和待测试样(24)侧面方向的位移之和
利用该测试装置各方向位移测量误差对待测试样(24)位移测试结果进行校正:校正后待测试样(24)高度方向的位移R
i‑1
=C
i‑1
+β
i‑1
;校正后待测试样(24)侧面方向的位移之和
将待测试样(24)的高度h
di
=R
i‑1
+h
s
输入到声波检测仪(23)中,读取待测试样(24)波速v
i
;得到待测试样(24)的高度方向应变
和侧向应变
本发明能实时测量岩石冻融过程中波速与变形,测试结果准确可靠。
[实用新型]
膨胀材料的膨胀压力和膨胀体积一体测试装置
申请号:
202020705414.5
状态:
有权
申请日:
2020-04-30
申请人:
武汉科技大学
发明人:
姚囝、邓兴敏、叶义成、刘一鸣、李鹏程、汪迪、陈常钊、杨帆
公开日:
代理机构:
主分类号:
G01L1/04(20060101)
我要购买
摘要:
本实用新型公开了膨胀材料的膨胀压力和膨胀体积测试装置,立柱为多个,且均固定于底座的顶面;加载构件固定于立柱的顶部;传力板外周侧端与多个立柱可滑动连接;传压构件顶部外周开设有安装孔;传力杆外周套设有弹性件,且其顶端穿过安装孔固定于传力板上;传压构件底端与膨胀材料试样的顶部抵接;弹性件形变量测试构件顶端固定于传力板的底部,底端与传压构件的顶端抵接。本实用新型公开的膨胀材料的膨胀压力和膨胀体积测试装置及方法,加载构件通过传力构件和传压构件对膨胀材料试样进行加载,膨胀材料在不同时间段发生膨胀,测试构件测量出传力构件的形变量,根据公式计算出试件的膨胀压力和膨胀体积,操作简单、测量精确。
[发明]
膨胀材料的膨胀压力和膨胀体积一体测试装置及测试方法
申请号:
202010365375.3
状态:
审中-公开
申请日:
2020-04-30
申请人:
武汉科技大学
发明人:
姚囝、邓兴敏、叶义成、刘一鸣、李鹏程、汪迪、陈常钊、杨帆
公开日:
代理机构:
主分类号:
G01L1/04(20060101)
我要购买
摘要:
本发明公开了膨胀材料的膨胀压力和膨胀体积测试装置及方法,立柱为多个,且均固定于底座的顶面;加载构件固定于立柱的顶部;传力板外周侧端与多个立柱可滑动连接;传压构件顶部外周开设有安装孔;传力杆外周套设有弹性件,且其顶端穿过安装孔固定于传力板上;传压构件底端与膨胀材料试样的顶部抵接;弹性件形变量测试构件顶端固定于传力板的底部,底端与传压构件的顶端抵接。本发明公开的膨胀材料的膨胀压力和膨胀体积测试装置及方法,加载构件通过传力构件和传压构件对膨胀材料试样进行加载,膨胀材料在不同时间段发生膨胀,测试构件测量出传力构件的形变量,根据公式计算出试件的膨胀压力和膨胀体积,操作简单、测量精确。
[发明]
氢氧化铜纳米片复合氮化碳泡沫光催化材料及其制备方法
申请号:
202010367937.8
状态:
审中-公开
申请日:
2020-04-30
申请人:
武汉科技大学
发明人:
方伟、赵雷、孙志敏、陈辉、杜星、何漩、李薇馨
公开日:
代理机构:
主分类号:
B01J27/24(20060101)
我要购买
摘要:
本发明涉及一种氢氧化铜纳米片复合氮化碳泡沫光催化材料及其制备方法。其技术方案是:将g‑C
3
N
4
泡沫加入HNO
3
溶液中,得硝酸处理g‑C
3
N
4
泡沫;将SnCl
2
和盐酸溶于去离子水,再加入硝酸处理g‑C
3
N
4
泡沫,得敏化处理g‑C
3
N
4
泡沫。将AgNO
3
和氨水溶于去离子水,再加入敏化处理g‑C
3
N
4
泡沫,得活化处理g‑C
3
N
4
泡沫。将CuSO
4
·5H
2
O、酒石酸钾钠、乙二胺四乙酸二钠、甲醛溶液和NaOH溶于去离子水中,再加入活化处理g‑C
3
N
4
泡沫,得电解液处理g‑C
3
N
4
泡沫。将NaOH和过硫酸铵溶于去离子水中,再加入电解液处理g‑C
3
N
4
泡沫,制得氢氧化铜纳米片复合氮化碳泡沫光催化材料。本发明工艺简单和成本低,所制制品的Cu(OH)
2
纳米片负载量大和催化活性高。
[发明]
一种基于距离判断和角度偏转的移动机器人路径规划方法
申请号:
202010366446.1
状态:
审中-实审
申请日:
2020-04-30
申请人:
武汉科技大学
发明人:
李峻、蒋林、聂文康、马先重、雷斌、赵慧
公开日:
代理机构:
主分类号:
G05D1/02(20200101)
我要购买
摘要:
本发明提供一种基于距离判断和角度偏转的移动机器人路径规划方法,包括如下步骤:步骤1:利用SLAM建图算法构建的全局栅格地图作为先验信息,用于全局路径规划得到预规划路径,在环境没有发生改变的静态环境中,移动机器人按照预规划路径进行运动,步骤2:当环境发生改变,即预规划路径上出现障碍物时,移动机器人根据激光雷达扫描的信息获取距离信息和障碍物角度范围信息,指导移动机器人偏转移动,达到回归全局预规划路径的目的,进而实现机器人在动态环境下的导航。本发明方法,通过机器人已有传感器获取障碍物距离信息和角度范围信息,进行解三角形计算出避障轨迹,降低了机器人计算量,增强了机器人运动的实时性,提高机器人移动效率。
[发明]
一种石墨化炭化稻壳泡沫光热材料及其制备方法
申请号:
202010366444.2
状态:
审中-公开
申请日:
2020-04-30
申请人:
武汉科技大学
发明人:
方伟、赵雷、陈辉、何漩、杜星、李薇馨、胡威威
公开日:
代理机构:
主分类号:
C04B35/532(20060101)
我要购买
摘要:
本发明涉及一种石墨化炭化稻壳泡沫光热材料及其制备方法。其技术方案是:将5~15质量份稻壳与100质量份ZnCl
2
溶液混合,浸渍,干燥,研磨,得ZnCl
2
处理稻壳粉;再将30~50质量份ZnCl
2
处理稻壳粉与100份质量Ni(NO
3
)
2
溶液混合,浸渍,干燥,得硝酸镍复合稻壳;然后将10~15质量份的硝酸镍复合稻壳与100质量份去离子水混匀,混匀后加入1~2质量份十二烷基磺酸钠、1~2质量份十二醇和1~2质量份树脂胶,经低速搅拌和高速搅拌后加入14~21质量份的环氧树脂,搅拌,成型,冷冻干燥,80~100℃干燥;最后在氮气和1000~1200℃热处理1~3h,制得石墨化炭化稻壳泡沫光热材料。本发明成本低廉;所制制品的石墨化程度、水蒸发效率和光热转换效率高。
首页
上一页
61
62
63
64
65
66
67
68
69
70
下一页
尾页
当前共找到
8115
个专利记录
,当前显示页码
65/406