首页
专利查询
专利购买
专利转让
专利申请
15071489439
当前位置:
专利巴士
专利查询
专利名称
查询
高级查询
当前共找到
8115
个专利记录
,当前显示页码
70/406
专利名称
申请号
申请人
发明人
专利代办机构
[发明]
一种基于滑模观测器的模块化多电平换流器鲁棒故障检测方法
申请号:
202010107799.X
状态:
审中-实审
申请日:
2020-02-21
申请人:
武汉科技大学
发明人:
张永、成晓斌、刘振兴、蔡彬、赵敏、张雄希
公开日:
代理机构:
主分类号:
G01R31/54(20200101)
我要购买
摘要:
本发明涉及一种基于滑模观测器的模块化多电平换流器鲁棒故障检测方法,所述模块化多电平换流器包括三个相同的单相MMC等效电路相单元,每一所述单相MMC等效电路相单元包含上、下两个桥臂,每个桥臂均由N个结构相同的子模块、一个桥臂电感L和桥臂等效电阻R串联组成,每个子模块包括两个带反并联二极管的IGBT和一个电容C构成的半桥结构,所述方法采用滑模观测器、基于状态空间模型、等效输出误差注入等技术实现了对多电平换流器故障信息重构,且发生故障时,系统仍可保持滑模运动,实现了对多电平换流器故障的检测和隔离,解决了传统的诊断方法无法提供足够的系统故障信息,在多电平换流器系统出现故障后,无法及时有效分析故障及其原因的问题。
[发明]
一种耐酸T-NaY型沸石分子筛复合膜的制备方法及应用
申请号:
202010108027.8
状态:
审中-实审
申请日:
2020-02-21
申请人:
武汉科技大学、武汉智宏思博环保科技有限公司
发明人:
周志辉、施逸农、吴红丹
公开日:
代理机构:
主分类号:
B01D71/02(20060101)
我要购买
摘要:
本发明提供一种耐酸T‑NaY型沸石分子筛复合膜的制备方法,其特征在于,包括如下步骤:步骤(1):配置T型沸石分子筛晶种悬浮液和NaY型沸石分子筛合成液;步骤(2):将所述T型沸石分子筛晶种悬浮液涂敷在载体表面,干燥,焙烧,得到负载有T型沸石分子筛晶种的载体;步骤(3):将所述负载有T型沸石分子筛晶种的载体在所述NaY型沸石分子筛合成液中进行水热合成,得到T‑NaY型沸石分子筛复合膜。本发明所制备的耐酸性沸石分子筛复合膜可适应pH≥5的酸性条件。
[发明]
一种强化石化污泥厌氧消化的预处理方法
申请号:
202010106258.5
状态:
审中-公开
申请日:
2020-02-21
申请人:
武汉科技大学
发明人:
王黎、吴少奇、鲁逸飞
公开日:
代理机构:
主分类号:
C02F11/00(20060101)
我要购买
摘要:
本发明属于污泥资源化处理技术领域,公开了一种强化石化污泥厌氧消化的预处理方法,包括以下步骤:(1)机械粉碎初步处理,转速为10000~15000rpm,持续时间10~15min;(2)碱性溶胞处理,温度为60~80℃,碱性物质投加量为0.5~1.0g/g TS,处理时间为30min,期间污泥搅拌速率为150rpm,(3)碱性中和处理,用5mol/L的HCl溶液对污泥进行中和;(4)超声强化水解处理,能量输入比为6~18kJ/g TS,水解温度为35℃,期间污泥搅拌速率为150rpm。实验结果表明,采用本发明的石化污泥预处理方法,污泥的溶解性蛋白质提高了11.5~20.6倍,溶解性多糖提高了10.2~22.3倍。
[发明]
一种稀硫酸和氧化石墨烯共掺改性二氧化钛复合材料、制备方法及其应用
申请号:
202010109022.7
状态:
审中-实审
申请日:
2020-02-21
申请人:
武汉科技大学
发明人:
王姗、汪恂、张龙
公开日:
代理机构:
主分类号:
B01J20/20(20060101)
我要购买
摘要:
本发明公开了一种稀硫酸和氧化石墨烯共掺改性二氧化钛复合材料、制备方法及其应用。制备方法如下:(1)将钛酸四丁酯加入到乙醇中形成A液;(2)配制乙醇‑硫酸溶液形成B液,将B液滴加到A液中搅匀得到混合液;(3)恒温反应得到浆液;(4)将浆液离心分离,经洗涤、烘干、研磨得到粉末;(5)煅烧后得到硫酸‑二氧化钛;(6)配制氧化石墨烯分散液;(7)将硫酸‑二氧化钛加入氧化石墨烯分散液到中反应形成悬浮液;(8)将悬浮液恒温反应后得粗产物;(9)将粗产物洗涤、烘干后即得复合材料。制备简单、成本低廉、适用于规模化生产。所制备的复合材料纯度高,可高效降解盐酸四环素,在环境污染修复方面具有良好的应用价值。
[发明]
一种包覆抗水化氧化钙材料及其制备方法
申请号:
202010096914.8
状态:
审中-公开
申请日:
2020-02-17
申请人:
武汉科技大学
发明人:
魏耀武、李炳蓉、刘少坤、王金虎
公开日:
代理机构:
主分类号:
C01F11/04(20060101)
我要购买
摘要:
本发明涉及一种包覆抗水化氧化钙材料及其制备方法。其技术方案是:先将氢氧化钙粉体和无水乙醇倒入容器中,均匀分散,制得氢氧化钙浆料。再于搅拌条件下向氢氧化钙浆料中加入磷钛酸酯溶液,继续搅拌20~30分钟,得到混合浆体。混合浆体中,氢氧化钙粉体∶无水乙醇∶磷钛酸酯溶液的质量比为1∶1.2~1.8∶0.02~0.15。然后将混合浆体在110℃下干燥20~28小时,粉磨,得到改性氢氧化钙粉体。最后,将改性氢氧化钙粉体在60~200Mpa条件下压制成型,在1500~1700℃温度下保温3~6小时,冷却,制得包覆抗水化氧化钙材料。本发明制备的包覆抗水化氧化钙材料使用温度高、高温性能稳定和抗水化性能好,是制备氧化钙陶瓷和氧化钙耐火材料的理想原料。
[发明]
一种镁钙材料及其制备方法
申请号:
202010096756.6
状态:
审中-公开
申请日:
2020-02-17
申请人:
武汉科技大学
发明人:
魏耀武、李炳蓉、肖俊李
公开日:
代理机构:
主分类号:
C04B35/66(20060101)
我要购买
摘要:
本发明涉及一种镁钙材料及其制备方法。其技术方案是:将60~70wt%的镁钙砂颗粒、20~30wt%的镁钙砂细粉、2~5wt%的磷酸铈和3~6wt%的磷钛酸酯混合,搅拌均匀,压制成形,自然干燥20~30小时;再于110℃条件下干燥8~16小时,然后在1500~1700℃条件下烧成2~5小时,冷却,制得镁钙材料。其中:所述镁钙砂的MgO含量均≥40wt%,镁钙砂颗粒的粒径为0.2~11mm,所述镁钙砂细粉的粒径为3~200μm;所述磷酸铈的粒径为3~200μm;所述磷钛酸脂中的P
2
O
5
含量≥1wt%,TiO
2
的含量≥1wt%。本发明工艺简单、成本低和环境友好,所制备的镁钙材料抗水化能力优异和净化金属熔体效果显著,适合于纯净化冶炼用耐火材料。
[发明]
一种新型智能胶囊出药机构及控制方法
申请号:
202010096713.8
状态:
审中-公开
申请日:
2020-02-17
申请人:
武汉科技大学
发明人:
熊满满、简宏达、陈周周、彭九九、胡文韬、李公法
公开日:
代理机构:
主分类号:
A61J7/04(20060101)
我要购买
摘要:
本发明公开了一种新型智能胶囊出药机构及控制方法,包括储药室、胶囊出药机构、转动机构、驱动机构、胶囊收集机构、传感部分和控制部分,储药室用于存储胶囊且底部连接有胶囊滑道,胶囊出药机构包括出药滚子、凸块和推动装置,出药滚子抵靠在胶囊滑道底部,出药滚子侧面设有容纳一个胶囊的胶囊容纳腔且一端面设有凹槽,通过推动装置推动凸块向前移动使得凸块与凹槽配合,转动机构用于带动推动装置转动进而带动出药滚子转动,驱动机构提供驱动源,胶囊收集机构用于收集排出的胶囊,控制部分用于控制整个装置。本发明的目的是提供一种新型智能胶囊出药机构及控制方法,不仅能提醒患者服药,且能够定时定量排出需要患者服用的多种胶囊。
[发明]
一种智能药片出药装置及控制方法
申请号:
202010096729.9
状态:
审中-公开
申请日:
2020-02-17
申请人:
武汉科技大学
发明人:
胡文韬、彭九九、陈周周、简宏达、熊满满、李公法
公开日:
代理机构:
主分类号:
B65D83/04(20060101)
我要购买
摘要:
本发明公开了一种智能药片出药装置及控制方法,包括壳体、储药室、药片出药机构、动力机构、收集导轨、扫药杆、扫药杆驱动机构、红外线传感器和控制部分,壳体起支撑作用,储药室用于放置多个药片,药片出药机构用于将储药室的药片推出来,动力机构用于提供动力,收集导轨用于收集从储药室推出的药片,红外线传感器用于检测药片从储药室200中推出并计数,控制部分用于控制整个装置。本发明的目的是提供一种智能药片出药装置及控制方法,不仅能提醒患者服药,且能够定时定量排出需要患者服用的多种药片。
[发明]
PTPN22基因拷贝数变异检测试剂盒及检测方法
申请号:
202010090321.0
状态:
审中-公开
申请日:
2020-02-13
申请人:
武汉科技大学
发明人:
徐瑶、郑潇、李家俊、盛杰、郭辉、龙文林、卓情、张同存
公开日:
代理机构:
主分类号:
C12Q1/6883(20180101)
我要购买
摘要:
本发明涉及一种PTPN22基因拷贝数变异检测试剂盒及检测方法,该试剂盒包括用于检测PTPN22基因CNV区域的第一探针和第一引物对以及用于检测内参基因的第二探针和第二引物对。采用该试剂盒和ddPCR技术相配合可快速准确检测出PTPN22基因的拷贝数,为糖尿病的临床诊断和评估提供参考。
[实用新型]
一种基于电磁继电器的感应垃圾桶
申请号:
202020163620.8
状态:
有权
申请日:
2020-02-12
申请人:
武汉科技大学
发明人:
王正、史梦成、戴超凡、牛会通、瞿华、王昆
公开日:
代理机构:
主分类号:
B65F1/14(20060101)
我要购买
摘要:
一种基于电磁继电器的感应垃圾桶,包括桶体、容纳腔及桶盖,桶体与容纳腔之间设置有第一空腔,第一空腔底部设置有电磁继电器,电磁继电器上方依次设置有磁铁、连接件及V型构件,V型构件位于桶体外部,容纳腔顶部设置有支耳,V型构件开口朝上,V型构件底部与支耳铰接,V型构件一侧与连接件顶部连接,另一侧与桶盖固定连接;连接件底部与磁铁连接;桶体内部设置有电源及开关,桶体外壁设置有热红外人体感应器,电源与热红外人体感应器电性连接,电源、开关及电磁继电器依次电性连接。当人体靠近桶体时,桶盖向上运动。本实用新型不需要使用齿轮、电机等较复杂的机械传动结构,使用方便,结构简单,成本低廉,有利于推广应用。
[发明]
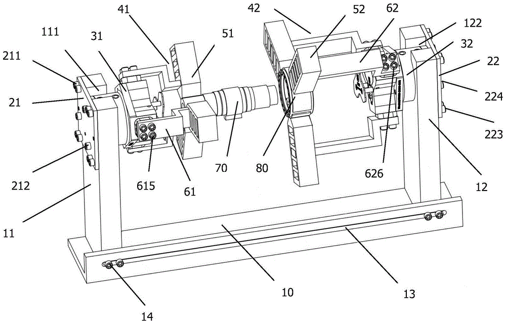
一种微动滑动复合摩擦磨损试验系统及其操作方法
申请号:
202010086525.7
状态:
审中-公开
申请日:
2020-02-11
申请人:
武汉科技大学
发明人:
张坡、李晨、曾良才、卢艳、罗石元、姜浩、陈茜琳、阮崇禄、刘思培、孙炼、张钧尧
公开日:
代理机构:
主分类号:
G01N3/02(20060101)
我要购买
摘要:
本发明涉及一种微动滑动复合摩擦磨损试验系统,包括支撑装置、压力加载装置、三维力传感器、微动及滑动驱动装置、精密夹持装置、测量装置、摩擦副单元、数据采集卡以及计算机控制系统;通过计算机控制系统进行协调,从而实时的输出各种不同载荷大小、摩擦力频率和振动位移幅值下摩擦副的磨损性能情况;本发明实现的试验系统能很好地模拟人体和工业应用中等许多摩擦副实际运动模式为微动、滑动复合叠加的实际情形,同时该试验系统能够对试验载荷、润滑工况、滑动摩擦的滑动速度及速度、微动摩擦的微动幅度及频率进行设定,可以进行纯微动及纯滑动模式下的摩擦磨损试验。
[发明]
一种单叶片液压摆动油缸安装装置
申请号:
202010085019.6
状态:
审中-公开
申请日:
2020-02-10
申请人:
武汉科技大学
发明人:
黄海祺、谢良喜、吴攀峰
公开日:
代理机构:
主分类号:
B23P21/00(20060101)
我要购买
摘要:
一种单叶片液压摆动油缸安装装置,包括底板、第一竖板、第二竖板、第一连接板、第二连接板、第一固定座、第二固定座、第一同轴组件、第二同轴组件、转子及缸体;所述第一同轴组件包括多个第一同轴支架及多个第一同轴叶片,所述第二同轴组件包括多个第二同轴支架及多个第二同轴叶片;所述第一固定座中心、第一同轴组件中心、第二同轴组件中心及第二固定座中心位于同一水平线上;当相向移动第一竖板及第二竖板时,所述转子能够朝向靠近缸体的方向运动,并安装于缸体内。本发明能够确保转子与缸体安装同轴度,操作方便,结构简单,成本低廉,具有重要市场价值。
[发明]
一种基于纸币印刷图案特征的纸币形成方式检验鉴定方法
申请号:
202010084447.7
状态:
审中-实审
申请日:
2020-02-10
申请人:
武汉科技大学
发明人:
朱子奇、陆琪、邹积鑫、刘夕、邓春华、刘静
公开日:
代理机构:
主分类号:
G06K9/00(20060101)
我要购买
摘要:
本发明公开了一种基于纸币印刷图案特征的纸币形成方式检验鉴定方法。它包括采集纹理图像,图像数据增强,图像特征提取,图像特征融合,得到的图像特征加上标签作数据集进行训练,得到相应采集条件下训练好的SVM模型;将新纸币在多种采集条件下采集的纹理图像进行数据增强、特征提取及特征融合,使用训练好的SVM模型进行图像特征分类得到每一类标签及其概率值,按权重计算得到多种采集条件下的预测标签及其概率值,按权重重新计算,得到新纸币最后的标签。该方法将假币按印刷图案特征进行分类,从假币的印刷形成方式着手,对假币的印刷形成方式进行检验鉴定,能够快速、精准地识别假币,耗时少,成本低,且可帮助公安部门对假币进行反侦察处理。
[发明]
一种异步电机转矩反步控制方法
申请号:
202010084413.8
状态:
审中-公开
申请日:
2020-02-10
申请人:
武汉科技大学
发明人:
宁博文
公开日:
代理机构:
主分类号:
H02P21/12(20160101)
我要购买
摘要:
本发明提出一种异步电机转矩反步控制方法,包括以下步骤:转速控制器设计:得到转矩控制量给定值
转矩和定子磁链控制器设计:得到符合第二预设规则的转矩和定子磁链控制器的输出电压
负载转矩补偿:得到负载转估计值
作为所述负载转矩补偿;信号驱动运行:根据所述转矩和定子磁链控制器的输出电压
和所述负载转矩估计值
经过空间电压矢量调制模块得到逆变器的驱动信号使所述异步电机运行。本发明提供的异步电机转矩反步控制方法,不仅降低了转矩和磁链波动,也有效减少了电机参数变化和负载扰动对控制性能的影响,增强了电机控制系统的鲁棒性,从而提升了电机控制系统的响应性能。
[发明]
一种基于区块链的机电产品主动再制造服务系统
申请号:
202010082708.1
状态:
审中-公开
申请日:
2020-02-07
申请人:
武汉科技大学
发明人:
李胜强、张华、鄢威、江志刚、邢世雄、贺杨晨玥、肖智文、方陈、王三平
公开日:
代理机构:
主分类号:
G06Q50/04(20120101)
我要购买
摘要:
本发明公开了一种基于区块链的机电产品主动再制造服务系统,属于主动再制造服务技术领域。系统包括:系统管理模块,用于管理系统信息;数据库管理模块,用于保存机电产品全生命周期的主动再制造案例知识到案例知识区块链上和记录服务交易信息到交易区块链上;主动再制造服务模块,用于记录由再制造企业提供的主动再制造服务信息于服务资源区块链中,并对所述主动再制造服务信息进行检索。本发明从机电产品全生命周期的角度出发,利用区块链技术去中心化的特点,安全高效地整合存在与各个再制造企业内部的机电产品主动再制造案例知识以及与之相相应的服务资源,能够帮助各方获取优质的主动再制造服务资源,进而推动主动再制造技术的发展。
[发明]
一种基于区块链和实例推理的再制造工艺规划方法
申请号:
202010082718.5
状态:
审中-公开
申请日:
2020-02-07
申请人:
武汉科技大学
发明人:
李胜强、张华、鄢威、江志刚、邢世雄、贺杨晨玥、肖智文、方陈、王三平
公开日:
代理机构:
主分类号:
G06Q10/06(20120101)
我要购买
摘要:
本发明公开了一种基于区块链和实例推理的再制造工艺规划方法,属于机电产品再制造技术领域。方法包括:标准化表示待解决的再制造工艺规划问题;通过最近邻算法对再制造工艺案例知识进行检索;评估再制造工艺案例知识能否直接用于解决待解决的再制造工艺规划问题,如果能,则流程结束,如果不能,则对再制造工艺案例知识进行修改,并将修改后的再制造工艺案例知识以知识区块的形式添加到再制造工艺案例知识区块链中。本发明通过安全高效地共享再制造中小企业的再制造工艺案例知识,能有效地帮助再制造中小企业快速、高效地规划出集经济、环境和社会效益于一体的最优的再制造工艺方案,从而实现整个再制造行业的稳步向前发展。
[发明]
钢围堰固定支撑架
申请号:
202010096378.1
状态:
审中-公开
申请日:
2020-02-06
申请人:
武汉科技大学
发明人:
马备
公开日:
代理机构:
主分类号:
E02D19/04(20060101)
我要购买
摘要:
本发明公开了一种钢围堰固定支撑架,涉及水利设备领域,该该钢围堰固定支撑架包括开有安装孔的固定板,固定板通过两上铰链连接有两螺纹杆,螺纹杆均配有螺纹管,两螺纹管通过下铰链连接有垫板,垫板均设有固定插钉。该钢围堰固定支撑架不仅可以连接整排的钢板桩,而且可以与水底地面形成支撑结构,安装简单方便,稳定性好。
[实用新型]
一种基于内置电动推杆的保险箱
申请号:
202020153084.3
状态:
有权
申请日:
2020-02-05
申请人:
武汉科技大学
发明人:
李畅、王诚钊
公开日:
代理机构:
主分类号:
E05G1/00(20060101)
我要购买
摘要:
本实用新型涉及一种基于内置电动推杆的保险箱,包括箱体和箱门,还包括由电机控制的电动顶杆机构,所述电动顶杆机构设置在箱门与箱体内侧后壁之间,所述电动顶杆机构包括丝杆和与丝杆配合的顶杆,所述电机与后壁固定,所述丝杆一端与电机连接,所述顶杆一端套接在丝杆上,另一端通过转动轴与箱门内侧活动连接,所述箱体内侧壁靠近箱门处还包括倒L型的滑轨,所述箱门内侧设置有与滑轨配合的滑动件,所述箱体内还包括用于接收信息的电机控制模块。电机控制模块用于接收交互设备远程发出的指令,使保险箱的打开方式更加安全可靠,且可远程控制箱门开合,省去不必要的麻烦。本实用新型可远程遥控,方便使用,结构简单,安全可靠。
[发明]
一种治疗血液肿瘤合并HIV感染的双特异性嵌合抗原受体、基因、构建方法及其应用
申请号:
202010081004.2
状态:
审中-公开
申请日:
2020-02-05
申请人:
武汉科技大学
发明人:
顾潮江、张同存
公开日:
代理机构:
主分类号:
C07K19/00(20060101)
我要购买
摘要:
本发明公开了一种治疗HIV感染合并血液肿瘤的双特异性嵌合抗原受体重组基因的构建方法及其应用,所述嵌合抗原受体由信号肽、HIV gp120抗原特异性单链抗体及抗CD19单链抗体依次连接,再和CD28跨膜区以及CD28胞内结构域(ICD)、4‑1BB共刺激结构域、CD3ζ胞内信号传导结构域依次串联组成,或者所述嵌合抗原受体由信号肽、HIV gp120抗原特异性单链抗体和CD28跨膜区以及CD28‑ICD、4‑1BB共刺激结构域、CD3ζ胞内信号传导结构域(第一CAR)和信号肽、抗CD19单链抗体和CD8跨膜区以及CD28‑ICD、4‑1BB共刺激结构域、CD3ζ胞内信号传导结构域(第二CAR),第一CAR和第二CAR依次并联组成。
[实用新型]
一种苍蝇拍
申请号:
202020148352.2
状态:
有权
申请日:
2020-01-31
申请人:
武汉科技大学
发明人:
杨文升、代晨龙、徐茹薇、赵雪琦、万婷
公开日:
代理机构:
主分类号:
A01M3/02(20060101)
我要购买
摘要:
本实用新型涉及一种苍蝇拍,包括拍网和拍杆,所述拍网和拍杆之间通过螺旋弹簧连接,所述拍杆为多段式的伸缩杆,所述拍网和拍杆之间还设置有橡胶套,所述橡胶套套在螺旋弹簧外侧且两端分别与拍网和拍杆连接,所述橡胶套外表面设置有风琴式褶皱。橡胶套为管状,套在螺旋弹簧外侧,为螺旋弹簧形变提供预应力,既能给予螺旋弹簧一定的纵向形变空间,又可防止螺旋弹簧纵向形变过大而无法恢复,同时可防止螺旋弹簧腐蚀,保证螺旋弹簧的使用寿命;橡胶套外表面设置有风琴式褶皱,使橡胶套可随苍蝇拍向不同方向挥动而形变,使用范围广,方便使用。本实用新型使用寿命长,使用范围广且可保证弹簧使用寿命。
首页
上一页
61
62
63
64
65
66
67
68
69
70
下一页
尾页
当前共找到
8115
个专利记录
,当前显示页码
70/406