首页
专利查询
专利购买
专利转让
专利申请
15071489439
当前位置:
专利巴士
专利查询
专利名称
查询
高级查询
当前共找到
8115
个专利记录
,当前显示页码
71/406
专利名称
申请号
申请人
发明人
专利代办机构
[实用新型]
一种新型翻转机
申请号:
202020148366.4
状态:
有权
申请日:
2020-01-31
申请人:
武汉科技大学
发明人:
孙朝阳、李贵、黄森、朱智殊、王宇威、蔡元憬、袁恩榜
公开日:
代理机构:
主分类号:
B23K37/047(20060101)
我要购买
摘要:
本实用新型涉及一种新型翻转机,包括夹持装置和翻转装置,所述夹持装置包括机械手和第一电机,所述翻转装置包括用于控制机械手翻转的转动件和第二电机,所述翻转装置还包括中空的底座,所述机械手设置在转动件外表面,所述底座与转动件连接,还包括移动装置,所述移动装置包括丝杆和第三电机组成的水平移动装置和伸缩液压缸构成的垂直移动装置,所述伸缩液压缸设置在底座内侧,所述丝杆与底座底部连接。移动装置用于控制机械手位置以方便夹持物体;水平移动装置用于控制夹持装置和翻转装置水平方向移动,垂直移动装置用于控制连接着机械手的转动件垂直方向移动,移动灵活,方便使用。本实用新型方便使用,可翻转任意角度,适用范围广。
[发明]
一种基于直流电流辅助的硅钢冷轧工艺
申请号:
202010075871.5
状态:
审中-公开
申请日:
2020-01-22
申请人:
武汉科技大学
发明人:
李立新、叶奔、程书鹏、张诗昌
公开日:
代理机构:
主分类号:
B21B1/34(20060101)
我要购买
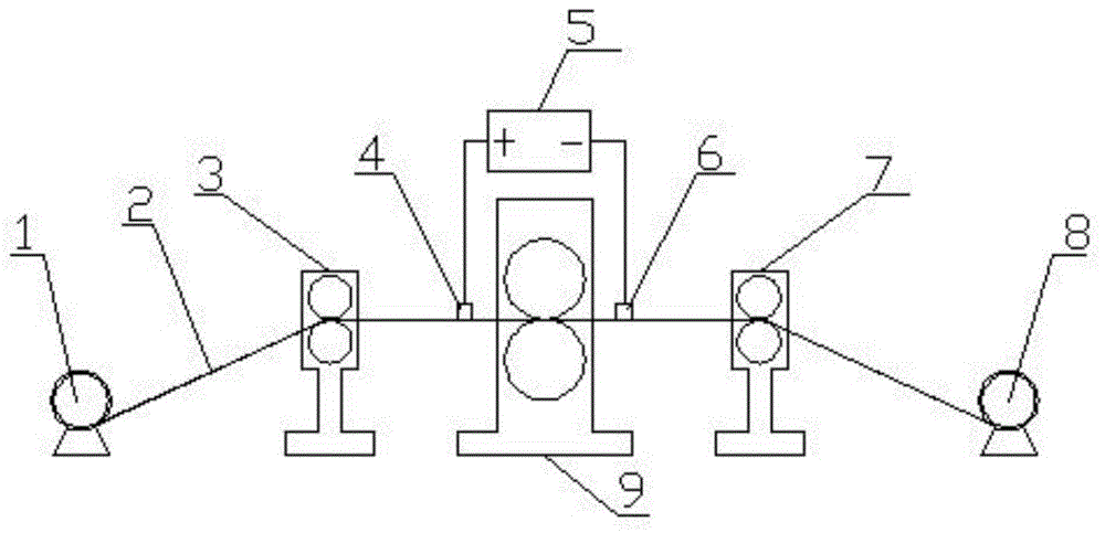
摘要:
一种基于直流电流辅助的硅钢冷轧工艺。其技术方案是:先将硅钢坯料开卷,启动轧机(9),穿带,卷取2~3圈,建立张力,轧机(9)加速,进入稳定轧制阶段;再采用润滑轧制工艺,同时开启直流电源(5),对轧件(2)加载直流电流,进行轧制;当进入轧制甩尾阶段时,关闭直流电源(5),进行卷取。加载直流电流是通过两个电刷组施加:位于轧机(9)前的第一组电刷(4)与直流电源(5)的正极相连,位于轧机(9)后的第二组电刷(6)与直流电源(5)的负极相连,第一组电刷(4)和第二组电刷(6)分别与轧件(2)的表面直接接触;第一组电刷(4)通过轧件(2)与第二组电刷(6)形成电流回路,轧件(2)横断面的电流密度为5~40A/mm
2
。本发明投资小、能耗低、硅钢轧件表面质量好和成材率高。
[发明]
间歇式操作高温窑炉近零热损耐火材料衬体及其制备方法
申请号:
202010065422.2
状态:
审中-公开
申请日:
2020-01-20
申请人:
武汉科技大学
发明人:
张美杰、顾华志、王瑶、黄奥、付绿平、杨爽、夏求林
公开日:
代理机构:
主分类号:
C04B35/66(20060101)
我要购买
摘要:
本发明涉及一种间歇式操作高温窑炉近零热损耐火材料衬体及其制备方法。技术方案是:所述耐火材料衬体的永久衬耐火材料为相变蓄热耐火材料,即为高温相变蓄热耐火材料、中温相变蓄热耐火材料和低温相变蓄热耐火材料由内向外依次组成。相变蓄热耐火材料是由合金@陶瓷大胶囊、合金@氧化铝微胶囊、α‑Al
2
O
3
微粉、硅微粉、铝酸钙水泥和聚羧酸加水混合,经成型、脱模和干燥制得。制备时:合金@陶瓷大胶囊的铝硅镍合金@陶瓷大胶囊、铝硅铁合金@陶瓷大胶囊和铝硅合金@陶瓷大胶囊与合金@氧化铝微胶囊中对应的铝硅镍合金@氧化铝微胶囊、铝硅铁合金@氧化铝微胶囊和铝硅合金@氧化铝微胶囊分别配料。本发明的热损失近似于零和炉衬耐火材料寿命长。
[发明]
立方体机器人及控制系统和方法以及设计方法
申请号:
202010064287.X
状态:
审中-公开
申请日:
2020-01-20
申请人:
武汉科技大学
发明人:
章政、张舰栋、李亚贵、李宇峰、陶卓、李磊
公开日:
代理机构:
主分类号:
G05B11/42(20060101)
我要购买
摘要:
本发明涉及立方体机器人及控制系统和方法以及设计方法,在立方体框架中集成所有部件,各部件之间的连接线或控制线均不伸出于立方体框架;由立方体角度PID控制器和惯性轮角速度自适应模糊PID控制器组成立方体惯性轮角速度及机体角度串级控制系统;外环控制器采用模糊自适应整定PID控制器,测得的惯性轮角速度值应用限幅滤波法得到惯性轮角速度值作为外环的反馈输入,输入惯性轮角速度自适应模糊PID控制器;将陀螺仪和加速度计测得的立方体倾斜角度数据经过一阶卡尔曼滤波姿态角度融合得到的机体角度值作为内环控制的反馈。能够解决目前立方体机器人系统完整性和集成度不高、电路集成度低及平衡控制自适应能力差、控制模型精度不够的问题。
[发明]
一种单红外光实现机器人避障和近距离通信的方法
申请号:
202010066245.X
状态:
审中-公开
申请日:
2020-01-20
申请人:
武汉科技大学
发明人:
韩晓、雷斌
公开日:
代理机构:
主分类号:
G05D1/02(20200101)
我要购买
摘要:
本发明提供一种单红外光实现机器人避障和近距离通信的方法,包括机器人,机器人顶部设有发射装置,发射装置包括上下间隔一定距离设置的反射PCB圆盘和发射PCB圆盘,发射PCB圆盘中部设有一个红外发射led二极管,机器人底部设有环形阵列有多个红外接收管的接收圆盘,反射PCB圆盘、发射PCB圆盘和接收圆盘同心设置,避障和近距离通信的方法是红外发射led二极管发出红外光,经过所述反射PCB圆盘被其他机器人的红外接收管接收,或经过障碍物二次反射,被自身的红外接收管接收,使机器人能够知道障碍物具体方位,通过单个红外发射led二极管发射红外光,减少传感器的使用,使机器人本身利用尽可能少的模块去实现更多的功能,减少成本,加大机器人可利用率。
[发明]
一种辅助手部残疾人饮食餐桌
申请号:
202010065402.5
状态:
审中-公开
申请日:
2020-01-20
申请人:
武汉科技大学
发明人:
夏巨兴、于普良、姜庆、胡回、蔡田、胡钊
公开日:
代理机构:
主分类号:
A47B31/00(20060101)
我要购买
摘要:
本发明涉及一种辅助手部残疾人饮食餐桌,包括:桌体;用于夹持杯具的第一夹具以及用于夹持取食餐具的第二夹具;第一传动装置包括用于接收来自脚部的驱动力的第一脚踏板,由第一脚踏板驱动的第一传动机构,第一传动机构的输出端上设置有第一夹具,第一传动机构可将平行于第一脚踏板平面的驱动力转变为第一夹具的水平移动或绕水平轴的转动;第二传动装置包括用于接收来自脚部驱动力的第二脚踏板,由第二脚踏板驱动的第二传动机构,第二传动杆机构输出端设置有第二夹具,第二传动机构可将驱动力转变为第二夹具的的水平移动、绕水平轴的转动或竖直轴的转动。根据本发明的无臂残疾人餐桌,方便手部残疾人进行饮食,且餐桌结构简单、成本低、操作方便。
[实用新型]
一种辅助手部残疾人饮食餐桌
申请号:
202020129724.7
状态:
有权
申请日:
2020-01-20
申请人:
武汉科技大学
发明人:
夏巨兴、于普良、姜庆、胡回、蔡田、胡钊
公开日:
代理机构:
主分类号:
A47B31/00(20060101)
我要购买
摘要:
本实用新型涉及一种辅助手部残疾人饮食餐桌,包括:桌体;用于夹持杯具的第一夹具以及用于夹持取食餐具的第二夹具;第一传动装置包括用于接收来自脚部的驱动力的第一踩踏板,由第一踩踏板驱动的第一传动机构,第一传动机构的输出端上设置有第一夹具,第一传动机构可将平行于第一踩踏板平面的驱动力转变为第一夹具的水平移动或绕水平轴的转动;第二传动装置包括用于接收来自脚部驱动力的第二踩踏板,由第二踩踏板驱动的第二传动机构,第二传动机构输出端设置有第二夹具,第二传动机构可将驱动力转变为第二夹具的的水平移动、绕水平轴的转动或竖直轴的转动。根据本实用新型的无臂残疾人餐桌,方便手部残疾人进行饮食,且餐桌结构简单、成本低、操作方便。
[发明]
一种火花光谱分析面水刀切削方法
申请号:
202010067258.9
状态:
审中-公开
申请日:
2020-01-20
申请人:
武汉科技大学、大冶特殊钢有限公司、广东韶钢松山股份有限公司、湖南华菱涟源钢铁有限公司
发明人:
徐建平、陈胜、黄合生、李新家
公开日:
代理机构:
主分类号:
B24C1/04(20060101)
我要购买
摘要:
本发明具体涉及一种火花光谱分析面水刀切削方法。其技术方案是:将确定了切割线和切割点的拟切割样品装在水切割机的工件夹具上;将粒径为0.14~0.2mm磨料砂置于水切割机的储砂仓中;调整水切割机刀口的加工面平行于水流面。启动水切割机,调节水压至30~300MPa,切割样品。将切割后的加工面用压强为1~5MPa的氩气吹干;将吹干后的样品置于光谱仪上,按火花源光谱分析的要求进行光谱分析。所述样品为黑色金属块、或为有色金属块。所述水切割机的额定水压>50MPa。所述磨料砂为石榴砂、碳化硅砂和刚玉砂的一种。本发明具有刀具无磨损、分析面粗糙度均匀、分析表面边缘毛刺少和不同样品加工出的分析面粗糙度一致的特点。
[发明]
一种模块化设计的群体机器人
申请号:
202010066209.3
状态:
审中-公开
申请日:
2020-01-20
申请人:
武汉科技大学
发明人:
韩晓、雷斌
公开日:
代理机构:
主分类号:
B25J9/08(20060101)
我要购买
摘要:
本发明公开了一种模块化设计的群体机器人,包括底盘驱动模块、核心控制模块、分线接口模块和功能模块,其中,模块化设计的群体机器人通过底板驱动模块进行移动,核心控制模块用于控制底板驱动模块移动和功能模块实现所需的功能,分线接口模块可以把核心控制模块的标准接口转化为底板驱动模块所需要的接口,功能模块可以根据群体机器人不同的需要,相邻模块间通过排母和排针插接,使机器人各个功能模块相对集中和独立,并且减小各个群体机器人间的差异性,使得群体机器人的结构稳定,若某一模块发生损坏,可以直接对该模块进行更换,防止对整个群体机器人进行更新和优化,减少群体机器人的维修和制造成本。
[发明]
一种相变蓄热自流式耐火浇注料及其制备方法
申请号:
202010067291.1
状态:
审中-公开
申请日:
2020-01-20
申请人:
武汉科技大学
发明人:
张美杰、夏求林、顾华志、黄奥、付绿平、杨爽
公开日:
代理机构:
主分类号:
C04B35/66(20060101)
我要购买
摘要:
本发明涉及一种相变蓄热自流式耐火浇注料及其制备方法。其技术方案是:以55~75质量份的矾土颗粒、10~30质量份的矾土细粉、6~10质量份的α‑氧化铝粉、1~3质量份的硅微粉和4~6质量份的铝酸钙水泥为原料,混合,即得混合料。向所述混合料中加入0.1~0.3质量份的减水剂和6~7质量份的水,搅拌均匀,即得矾土基自流式浇注料;再将55~75质量份的合金@陶瓷大胶囊颗粒堆积于模具中,得到浇注料骨架;然后将所述矾土基自流式浇注料浇注到所述浇注料骨架中,制得相变蓄热自流式耐火浇注料。本发明工艺简单,所制备的相变蓄热自流式耐火浇注料蓄热密度大、强度高、抗热震性能好、高温应用时热效率高和温度稳定。
[发明]
一种抑制中间包下渣的控流结构
申请号:
202010067695.0
状态:
审中-公开
申请日:
2020-01-20
申请人:
武汉科技大学
发明人:
张华、方庆、倪红卫、刘涛、刘成松、王家辉
公开日:
代理机构:
主分类号:
B22D41/50(20060101)
我要购买
摘要:
本发明公开了一种抑制中间包下渣的控流结构,包括进流盘、塞棒和出流通道,所述进流盘顶部设有塞棒孔,塞棒安装于所述塞棒孔中,进流盘内部设有中空腔室,底部设有出流通道,所述中空腔室与出流通道连通,进流盘安装于中间包底的浸入式水口上方,出流通道安装于浸入式水口中,所述进流盘侧壁周向等间距设有数个进流孔,所述进流孔与中空腔室和出流通道相贯通,所述中空腔室上部设置有数个绕进流盘中心轴线均匀分布且朝向一致的抑漩导片。本发明能有效抑制中间包出钢末期水口上部出现汇流漩涡下渣吸气的行为,在保证钢液纯净度的前提下明显提高金属收得率。
[发明]
一种多目标粒子群算法的带式输送机控制装置及方法
申请号:
202010062636.4
状态:
审中-公开
申请日:
2020-01-19
申请人:
武汉科技大学
发明人:
曾飞、刘雅婷、黄书伟、章生、宋杰杰、严诚、刘欣、贾媛媛
公开日:
代理机构:
主分类号:
B65G43/08(20060101)
我要购买
摘要:
本发明公开了一种多目标粒子群算法的带式输送机控制系统,包括物料流激光采集装置和光电编码器,还包括信号采集处理模块和输送机协调控制装置,输送机协调控制装置用于建立下一采样周期的最优带速V
n+1
和最佳运量Q
n+1
的目标规划模型以及目标规划模型的约束条件,根据目标规划模型和目标规划模型的约束条件计算获得最优带速V
n+1
和最佳运量Q
n+1
。本发明还公开了一种多目标粒子群算法的带式输送机控制系统,本发明能够科学的实现带式输送机的自适应调速控量减排,调速节约能耗,控量避免大流量,增强稳定性,且能保持带式输送机运行效率最优,延长使用寿命。
[实用新型]
一种集装箱的抓取装置及吊具
申请号:
202020124327.0
状态:
有权
申请日:
2020-01-19
申请人:
武汉科技大学
发明人:
董宇、刘志雄、钱翰文、颜家岚、张岂玮
公开日:
代理机构:
主分类号:
B66C1/12(20060101)
我要购买
摘要:
本实用新型公开一种集装箱的抓取装置及吊具,集装箱的抓取装置包括水平设置且为条形的安装板,以及安装在所述安装板下端的第一驱动机构、第二驱动机构、抓取件和限位件,所述抓取件具有四个转锁头,所述第一驱动机构与所述抓取件传动连接,所述第二驱动机构与所述限位件传动连接,所述第一驱动机构用以驱动所述抓取件的四个所述转锁头移动并对准所述集装箱上端的四个角件,所述第二驱动机构用以驱动所述限位件将所述安装板限位在所述集装箱的上方,且所述集装箱位于所述安装板的下方中部。本实用新型所述集装箱的抓取装置以及集装箱吊具的抓取装置实现四个转锁头在集装箱上方快速定位,提高抓取效率,避免损坏集装箱内的货物。
[发明]
一种钢纤维-聚乙烯醇纤维混凝土及其制备方法
申请号:
202010051827.0
状态:
审中-公开
申请日:
2020-01-17
申请人:
武汉科技大学
发明人:
吴江、孙杰、吕熙、王安宁
公开日:
代理机构:
主分类号:
C04B28/04(20060101)
我要购买
摘要:
本发明涉及一种钢纤维‑聚乙烯醇纤维混凝土及其制备方法,包括:聚乙烯醇纤维混凝土本体、分布于混凝土本体内的上层钢纤维层以及下层钢纤维层,混凝土本体的制备原料包括以下组分:聚乙烯醇纤维、水泥、砂、石子、减水剂以及水,上层钢纤维层和下层钢纤维层分别由钢纤维组成,聚乙烯醇纤维、水泥、砂、石子、减水剂、水以及钢纤维的重量百分比为(1.3~3.9):(488~520):(558~603):(1150~1208):(3.2~6.3):(120~180):(18.84~25.12)。基于本发明的钢纤维‑聚乙烯醇纤维混凝土,在聚乙烯醇纤维制备的混凝土本体中设置钢纤维层,使得钢纤维‑聚乙烯醇纤维混凝土的劈裂抗拉强度、抗折强度、抗压强度等力学性能相比聚乙烯醇纤维混凝土有很大提升。
[发明]
一种钢纤维-微硅粉混凝土及其制备方法
申请号:
202010052660.X
状态:
审中-公开
申请日:
2020-01-17
申请人:
武汉科技大学
发明人:
吴江、孙杰、吕熙、王安宁
公开日:
代理机构:
主分类号:
C04B28/00(20060101)
我要购买
摘要:
本发明涉及一种钢纤维‑微硅粉混凝土,其特征在于,包括:微硅粉混凝土本体、分布于微硅粉混凝土本体内的上层钢纤维层以及下层钢纤维层,混凝土本体的制备原料包括以下组分:微硅粉、水泥、砂、石子、减水剂以及水,上层钢纤维层和下层钢纤维层分别由钢纤维组成,微硅粉、水泥、砂、石子、减水剂、水以及钢纤维的重量百分比为(20~50):(480~505):(558~603):(1150~1208):(3.2~6.3):(120~180):(18.84~25.12)。基于本发明的钢纤维‑微硅粉混凝土,具有较强的劈裂抗拉强度、抗折强度、抗压强度。
[发明]
一种高温熔融金属转运吊车防外溅控制方法
申请号:
202010053525.7
状态:
审中-公开
申请日:
2020-01-17
申请人:
武汉科技大学
发明人:
刘惠康、鄢梦伟、柴琳、孙博文、曹宇轩、皮瑶、李倩
公开日:
代理机构:
主分类号:
B66C17/10(20060101)
我要购买
摘要:
本发明提供一种高温熔融金属转运吊车防外溅控制方法,属于熔融金属转运吊车技术领域。该高温熔融金属转运吊车防外溅控制方法包括如下步骤:S1:建立基于桥式吊车系统的动力学模型;S2:建立基于桥式吊车系统的动力学模型。本发明中能量控制器实现对桥式吊车系统负载物的快速准确定位,并有效地抑制它的摆动;与此同时,考虑负载为高温液态的情况下液体重心对系统造成的影响,利用光滑整形器对操作命令进行预处理,从根本上消除由液体晃动诱导的负载吊挂振荡,且具有较强得鲁棒性。在较好的实现台车的消摆定位的同时,有效的提升系统的暂态控制性能。
[发明]
一种自动控制式带式输送机皮带偏置回位系统及方法
申请号:
202010053096.3
状态:
审中-公开
申请日:
2020-01-17
申请人:
武汉科技大学
发明人:
曾飞、宋杰杰、章生、黄书伟、严诚、刘欣、刘雅婷、罗吉
公开日:
代理机构:
主分类号:
B65G43/02(20060101)
我要购买
摘要:
本发明公开了一种自动控制式带式输送机皮带偏置回位系统,包括物料检测器、带速检测传感器和滚筒调偏装置,第一激光传感器设置在皮带的上行皮带的靠近主动滚筒的部分的侧方,第二激光传感器设置在皮带的上行皮带的靠近从动滚筒的部分的侧方,第一滚筒调偏装置和第二滚筒调偏装置分别设置在主动滚筒的中心轴两端,第三滚筒调偏装置和第四滚筒调偏装置设置在从动滚筒的中心轴两端。本发明还公开了一种自动控制式带式输送机皮带偏置回位方法,本发明皮带校偏效果好,可根据不同的皮带速度以及皮带偏移程度,对滚筒中心轴的偏转量以及偏转速度进行调节,适用于不同情况下,对于皮带偏移的矫正要求。
[发明]
基于压电陶瓷对钢板缺陷检测
申请号:
202010069326.5
状态:
审中-公开
申请日:
2020-01-16
申请人:
武汉科技大学
发明人:
陈蒙
公开日:
代理机构:
主分类号:
G01N29/04(20060101)
我要购买
摘要:
本发明公开了一种基于压电陶瓷对钢板缺陷检测,涉及钢板检测技术领域,该基于压电陶瓷对钢板缺陷检测包括壳体,壳体内部安装有超声波发射装置、控制电路、滤波器、编码器、电源电路,壳体外部安装有超声波接收装置和显示屏,超声波发射装置通过数据线与壳体外部的探头连接,超声波接收装置与滤波器连接,滤波器与编码器和控制电路连接,控制电路与显示屏连接。该基于压电陶瓷对钢板缺陷检测可以利用压电陶瓷应力通过超声波对钢板进行探测,并且通过分析接收的超声波波形来判断钢板的缺陷情况,操作起来非常方便,使用压电陶瓷作为激发器与传感器,具有极高的灵敏度与精度,检测准确性高。
[发明]
一种CHA型渗透汽化复合膜及其制备方法
申请号:
202010046435.5
状态:
审中-公开
申请日:
2020-01-16
申请人:
武汉科技大学
发明人:
杜奕锦、周志辉、吴红丹、花绍强、岳昊
公开日:
代理机构:
主分类号:
B01D71/02(20060101)
我要购买
摘要:
本发明提供一种CHA型渗透汽化复合膜的制备方法,包括以下步骤:1)晶种的制备:2)晶种悬浮液的制备:3)载体处理:4)合成液的制备5)CHA型渗透汽化复合膜的合成。并提供了使用上述制备方法制备的CHA型渗透汽化复合膜。在合成液中引入晶种,并先用晶种修饰载体管,通过二次晶化法制备一种CHA型渗透汽化复合膜,主要应用于渗透汽化。本发明减少了昂贵的模板剂的用量,降低了经济开支,也更加环保;而且合成的沸石分子筛膜更加致密,使用寿命更长,提高了合成效率。
[发明]
一种基于信息提取的音乐节奏定制方法
申请号:
202010046075.9
状态:
审中-公开
申请日:
2020-01-16
申请人:
武汉科技大学
发明人:
李奕凝、胡威、甘雨、刘天怡、焦强、董勇、陈嘉佑、郑红强、郑憧伟、刘红
公开日:
代理机构:
主分类号:
G10H1/00(20060101)
我要购买
摘要:
本发明公开了一种基于信息提取的音乐节奏定制方法,包括如下步骤:步骤一:构建中层输入表示:用于将输入音频信号转换成音频帧数组;步骤二:合并节奏追踪模型;步骤三:结合整体输出具有上下文关联性的音乐节奏;步骤四:进行时间拉伸:调用RubberBand Audio中函数,输入音频节奏数组和相应的倍速,选择相应的转换模式,得到结果节奏数组后将使用快速傅立叶变换转换成频谱图实时显示在界面上。本发明在原有节奏追踪算法的基础上去除了操作的复杂性,可对音乐时间自有拉伸,提高了对通信中零散时间的利用率,提高了音乐节奏的多样性;本发明实现了对原有节奏追踪的优化,提高算法效率的同时也降低了计算过程中的能耗。
首页
上一页
71
72
73
74
75
76
77
78
79
80
下一页
尾页
当前共找到
8115
个专利记录
,当前显示页码
71/406