首页
专利查询
专利购买
专利转让
专利申请
15071489439
当前位置:
专利巴士
专利查询
专利名称
查询
高级查询
当前共找到
8115
个专利记录
,当前显示页码
77/406
专利名称
申请号
申请人
发明人
专利代办机构
[发明]
一种用于冲孔皮革缺陷检测方法及系统
申请号:
201911352833.3
状态:
审中-公开
申请日:
2019-12-25
申请人:
武汉科技大学
发明人:
翁曜卿、李公法、孙瑛、马如意、廖尚春、余明超
公开日:
代理机构:
主分类号:
G06T7/00(20170101)
我要购买
摘要:
本发明公开了一种用于冲孔皮革缺陷检测方法及系统,涉及皮革缺陷检测领域。该方法包括:对冲孔皮革的缺陷进行分类,分为全局缺陷和局部缺陷;获取预设数量的冲孔皮革的原始图像;分别对每张所述原始图像进行切割,得到每张所述原始图像的切割框集合;根据所述全局缺陷和所述局部缺陷从所述切割框集合中选取目标切割框,作为每张所述原始图像的训练样本,得到训练集;根据所述训练集对预设的缺陷检测算法模型进行训练;根据训练后的所述缺陷检测算法模型对待检测的冲孔皮革的缺陷进行检测。本发明适用于皮革的检测,能够解决检测方法计算量大的问题,达到准确快速检测缺陷类别的效果。
[发明]
一种用于连接钢结构框架梁柱的节点
申请号:
201911357116.X
状态:
审中-公开
申请日:
2019-12-25
申请人:
武汉科技大学
发明人:
向傲磊、李成玉、刘琪、袁双双、陈修远、胡天炜
公开日:
代理机构:
主分类号:
E04B1/24(20060101)
我要购买
摘要:
一种用于连接钢结构框架梁柱的节点,包括H型钢柱、H型钢梁和多组摩擦耗能组件,所述摩擦耗能组件用于连接H型钢柱的柱翼缘和H型钢梁的梁翼缘,所述H型钢梁的梁腹板两侧均设置有用于与H型钢柱连接的腹板连接件,所述腹板连接件用于供H型钢梁承受荷载时转动,所述节点通过摩擦耗能组件的摩擦滑移耗能来削弱节点所承受荷载而发生的形变。本发明利用摩擦耗能组件来削弱地震对节点产生的变形和损伤,维持主体结构的相对稳定,也有利于震后修复;同时,此装配式的节点可提高现场的施工效率,减少对主体结构的施工时间。
[实用新型]
一种罗拉拆卸组装工具
申请号:
201922346584.9
状态:
有权
申请日:
2019-12-24
申请人:
武汉科技大学
发明人:
罗强、于普良、姜庆、胡回、李玉、刘志远
公开日:
代理机构:
主分类号:
B25B27/14(20060101)
我要购买
摘要:
本实用新型涉及一种罗拉拆卸组装工具,包括手柄、多个面板一和多个面板二,多个面板一和多个面板二依次交替转动连接以形成链条式的固定条;固定条的一端与手柄的一端转动连接,另一端与手柄的一端可拆卸连接,并用于夹紧罗拉。本实用新型的有益效果是结构简单,便于拆装罗拉,省时省力;而且,其适用于不同规格的罗拉,适用范围较广。
[发明]
一种片式氧传感器芯片的制造方法
申请号:
201911335312.7
状态:
审中-公开
申请日:
2019-12-23
申请人:
武汉科技大学
发明人:
于金营
公开日:
代理机构:
主分类号:
G01N27/00(20060101)
我要购买
摘要:
本发明公开了一种片式氧传感器芯片的制造方法,其结构为上层功能片、中间通道形成片和下层片,依次叠层热压制作成一整体,上片集成传感单元和加热电阻,加热电阻和外电极在上片平面上交错印刷在芯片头部区域,各自通过引线与引脚连接,并在底层印刷双层绝缘层从而形成对称绝缘。本发明的方法消除了在中片和下片之间印刷上下绝缘层对芯片整体强度的影响,使得芯片最终强度提高;降低了单侧弯曲变形的影响;没有加热电阻的穿层导电孔,工艺简单,绝缘效果更好,整体制造成本进一步降低。
[发明]
一种双层嵌套结构的高温烧结结构
申请号:
201911335723.6
状态:
审中-公开
申请日:
2019-12-23
申请人:
武汉科技大学
发明人:
于金营
公开日:
代理机构:
主分类号:
F27B14/00(20060101)
我要购买
摘要:
本发明公开了一种双层嵌套结构的高温烧结结构,包括外部坩埚配套结构、内部嵌套隔离器以及防滑脱连接结构,内部嵌套隔离器与外部坩埚配套结构完全套合,并通过防滑脱连接结构与外部坩埚配套结构的底座固定,内部嵌套隔离器内部添加母相埋粉粉体,且母相埋粉粉体不与内部嵌套隔离器的内壁接触,避免连接处空气直接与母相埋粉粉体接触。本发明通过使用双层嵌套结构,高温烧结达到饱和蒸气压时所需挥发气体量更少,有效降低了烧结过程中固体电解质的锂损失。本发明通过使用双层嵌套结构,烧结过程中隔断了陶瓷片与刚玉坩埚的接触,隔绝其他元素的渗入,防止改变元素掺杂配比,烧成后的陶瓷锂离子导电率提高。
[发明]
基于催化氮化法的Si@SiC-Si
3
N
4
电极材料及其制备方法
申请号:
201911330214.4
状态:
审中-公开
申请日:
2019-12-20
申请人:
武汉科技大学
发明人:
丁军、陈洋、邓承继、王杏、余超、祝洪喜
公开日:
代理机构:
主分类号:
C01B32/984(20170101)
我要购买
摘要:
本发明涉及一种基于催化氮化法的Si@SiC‑Si
3
N
4
电极材料及其制备方法。其技术方案是:将5~25质量份的催化剂溶于1000质量份的无水乙醇中,磁力搅拌15~20min,加入100质量份的硅粉,磁力搅拌15~20min,加入12.5~20质量份的液体酚醛树脂,磁力搅拌25~30min,于90~110℃条件下干燥24~30h,得到负载催化剂的前驱体;然后在氮气气氛条件下,以4~5℃/min的速率将所述负载催化剂的前驱体升温至1250~1350℃,保温2~3h,再以2~3℃/min的速率升温至1400~1450℃,保温3~4h,自然冷却,制得基于催化氮化法的Si@SiC‑Si
3
N
4
电极材料。本发明成本低和生产工艺简单,所制制品形貌特征优良,不仅具有赝电容特征,且电容量和高倍率性能优异。
[发明]
一种FPC剪裁装置
申请号:
201911322276.0
状态:
审中-公开
申请日:
2019-12-20
申请人:
武汉科技大学
发明人:
高宗英、孙瑛、李公法、蒋国璋、陶波、江都、刘颖
公开日:
代理机构:
主分类号:
B65H35/02(20060101)
我要购买
摘要:
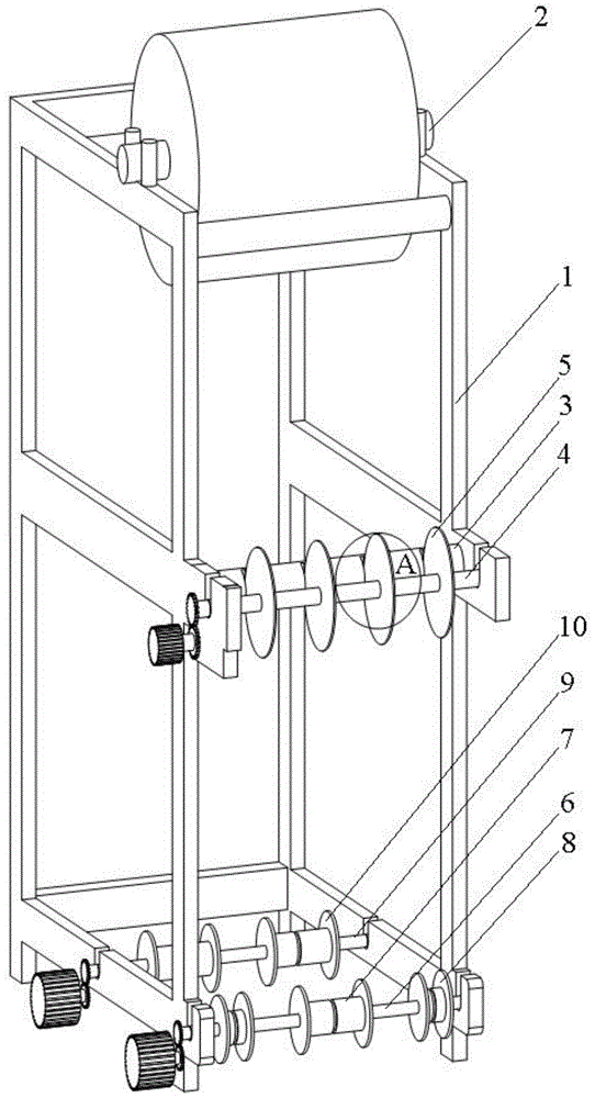
本发明公开了一种FPC剪裁装置,包括:机架,机架上设有原料卷轴,原料卷轴的两端转动连接于机架上;切割台杆,切割台杆的两端固定连接于机架上;切割转轴,切割转轴的两端转动连接于机架上,且切割转轴上设有切割刀盘;第一收料转轴,第一收料转轴的两端可拆卸式的转动连接于机架上,且第一收料转轴上设有第一收料滚筒及两个废料滚筒;以及第二收料转轴,第二收料转轴的两端可拆卸式的转动连接于机架上,且第二收料转轴上设有第二收料滚筒。本发明提供的FPC剪裁装置中利用切割刀盘对紧贴于切割台杆上的FPC进行精确切割,再利用交错设置的收料滚筒收集切割后的FPC,从而实现对FPC高效、精确的切割、收卷。
[发明]
一种Ti
3
AlC
2
粉体及其制备方法
申请号:
201911321877.X
状态:
审中-公开
申请日:
2019-12-20
申请人:
武汉科技大学
发明人:
雷文、管可可、张海军、张少伟、王洪红
公开日:
代理机构:
主分类号:
C01B32/90(20170101)
我要购买
摘要:
本发明涉及一种Ti
3
AlC
2
粉体及其制备方法。其技术方案是:以钛粉、铝粉和石墨为反应物料,以氯化钠和氯化钾为熔盐介质,将反应物料与熔盐介质球磨,球磨后的球磨料放入氧化铝坩埚内,再将氧化铝坩埚放入保温结构匣钵中,用碳化硅粉填充保温结构匣钵与氧化铝坩埚间的间隙,然后将保温结构匣钵放入微波炉中;在氩气气氛下以三种升温速率先后升温至440~460℃、590~610℃和900~1200℃,在900~1200℃条件下保温5~60min,随炉冷却至室温;最后经研磨、水洗、抽滤和干燥后,制得Ti
3
AlC
2
粉体。本发明具有原料利用率高、生产周期短、能耗低和生产效率高的特点,所制备的Ti
3
AlC
2
粉体纯度高,适合大批量生产。
[实用新型]
一种多功能的双面桌
申请号:
201922303879.8
状态:
有权
申请日:
2019-12-20
申请人:
武汉科技大学
发明人:
张海亮、樊昌、梁轩、董文辉
公开日:
代理机构:
主分类号:
A47B1/05(20060101)
我要购买
摘要:
本实用新型公开了一种多功能的双面桌,包括书桌本体、支撑桌脚、第二桌板及多个连接曲柄,本实用新型中连接曲柄的一端转动连接于书桌本体上,连接曲柄的另一端转动连接于第二桌板上,第二桌板可绕连接曲柄上、下旋转,且当第二桌板转动至其位于转动行程的最高处时第二桌板可通过设于书桌本体上的固定插销固定于书桌本体上。本实用新型中提供的双面桌中第二桌板可绕连接曲柄上、下旋转,且当第二桌板转动至其位于转动行程的最低处时第二桌板可呈相对位于第一桌板上方的水平状态,此时使用者即可获得一张干净的第二桌板。
[实用新型]
一种多因素耦合作用下的蒸发速率测量装置
申请号:
201922325030.0
状态:
有权
申请日:
2019-12-20
申请人:
武汉科技大学
发明人:
王淑婷、幸福堂
公开日:
代理机构:
主分类号:
G01N5/04(20060101)
我要购买
摘要:
本实用新型涉及一种多因素耦合作用下的蒸发速率测量装置,包括称量系统、加热系统、反应器系统,称量系统由电子天平,吊杆,吊篮组成。加热系统由加热炉体,升降装置,热电偶和温度控制器组成。反应器系统分为环形冷却取样管,气流喷吹三层反应器,它们通过磨砂口连接。电子天平放在装置台架的顶部,吊篮由吊杆悬吊在反应器中,加热炉体安装在装置台架的升降丝杠上,环形冷却取样管由固定框固定在装置架的中上部位置,气流喷吹三层反应器置于加热炉体中心部位。本实用新型可以在预设的环境条件下尤其指不同风速条件下,同步记录电子天平的重量数据和气体流量计的流量,制图获得试样的蒸发速率。
[发明]
一种多因素耦合作用下的蒸发速率测量装置及方法
申请号:
201911326562.4
状态:
审中-公开
申请日:
2019-12-20
申请人:
武汉科技大学
发明人:
王淑婷、幸福堂
公开日:
代理机构:
主分类号:
G01N5/04(20060101)
我要购买
摘要:
本发明涉及一种多因素耦合作用下的蒸发速率测量装置及方法,包括称量系统、加热系统、反应器系统,称量系统由电子天平,数据采集系统,吊杆,吊篮组成。加热系统由加热炉体,升降装置,热电偶和温度控制器组成。反应器系统分为环形冷却取样管,气流喷吹三层反应器,它们通过磨砂口连接。电子天平放在装置台架的顶部,数据采集系统通过数据线与电子天平连接的计算机信号相连,吊篮由吊杆悬吊在反应器中,加热炉体安装在装置台架的升降丝杠上,环形冷却取样管由固定框固定在装置架的中上部位置,气流喷吹三层反应器置于加热炉体中心部位。本发明可以在预设的环境条件下尤其指不同风速条件下,自动测量同步获得试样的蒸发速率,测量精度高。
[实用新型]
一种铝合金模板支撑装置
申请号:
201922302966.1
状态:
有权
申请日:
2019-12-20
申请人:
武汉科技大学
发明人:
许成祥、洪良称、顾勇、周冰洋
公开日:
代理机构:
主分类号:
E04G11/56(20060101)
我要购买
摘要:
本实用新型涉及一种铝合金模板支撑装置,包括支撑柱、支撑杆、紧固机构和支撑机构,所述支撑柱顶部沿轴线开设有螺纹孔,所述支撑杆外侧设置有与螺纹孔对应的外螺纹,所述支撑杆设置于螺纹孔内且可沿着支撑柱上下移动,所述紧固机构包括固定板、螺纹套和两个把手,所述固定板固定于支撑柱顶部外侧,所述螺纹套内侧设置有卡槽,所述螺纹套通过卡槽卡接于固定板外侧,两个所述把手沿径向对称设置于螺纹套两侧,所述支撑机构包括安装板、支腿、底座、四根连接棒和固定块,所述支撑柱底部设置有安装板,所述安装板外侧铰接有支腿,所述支腿的数量为四个。该装置方便调整支撑长度,同时支脚和支撑杆可伸缩折叠,方便运输。
[实用新型]
一种内嵌式自动车随车工具组
申请号:
201922313359.5
状态:
有权
申请日:
2019-12-20
申请人:
武汉科技大学
发明人:
郭宇航、肖潇、彭兵亿
公开日:
代理机构:
主分类号:
B25B13/56(20060101)
我要购买
摘要:
本实用新型涉及一种内嵌式自动车随车工具组,包括筒体和筒盖,筒体置于自行车的把手内,其一端敞口、另一端封闭,筒盖与筒体的敞口端可拆卸连接;筒体内放置有至少一个扳手。本实用新型的有益效果是结构简单,体积较小,便于随车携带,方便随时随地进行维修,使用非常方便。
[发明]
一种用于地铁隧道列车火灾人员疏散可靠度的计算方法
申请号:
201911324540.4
状态:
审中-公开
申请日:
2019-12-20
申请人:
武汉科技大学
发明人:
张帆、姜学鹏
公开日:
代理机构:
主分类号:
G06F30/20(20200101)
我要购买
摘要:
本发明涉及一种用于地铁隧道列车火灾人员安全疏散可靠度的计算方法,包括以下步骤:确定隧道列车火灾的影响因素以及隧道列车人员疏散的影响因素;根据上述影响因素分别确定隧道列车火灾工况以及列车火灾人员疏散工况;分别建立列车火灾模型和列车火灾人员疏散模型;通过数值模拟得到不同火灾工况下的人员可用安全疏散时间数值(T
A
)以及人员安全疏散时间数值(T
R
);对模拟所得人员安全疏散时间(T
R
)的数据进行抽样并统计分析,确定人员安全疏散时间的概率分布函数;结合人员可用安全疏散时间(T
A
),计算出人员能够全部安全疏散的概率,即为人员安全疏散的可靠度;本发明计算方法简单,适用于不同的隧道列车火灾人员疏散可靠度计算。
[实用新型]
一种用于气路意外状况保护的保护阀
申请号:
201922311416.6
状态:
有权
申请日:
2019-12-20
申请人:
武汉科技大学
发明人:
郭宇航、肖潇、刘源春
公开日:
代理机构:
主分类号:
F16K17/00(20060101)
我要购买
摘要:
本实用新型涉及一种用于气路意外状况保护的保护阀,包括两端均敞口且同轴设置的上腔体、中腔体和下腔体,中腔体的上下两端分别与上腔体的下端和下腔体的上端可拆卸连接;中腔体内水平安装有密封端盖,密封端盖可上下移动;上移密封端盖至其与上腔体的下端贴合,以封住上腔体,或下移密封端盖至其与下腔体的上端贴合,以封住下腔体。本实用新型的有益效果是结构简单,实现保护阀在高压或断电的情况下气路的通断,保证整个装置正常运行,安全可靠。
[发明]
一种复杂工况下再制造车间多层级任务配置的扰动响应方法
申请号:
201911315506.0
状态:
审中-公开
申请日:
2019-12-19
申请人:
武汉科技大学
发明人:
黄文豪、江志刚、朱硕、方丹、姚昕、瞿华
公开日:
代理机构:
主分类号:
G06Q10/06(20120101)
我要购买
摘要:
本发明涉及一种复杂工况下再制造车间多层级任务配置的扰动响应方法,包括:样本采集;确定历史扰动事件对再制造车间任务配置的扰动程度值;确定历史事件下影响再制造车间任务配置的若干参数值;对各参数进行模糊化处理;将模糊化的各参数作为RBF网络的输入量,取对应的扰动程度值作为RBF网络的输出量,对RBF网络进行训练直到RBF网络满足精度要求,得到训练好的RBF网络;扰动事件发生时,得到所述扰动事件下的扰动程度值,根据所述扰动值采取相应的任务配置响应措施。基于本发明的方法,通过对扰动事件对扰动程度进行评估,定位扰动事件影响的再制造车间任务配置层级,从而可根据需要设计相适应的再制造车间多层级任务配置的扰动响应策略。
[发明]
一种可变喷孔的喷油器
申请号:
201911316767.4
状态:
审中-公开
申请日:
2019-12-19
申请人:
武汉科技大学
发明人:
朱冬涛、张光德、宋巍、周文韬、张嘉诚、罗露
公开日:
代理机构:
主分类号:
F02M61/10(20060101)
我要购买
摘要:
本发明提供了一种可变喷孔的喷油器,包括喷油嘴和喷油器主体,所述喷油嘴安装在所述喷油器主体的下端,所述喷油嘴包括针阀底座、内轴针和外轴针,所述针阀底座下端部周向匀布有多个喷油孔,所述内轴针和外轴针安装在所述针阀底座的内腔,并与所述针阀底座形成第一盛油槽,所述内轴针和外轴针呈交叉※形分布,所述内轴针和外轴针的下端端部均设有球形凸起,所述球形凸起与所述喷油孔一一对应,当内轴针和外轴针分别上升或下降时,分别控制一部分的所述喷油孔开启或闭合。本发明提供的可变喷孔的喷油器,其通过改变喷孔数以适应发动机不同负荷下对供油量的需求,达到节能减排的目的。
[发明]
二氧化铈石墨烯超级电容器用复合材料及其制备方法
申请号:
201911311660.0
状态:
审中-实审
申请日:
2019-12-18
申请人:
武汉科技大学
发明人:
伍林、许锦辉、胡雅、刘盈、杨小于
公开日:
代理机构:
主分类号:
C01F17/10(20200101)
我要购买
摘要:
本发明公开了一种二氧化铈/石墨烯超级电容器用复合材料及其制备方法,属于化学材料技术领域。它包括取六水硝酸铈、氧化石墨烯在硅烷偶联剂作用下发生水热反应制得复合材料,具体步骤如下:1)向硅烷偶联剂中加入六水硝酸铈得溶液A;2)向六水硝酸铈中加入硅烷偶联剂得悬浮液B;3)将步骤1)的溶液A和步骤2)的悬浮液B混合得混合液,将混合液倒入氧化石墨烯中混匀转移至水热反应釜内,控制反应温度为120~180℃,反应12~48h,再经冷却、后处理及干燥即制得复合材料。本发明设计方法操作简单,能量消耗少,污染小且可重复操作性强。
[发明]
石墨烯的分离纯化方法
申请号:
201911311672.3
状态:
审中-公开
申请日:
2019-12-18
申请人:
武汉科技大学
发明人:
胡雅、伍林、张军锋、刘盈、杨小于
公开日:
代理机构:
主分类号:
C01B32/196(20170101)
我要购买
摘要:
本发明公开了一种石墨烯的分离纯化方法,属于石墨烯技术领域。它包括取生物质炭或树脂改性沥青在1300~1350℃下隔绝氧气加热得到包含石墨烯的混合物,取混合物在溶剂中经液相分离得到1层至15层的石墨烯,具体步骤如下:1)取混合物研磨成目数不低于3000目的颗粒物,将颗粒物加入到溶剂中,再加入依地酸二钠,搅拌混合均匀得混合液;2)取混合液超声振荡20~180min,再进行离心分离,控制离心转速为1000~8000r/min,离心时间10~60min,收集石墨稀悬浮液;3)重复上述步骤2)至少1次,过滤处理,滤上物干燥后即得到石墨烯。本发明设计的分离方法回收率高,且能保证石墨烯纯度比较高。
[发明]
铁改性酚醛树脂热解制备石墨烯的方法
申请号:
201911312908.5
状态:
审中-公开
申请日:
2019-12-18
申请人:
武汉科技大学
发明人:
伍林、刘盈、胡雅、李泽亚、杨小于
公开日:
代理机构:
主分类号:
C01B32/184(20170101)
我要购买
摘要:
本发明公开了一种铁改性酚醛树脂热解制备石墨烯的方法,属于石墨烯技术领域。它包括取铁改性酚醛树脂在惰性气体保护下,控制升温速率为15~30℃将温度升至800~1500℃,热解2.5~10h得到石墨烯,其中,铁改性酚醛树脂为取酚类化合物、醛类化合物及碱性催化剂在螯合剂及二茂铁的催化作用下得到;得到铁改性酚醛树脂的产率在83%以上,同时,由铁改性酚醛树脂催化热解制备石墨烯的效率也比较高。
首页
上一页
71
72
73
74
75
76
77
78
79
80
下一页
尾页
当前共找到
8115
个专利记录
,当前显示页码
77/406