首页
专利查询
专利购买
专利转让
专利申请
15071489439
当前位置:
专利巴士
专利查询
专利名称
查询
高级查询
当前共找到
8115
个专利记录
,当前显示页码
85/406
专利名称
申请号
申请人
发明人
专利代办机构
[发明]
一种电梯自救装置
申请号:
201911103774.6
状态:
审中-公开
申请日:
2019-11-13
申请人:
武汉科技大学
发明人:
何本钢、张艳影、阮业恒
公开日:
代理机构:
主分类号:
B66B11/02(20060101)
我要购买
摘要:
本发明涉及一种电梯自救装置,包括电梯轿厢,电梯轿厢包括两个相对设置并可启闭的轿门,至少一个轿门上设有自救机构,自救机构用于停电时开启轿门进行自救;电梯轿厢上设有至少一个用于防止停电时电梯轿厢发生二次下坠的防坠机构,电梯轿厢上下移动的通道内固定安装有与防坠机构配合的定位机构;电梯轿厢上还安装有给自救机构和防坠机构供电的备用电源。本发明的有益效果是电梯停电时可以实现自救,同时启动防坠机构以防止电梯二次下坠,安全可靠。
[发明]
一种沥青混合料三维模型重构方法
申请号:
201911106467.3
状态:
审中-公开
申请日:
2019-11-13
申请人:
武汉科技大学
发明人:
刘标、吕悦晶、张沪生、汤文
公开日:
代理机构:
主分类号:
G06T17/20(20060101)
我要购买
摘要:
本发明公开了一种沥青混合料三维模型重构方法,首先CT扫描沥青混合料试件获取混合料图像;连续读取多层CT图像;然后对多层CT图像进行滤波去噪、锐化增强处理,在CT图像中表现为灰白色为集料,黑色为空隙,暗灰色为沥青胶浆;分割图像,将集料、沥青胶浆、空隙三相材料分割出来;接着将分割的集料、沥青、空隙三相材料,进行体渲染生成可视化集料、沥青胶浆、空隙的三维模型;最后对生成的可视化三维模型进行网格划分,生成可数值模拟的三维网格模型。本发明使用avizo直接对多层CT图像进行图像去噪、锐化等增强处理;直接对多层CT图像的三相材料进行分割,节省工作量小,易操作,真实度高;直接将三维可视化模型转换为三维网格模型,提高工作效益。
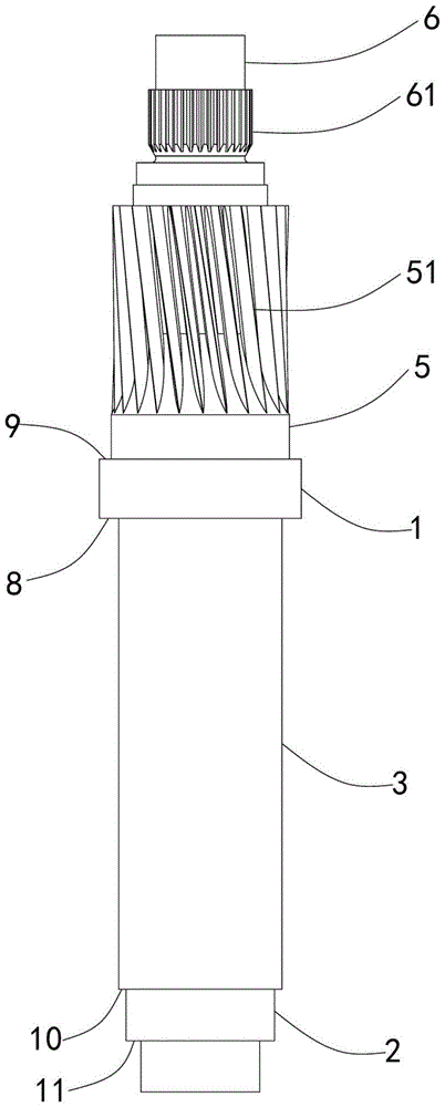
[发明]
适用于新能源汽车的电机轴
申请号:
201911103090.6
状态:
审中-公开
申请日:
2019-11-12
申请人:
武汉科技大学、重庆建设工业(集团)有限责任公司
发明人:
汪朝晖、徐文侠、吕密、程自强、李光兵、罗荣、高全杰
公开日:
代理机构:
主分类号:
H02K7/00(20060101)
我要购买
摘要:
本发明提出了一种适用于新能源汽车的电机轴,电机轴包括分别位于电机轴两端的第一轴承安装部和第二轴承安装部以及位于电机轴中部的转子连接部,第一轴承安装部、第二轴承安装部及转子连接部所对应的电机轴内部分别沿轴线方向设置有第一柱状空腔,各第一柱状空腔的内径均不等,且第一轴承安装部、第二轴承安装部及转子连接部的外周面直径与所对应的第一柱状空腔的内径差值d1均相等。本发明所公开的适用于新能源汽车的电机轴,通过在电机轴轴线方向设置多个内径不等的柱状空腔,空腔的轴向长度与各个安装段的长度相等,同时保证各个安装段的壁厚均相等,由此实现了整个电机轴轻量化设计,有利于降低整车油耗,减少成本,同时提升产品竞争力。
[发明]
一种改善残余元素Cu、As、Sn恶化冷轧带钢深冲性能的方法
申请号:
201911100772.1
状态:
审中-公开
申请日:
2019-11-12
申请人:
武汉科技大学、柳州钢铁股份有限公司
发明人:
鲍思前、陈小龙、周从锐、周明科、樊雷、熊良友、肖欢、梅鹏
公开日:
代理机构:
主分类号:
C22C38/16(20060101)
我要购买
摘要:
本发明公开了一种改善残余元素Cu、As、Sn恶化冷轧带钢深冲性能的方法,向残余元素Cu、As、Sn偏高的冷轧深冲钢中加入S和Ti,所述钢的成分中按质量分数含有Cu:0.05‑0.15%,As:0.01‑0.05%,Sn:0.01‑0.05%,其余为Fe及允许范围内的夹杂。本发明通过加入微量S和Ti,并通过热轧、冷轧工艺相互配合提高冷轧带钢深冲性能,使得最终产品屈服强度≤180MPa,抗拉强度270‑350MPa,延伸率A50为≥44%,平均应变强化指数n值≥0.23,平均塑性应变比r值≥1.80,各向异性系数△r值≤0.50。
[发明]
一种加工空心电机轴的旋锻锤头
申请号:
201911103106.3
状态:
审中-公开
申请日:
2019-11-12
申请人:
武汉科技大学
发明人:
汪朝晖、徐文侠、程自强、高全杰、武囡囡
公开日:
代理机构:
主分类号:
B21K1/06(20060101)
我要购买
摘要:
本发明提出了一种加工空心电机轴的旋锻锤头,包括锤头本体,锤头本体上具有安装部和与安装部连为一体的锻造部,锻造部顶部沿锤头本体长度方向设置有多个用于锻压成型空心电机轴外轮廓的锻压面,多个锻压面沿锤头本体长度方向呈阶梯状排布,相邻锻压面之间以弧面过渡,其中各锻压面上均设置有相互连接的第一圆弧面和第二圆弧面,第二圆弧面的直径与毛坯锻件直径相等,第一圆弧面的直径与空心电机轴相应段直径相等。本发明所公开的用于加工空心电机轴的旋锻锤头可以使外部形状复杂的空心电机轴通过一道工序即可旋锻成形,还适用于各种大小变径空心轴的旋锻。在锻压成型过程中,遵循“点‑线‑面”准则,提高锻件表面的精度。
[发明]
一种轻量化电机轴成型方法
申请号:
201911102342.3
状态:
审中-公开
申请日:
2019-11-12
申请人:
武汉科技大学
发明人:
汪朝晖、徐文侠、程自强、高全杰、武囡囡
公开日:
代理机构:
主分类号:
B23P15/00(20060101)
我要购买
摘要:
本发明提出了一种轻量化电机轴成型方法,包括步骤:1)、备料:管料、第一旋锻模具、第二旋锻模具、第一芯棒及第二芯棒的备料;2)、第一工序装夹:完成管料、第一旋锻模具及第一芯棒在旋锻机上装夹;3)、第一工序旋锻:成型空心电机轴轴承端内外表面预锻面;4)、第二工序装夹:完成管料、第二旋锻模具及第二芯棒在旋锻机上装夹;5)、第二工序旋锻:成型空心电机轴花键端内外表面预缎面;6)、车加工电机轴轴承端端面和花键端端面及外圆;7)花键端加工。本发明所公开的轻量化电机轴成型方法,经管料两次进行旋锻成型,无需加工电机轴的内孔,可以使电机轴达到空心化及轻量化的目的,提高材料的利用率,保证电机轴内外表面较高的精度。
[发明]
地下室底板的抗浮锚杆
申请号:
201911137743.2
状态:
审中-公开
申请日:
2019-11-11
申请人:
武汉科技大学
发明人:
王丹
公开日:
代理机构:
主分类号:
E02D31/12(20060101)
我要购买
摘要:
本发明公开了一种地下室底板的抗浮锚杆,涉及建筑设备领域,该地下室底板的抗浮锚杆包括设有钻头的锚杆本体,钻头设有两倒挂板,锚杆本体设有贴板,锚杆本体设有螺纹杆,螺纹杆上配有螺纹管,螺纹管设有两手柄杆。该地下室底板的抗浮锚杆穿过地下室底板插入到地基中之后,还可以撑开倒挂板,有效提高地下室底板对抗地下水浮力的效果,增长了使用寿命。
[发明]
基于素数非对称邻接矩阵的hamming数运动链同构判定方法
申请号:
201911095048.4
状态:
审中-公开
申请日:
2019-11-11
申请人:
武汉科技大学
发明人:
杨义、孙伟、左惠妍
公开日:
代理机构:
主分类号:
G06F17/16(20060101)
我要购买
摘要:
本发明涉及一种基于素数非对称邻接矩阵的hamming数运动链同构判定方法,包括:对运动链中的每个构件进行编号,根据构件的运动副数量对其赋予相应的素数构建运动链的特征码M,比较各个运动链的特征码是否相同,如果相同则进行下一步;对特征码相同的运动链构建非对称邻接矩阵A;对各矩阵A构造判别矩阵D,计算判别矩阵D的和列阵,然后比较各运动链的判别矩阵D的和列阵是否相同,如果相同则进行下一步;对上述相同的运动链构建hamming数矩阵G计算其和列阵,比较是否相同;对上述和列阵相同的运动链的矩阵G计算其特征值和特征向量,比较各运动链的特征值和特征向量是否相同,如果不同则为异构,如果相同则为同构。本发明表达直观判别起来十分简单高效。
[发明]
基于素数非对称邻接矩阵的运动链同构判定方法
申请号:
201911094538.2
状态:
审中-公开
申请日:
2019-11-11
申请人:
武汉科技大学
发明人:
杨义、孙伟、左惠妍
公开日:
代理机构:
主分类号:
G06F16/901(20190101)
我要购买
摘要:
本发明涉及一种基于素数非对称邻接矩阵的运动链同构判定方法,包括:对运动链中的每个构件进行编号,根据构件的运动副数量对其赋予相应的素数构建运动链的特征码M,比较各个运动链的特征码是否相同,如果不相同则为异构,如果相同则进行下一步;对特征码相同的运动链构建非对称邻接矩阵A;对各矩阵A构造判别矩阵D,计算判别矩阵D的和列阵,然后比较各运动链的判别矩阵D的和列阵是否相同,如果不相同则为异构,如果相同则进行下一步;对D的和列阵相同的运动链的判别矩阵D计算其特征值和特征向量,比较各运动链的特征值和特征向量是否相同,如果不同,则为异构,如果相同,则为同构。本发明表达直观判别起来十分简单高效。
[发明]
桥墩抗震加固支架
申请号:
201911137742.8
状态:
审中-公开
申请日:
2019-11-11
申请人:
武汉科技大学
发明人:
王嘉
公开日:
代理机构:
主分类号:
E01D19/02(20060101)
我要购买
摘要:
本发明公开了一种桥墩抗震加固支架,涉及桥梁抗震领域,该桥墩抗震加固支架包括设有粘结层的套筒,套筒顶部设有顶贴板,顶贴板上开有若干安装孔,顶贴板与套筒倾斜连接有若干斜撑杆,套筒侧面开有若干让位孔,每对让位孔中均贯穿有一根插杆,每根插杆的两端均设有焊接端块。该桥墩抗震加固支架不仅可以提高墩柱的抗剪强度和弯曲延性,而且可以提高桥墩与桥身的连接稳定性,能够大幅度提高桥梁的整体抗震性。
[发明]
下沉式绿地结构
申请号:
201911137745.1
状态:
审中-公开
申请日:
2019-11-11
申请人:
武汉科技大学
发明人:
汪恂、李燕萍、张龙
公开日:
代理机构:
主分类号:
A01G9/02(20180101)
我要购买
摘要:
本发明公开了一种下沉式绿地结构,涉及海绵城市领域,该下沉式绿地结构包括兜雨布,兜雨布通过连通管连接有储水箱,连通管内部设有一节过滤芯,储水箱通过水管连接有水泵,水泵通过水管连接有绿地箱,绿地箱内部填充有土壤。该下沉式绿地结构可以不受到建造面积影响,能够收集到足够的水分供植物生长需要,在天气干旱时亦可保障下沉式绿地内植物生长良好。
[发明]
一种低热耗散长寿命钢包衬体及其制备方法
申请号:
201911093813.9
状态:
审中-公开
申请日:
2019-11-11
申请人:
武汉科技大学
发明人:
张美杰、王瑶、顾华志、黄奥、付绿平、杨爽
公开日:
代理机构:
主分类号:
B22D41/02(20060101)
我要购买
摘要:
本发明涉及一种低热耗散长寿命钢包衬体及其制备方法。其技术方案是:所述钢包衬体由里向外依次由工作衬、永久衬和隔热衬组成。工作衬的包沿用耐火材料和永久衬用耐火材料所采用的相变蓄热材料的耐火浇注料的制备方法是:以5~20质量份的矾土颗粒、35~55质量份的矾土‑合金复合颗粒为骨料,以25~35质量份的矾土细粉、4~6质量份的α‑Al
2
O
3
微粉、0.1~1质量份的硅微粉和4~6质量份的铝酸钙水泥为基质;先将基质与0.1~0.2质量份的聚羧酸混合均匀,再与骨料混合,然后加入3~5质量份的水,搅拌均匀,得到含相变蓄热材料的耐火浇注料。本发明制备的钢包衬体具有热耗散低、工作衬温度波动小和钢包衬体寿命长的特点。
[发明]
活性官能团修饰多孔石墨相碳化氮光催化剂及其制备方法
申请号:
201911088908.1
状态:
审中-公开
申请日:
2019-11-08
申请人:
武汉科技大学
发明人:
陈辉、黄朝晖、赵雷、何漩、方伟、杜莹莹
公开日:
代理机构:
主分类号:
B01J27/24(20060101)
我要购买
摘要:
本发明涉及一种活性官能团修饰多孔石墨相碳化氮光催化剂及其制备方法。其技术方案是:先以30~80wt%的无机铵盐和20~70wt%的含氮有机物为原料,混合均匀,得到混合料;再以2~6℃/min的速率将所述混合料升温至500~600℃,保温2~6h,随炉冷却至室温,得到烧成料;然后将所述烧成料用去离子水洗涤2~3次,过滤;将过滤后的滤渣在50~100℃条件下干燥20~24h,制得活性官能团修饰多孔石墨相碳化氮光催化剂。本发明具有工艺简单、生产成本低、节约资源和环境友好的特点;所制备的活性官能团修饰多孔石墨相碳化氮光催化剂比表面积大、光响应范围广和电荷转移性能优异,光催化降解有机污染物及分解水制氢性能优异。
[发明]
一种钢包透气塞用轻质浇注料及其制备方法
申请号:
201911088379.5
状态:
审中-公开
申请日:
2019-11-08
申请人:
武汉科技大学
发明人:
贺铸、谭方关、潘丽萍、金胜利、李亚伟
公开日:
代理机构:
主分类号:
C04B35/101(20060101)
我要购买
摘要:
本发明提供了一种钢包透气塞用轻质浇注料及其制备方法,其原料按重量百分比,包括:20%~24%粒度为3~5mm的板状刚玉、26%~30%粒度为1~3mm的板状刚玉、17%~19%粒度为0~1mm的板状刚玉、13%~15%粒度为60~75μm的板状刚玉、6%~9%粒度为30~45μm板状刚玉、6%~9%粒度为1~2μm的α‑AL
2
O
3
。其制备方法包括原料混合粉制备、注模固化和焙烧处理三个步骤,焙烧处理的烧结温度为1350~1450℃。本发明的钢包透气塞用轻质浇注料具有良好的抗渣性能,其制备方法可使制得的钢包透气塞用浇注料在减轻质量的同时,增大组织的致密性,提高了透气塞的稳定性和使用寿命,且检修方便。
[发明]
一种规则排列的g-C
3
N
4
纳米管催化剂及其制备方法
申请号:
201911088916.6
状态:
审中-公开
申请日:
2019-11-08
申请人:
武汉科技大学
发明人:
赵雷、黄朝晖、陈辉、方伟、何漩、杜莹莹
公开日:
代理机构:
主分类号:
B01J27/24(20060101)
我要购买
摘要:
本发明涉及一种规则排列的g‑C
3
N
4
纳米管催化剂及其制备方法。其技术方案是:以30~80wt%的乙酸铵和20~70wt%的含氮有机物为原料,混合均匀,得到混合料;再将混合料以2~6℃/min的速率升温至500~600℃,保温2~6h,随炉冷却至室温,得到烧成料;然后将烧成料用去离子水清洗,过滤,过滤后的滤渣在50~100℃条件下干燥20~24h,制得规则排列的g‑C
3
N
4
纳米管催化剂。所述乙酸铵的纯度为96~99.5%;含氮有机物为氰胺、硫脲、尿素、三聚氰胺中的一种,所述含氮有机物纯度为96~99%。本发明具有工艺简单和生产成本低的特点;所制备的规则排列的g‑C
3
N
4
纳米管催化剂具有比表面积大、电荷转移性能良好和光催化分解水制氢性能优异的特点。
[发明]
一种基于摩擦纳米发电机的矿用溜井支护俘能装置
申请号:
201911089562.7
状态:
审中-公开
申请日:
2019-11-08
申请人:
武汉科技大学
发明人:
陈俊伟、姚囝、陈怡昕、肖贻昊、张杰、李鹏程
公开日:
代理机构:
主分类号:
H02N1/04(20060101)
我要购买
摘要:
本发明公开了一种基于摩擦纳米发电机的矿用溜井支护俘能装置,包括摩擦纳米发电机,摩擦纳米发电机包括相互匹配且可摩擦发电的动摩擦层和静摩擦层;承载层,承载层包括衬板和动嵌板,衬板竖直设置,动嵌板设置于衬板一面,并与动嵌板弹性连接;基座层,基座层包括基座板和静嵌板,衬板靠近基座板,并与基座板活动连接,动嵌板位于衬板和基座板之间,静嵌板竖直固定于基座板靠近衬板的一侧对应动嵌板的位置,并与动嵌板相互平行,动摩擦层和静摩擦层分别嵌装于动嵌板和静嵌板相互靠近的一侧。优点:能够有效地对溜井井壁进行支护,且可俘获矿山生产中所产生的能量,结构简单,一体化程度高,造价低,安全可靠,适用范围广。
[发明]
一种二氧化硅纳米球负载型氧化钼量子点催化剂及其制备方法
申请号:
201911083872.8
状态:
审中-公开
申请日:
2019-11-07
申请人:
武汉科技大学
发明人:
崔佳伟、王光辉、田永胜、柯萍、刘巍、马志江、徐浩伦
公开日:
代理机构:
主分类号:
B01J23/28(20060101)
我要购买
摘要:
本发明提供了一种二氧化硅纳米球负载型氧化钼量子点催化剂的制备方法,包括以下步骤:将MoS
2
粉体和二氧化硅纳米球加入去离子水中,搅拌至混合均匀后加入双氧水,反应完全后用氢氧化钠水溶液调整溶液至中性,随后固液分离得到的固体部分即为所述二氧化硅纳米球负载型氧化钼量子点催化剂。本发明的目的是提供一种二氧化硅纳米球负载型氧化钼量子点催化剂的制备方法,该方法合成的二氧化硅纳米球负载型氧化钼量子点催化剂形貌均匀、大小均一,并且对有机含硫化合物具备优异的催化氧化性能。
[发明]
一种基于二氧化硅纳米球负载型氧化钼量子点催化剂的含硫燃料油脱硫方法
申请号:
201911083587.6
状态:
审中-公开
申请日:
2019-11-07
申请人:
武汉科技大学
发明人:
崔佳伟、王光辉、田永胜、柯萍、刘巍、马志江、徐浩伦
公开日:
代理机构:
主分类号:
C10G27/12(20060101)
我要购买
摘要:
本发明提供了一种基于二氧化硅纳米球负载型氧化钼量子点催化剂的含硫燃料油脱硫方法,包括如下步骤:向含硫燃料油中添加二氧化硅纳米球负载型氧化钼量子点催化剂和氧化剂,在常压下反应完全后,取上层有机相即为脱硫后的燃料油。本发明以二氧化硅纳米球负载型氧化钼量子点作为催化剂,对油品进行脱硫。对苯并噻吩、二苯并噻吩、4,6‑二甲基二苯并噻吩氧化有良好的催化性能。
[发明]
一种隧道侧向重点排烟火灾烟气逆流长度的计算方法
申请号:
201911082568.1
状态:
审中-公开
申请日:
2019-11-07
申请人:
武汉科技大学
发明人:
郭昆、姜学鹏
公开日:
代理机构:
主分类号:
G06F30/20(20200101)
我要购买
摘要:
本发明涉及一种隧道侧向重点排烟火灾烟气逆流长度的计算方法,包括以下具体步骤:确定烟气逆流长度L的影响因素,建立烟气逆流长度L与影响因素的关系式;确定基本量纲,建立烟气逆流长度L与影响因素的量纲关系式;确定基本物理量,根据π定理得到影响因素的无量纲项,推导得到烟气逆流长度L的无量纲计算公式;通过数值模拟得到不同工况下火灾的烟气逆流长度L的数值,将模拟结果绘制成散点图,明确影响因素对烟气逆流长度L的影响;对上述结果进行非线性拟合,得到无量纲关系式中的各未知系数的取值,进而建立无量纲烟气逆流长度L的计算公式。有益效果是方法简单,适用于不同的隧道,为侧向重点排烟隧道火灾烟气控制及消防救援提供指导。
[发明]
一种用于水下“V”形坡隧道内温度分布预测的方法
申请号:
201911083586.1
状态:
审中-公开
申请日:
2019-11-07
申请人:
武汉科技大学
发明人:
谢智云、姜学鹏、景安
公开日:
代理机构:
主分类号:
G01K13/02(20060101)
我要购买
摘要:
本发明涉及一种用于水下“V”形坡隧道内温度分布预测的方法,包括以下具体步骤:根据隧道的坡型,确定所述隧道内的火灾场景模拟的基础设定参数;以所述基础设定参数为变量,通过火灾动力模拟软件进行数值模拟计算,获得不同条件下隧道内的纵向分布温度数值;根据数值模拟的结果,确定所述隧道内纵向温度衰减的相关参数和基础设定参数中对隧道内纵向温度衰减的影响因子;根据所述影响因子和所述相关参数,构建出水下“V”形坡的所述隧道内温度衰减的预测模型。有益效果是综合考虑了水下“V”形坡隧道结构的特殊性,确定了隧道坡度i及火源功率Q对隧道内温度递减的影响,适用于多种不同坡度、火源功率的水下“V”形坡隧道火灾温度预测。
首页
上一页
81
82
83
84
85
86
87
88
89
90
下一页
尾页
当前共找到
8115
个专利记录
,当前显示页码
85/406