首页
专利查询
专利购买
专利转让
专利申请
15071489439
当前位置:
专利巴士
专利查询
专利名称
查询
高级查询
当前共找到
8115
个专利记录
,当前显示页码
88/406
专利名称
申请号
申请人
发明人
专利代办机构
[实用新型]
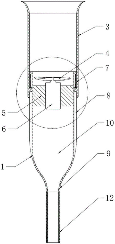
模拟降雨渗流和爆破振动耦合的岩土体剪切流变试验剪切盒
申请号:
201921808077.6
状态:
有权
申请日:
2019-10-25
申请人:
武汉科技大学
发明人:
胡斌、马利遥、常书祥、刘杨、祝鑫、王庭元、崔凯、魏二剑
公开日:
代理机构:
主分类号:
G01N3/24(20060101)
我要购买
摘要:
本实用新型涉及一种模拟降雨渗流和爆破振动耦合的岩土体剪切流变试验剪切盒,设有由上顶板与上剪切体构成的上剪切盒,和由下剪切体与下底板构成的下剪切盒,上、下剪切盒通过竖向辊轴压紧连接,试件放置在上、下剪切盒连接后形成的空腔中;试件上部设有法向加载垫块及法向加载压头,法向加载压头与法向加载垫块内设有高压水/气输入通道;上剪切盒内设有推动螺钉和预夹紧板可推动试件与上剪切体贴合;剪切盒中设有环绕空腔的扁平凹槽及出水/气通道;上顶板上设有移动滑板,下剪切体两侧设有大滚珠排;下底板下设有滑动滚排。使用本剪切盒能保证高压水/气的密封及快速对试件进行干湿循环操作,剪切过程中的摩擦力小,模拟试验结果吻合真实情况。
[实用新型]
模拟降雨渗流和爆破振动耦合的岩土体剪切流变试验装置
申请号:
201921808086.5
状态:
有权
申请日:
2019-10-25
申请人:
武汉科技大学
发明人:
胡斌、马利遥、常书祥、丁静、贾雅兰、方庆红、彭锐波、崔阿能
公开日:
代理机构:
主分类号:
G01N3/24(20060101)
我要购买
摘要:
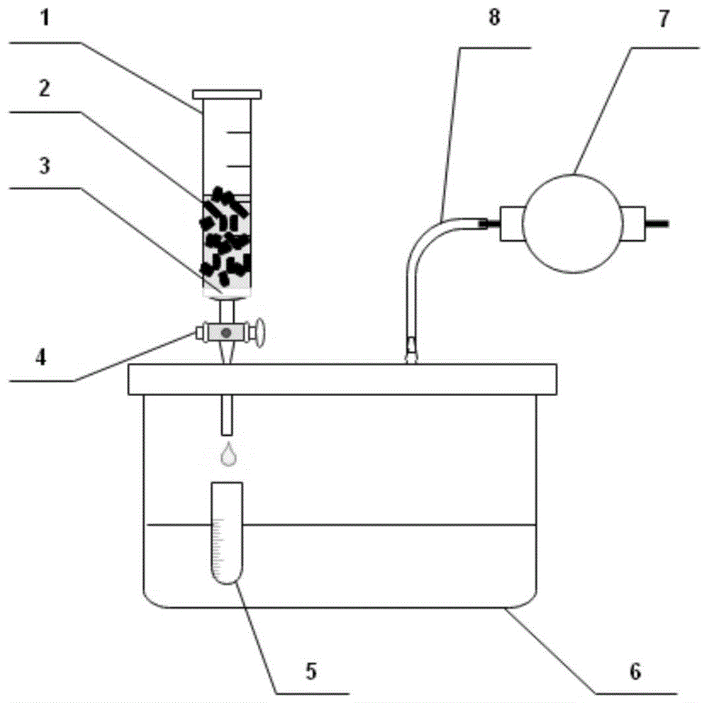
本实用新型涉及一种模拟降雨渗流和爆破振动耦合的岩土体剪切流变试验装置,设有加载机构和剪切盒;加载机构包括机架和设在机架上部的法向静载电动缸、机架下部的法向动载电动缸,在机架两侧的水平静载电动缸、水平动载电动缸及反力柱;剪切盒设有上剪切盒和下剪切盒,上、下剪切盒连接后内壁中形成空腔用于放置试件;试件上部设有法向加载垫块及法向加载压头,法向加载压头与法向加载垫块内设有入水/气通道;上、下剪切盒连接处设有环绕空腔的扁平凹槽及出水/气通道;下剪切盒下部设有滑动滚排置于移动轨道上。本装置可在不拆卸剪切盒条件下快速实现岩样干湿循操作,且能真实模拟降雨渗流和爆破振动对岩土体流变效应的影响,试验精度及效率高。
[发明]
一种高炉布带除尘灰浮选药剂及其应用方法
申请号:
201911024271.X
状态:
审中-公开
申请日:
2019-10-25
申请人:
福建三钢闽光股份有限公司、福建省三钢(集团)有限责任公司、武汉科技大学
发明人:
黄标彩、方宇荣、魏愈宋、刘真、陈敬佑、周文波、刘建丰、龚国强、雷国元
公开日:
代理机构:
主分类号:
B03D1/01(20060101)
我要购买
摘要:
本发明公开了一种高炉布带除尘灰浮选药剂及其应用方法,涉及高炉布带除尘灰浮选技术领域,其中高炉布带除尘灰浮选药剂包括捕收剂、抑制剂、活化剂、分散剂、调整剂和起泡剂,捕收剂为改性油基捕收剂,其含量为10~30重量份;抑制剂为锌矿物抑制剂,其含量为1~15重量份;活化剂为细粒炭粉活化剂,其含量为1~5重量份;分散剂为细粒矿物分散剂,其含量为5~20重量份;调整剂的含量为1~5重量份;起泡剂的含量为0.1~0.5重量份。本发明提供了一种针对高炉布带除尘灰的浮选药剂,该浮选药剂能够充分发挥各组份的协同效应,选择性好,捕收性强,对于高炉细粒除尘灰的次生炭具有很好浮选效果,精矿炭品位可达到70%以上,回收率可达到74%以上,并且能够很好地抑制锌矿物上浮,可实现高效的锌矿物富集。
[发明]
一种降雨渗流和爆破振动耦合模拟软岩剪切流变试验剪切盒
申请号:
201911022921.7
状态:
审中-公开
申请日:
2019-10-25
申请人:
武汉科技大学
发明人:
胡斌、马利遥、常书祥、刘杨、祝鑫、王庭元、崔凯、魏二剑
公开日:
代理机构:
主分类号:
G01N3/24(20060101)
我要购买
摘要:
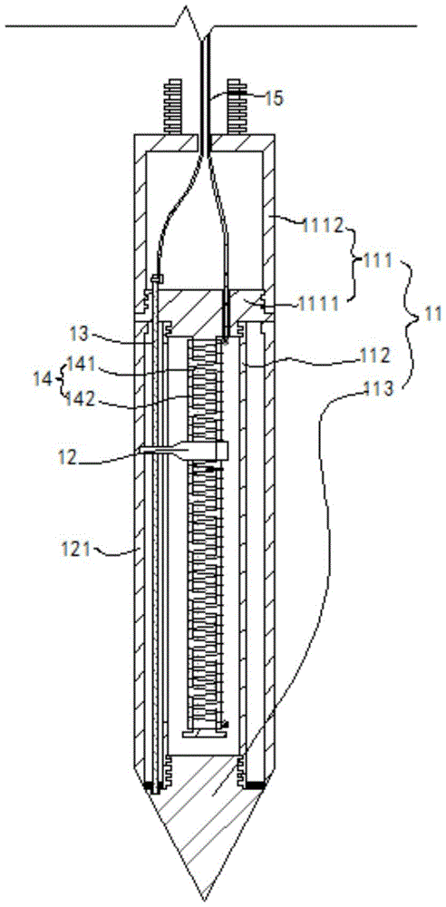
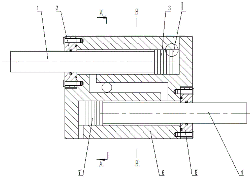
本发明涉及一种降雨渗流和爆破振动耦合模拟软岩剪切流变试验剪切盒,设上、下剪切盒,上剪切盒设上顶板与上剪切体,下剪切盒设下剪切体与下底板,上、下剪切盒通过竖向辊轴压紧连接,上剪切体与下剪切体内壁共同形成放置岩石试件的空腔;岩石试件上部设有法向加载垫块及法向加载压头,法向加载压头与法向加载垫块内设有入水/气通道;上剪切盒中设有预夹紧板可调节岩石试件贴合上剪切体;上、下剪切体接触部分设有环绕空腔的扁平凹槽及出水/气通道;下剪切体两侧设有大滚珠排;上顶板上设有小滚珠排和移动滑板,下底板下设有滑动滚排。本剪切盒可保证高压水/气的密封及快速进行干湿循环操作,剪切过程中摩擦力小,剪切试验结果吻合真实情况。
[发明]
一种降雨渗流和爆破振动耦合模拟软岩剪切流变试验系统
申请号:
201911022745.7
状态:
审中-公开
申请日:
2019-10-25
申请人:
武汉科技大学
发明人:
胡斌、马利遥、常书祥、丁静、贾雅兰、方庆红、彭锐波、崔阿能
公开日:
代理机构:
主分类号:
G01N3/24(20060101)
我要购买
摘要:
本发明涉及一种降雨渗流和爆破振动耦合模拟软岩剪切流变试验系统,至少设有加载装置和剪切盒;加载装置包括机架,设在机架上部的法向静载电动缸、下部的法向动载电动缸,机架两侧的水平静载电动缸、水平动载电动缸及反力柱;剪切盒设上剪切盒和下剪切盒,试件置于上、下剪切盒连接后内壁形成的空腔中;试件上部安装有法向加载垫块及法向加载压头,法向加载压头与法向加载垫块内设有入水/气通道;上、下剪切盒接触部分设有环绕空腔的扁平凹槽及出水/气通道;下剪切盒下部有滑动滚排置于移动轨道上。本系统可在剪切流变试验中不拆卸剪切盒条件下对试件进行干湿循环操作,能真实模拟降雨渗流和爆破振动对软岩流变效应的影响。
[发明]
一种金属浇铸用螺旋孔型陶瓷过滤器
申请号:
201911024031.X
状态:
审中-公开
申请日:
2019-10-25
申请人:
武汉科技大学
发明人:
李光强、王强、刘昱、黄奥、鄢文、郑万、顾华志
公开日:
代理机构:
主分类号:
B22C9/08(20060101)
我要购买
摘要:
本发明提供的金属浇铸用螺旋孔型陶瓷过滤器,包括螺旋孔型通道和两个泄流孔,螺旋孔型通道以叉排形式分布在陶瓷基体中,结构简单,易于成型和烧结,便于运输和安装;采用螺旋孔型通道结构,可使金属液向前流动的同时发生旋转,产生离心力,促使夹杂物的分离;由于金属浇铸用螺旋孔型陶瓷过滤器的化学成分为90wt%~95wt%的MgO、4wt%~8wt%的SiO
2
和2wt%~4wt%的ZrO
2
,所以其常温强度高,高温抗热冲击性能好,可以耐受1700℃或者更高温度的金属液冲击而不破碎;陶瓷基体表面及螺旋孔型通道表面有一层成分为CaO·2Al
2
O
3
或CaO·6Al
2
O
3
或Al
2
O
3
或TiO
2
或Re
2
O
3
功能氧化物涂层,提高了对夹杂物的吸附效率。
[实用新型]
一种金属浇铸用螺旋孔型陶瓷过滤器
申请号:
201921810338.8
状态:
有权
申请日:
2019-10-25
申请人:
武汉科技大学
发明人:
李光强、王强、刘昱、黄奥、鄢文、郑万、顾华志
公开日:
代理机构:
主分类号:
B22C9/08(20060101)
我要购买
摘要:
本实用新型提供的金属浇铸用螺旋孔型陶瓷过滤器,包括螺旋孔型通道和两个泄流孔,螺旋孔型通道采用叉排形式分布在陶瓷基体中,结构简单,易于成型和烧结,便于运输和安装;而且采用螺旋孔型通道结构,可使金属液向前流动的同时发生旋转,产生离心力,促使夹杂物的分离。
[实用新型]
便携式安全除冰挂装置
申请号:
201921796057.1
状态:
有权
申请日:
2019-10-24
申请人:
武汉科技大学
发明人:
马宇康、钱鑫
公开日:
代理机构:
主分类号:
B08B1/04(20060101)
我要购买
摘要:
本实用新型公开了一种便携式安全除冰挂装置,包括:破冰罩,其一端为开口端且其内部具有空腔,空腔中设置有驱动装置和电加热装置,驱动装置的输出轴上设置有破碎刀具;伸缩握杆,其设置在破冰罩背离其开口端的端侧,伸缩握杆的空心部与空腔连通;伸缩护筒,其套设在破冰罩的外壁上,伸缩护筒朝向伸缩握杆的端部还与破冰罩的外壁通过弹簧连接,初始状态下,在弹簧的作用下伸缩护筒顶端与破冰罩底端之间的距离相对最大,而在除冰时,伸缩护筒受压使得伸缩护筒顶端与破冰罩靠近伸缩握杆的端侧之间的总长度逐渐变短。本实用新型在除冰整个过程中由于有伸缩护筒的保护,不会有冰锥掉落,保护操作人员和周围行人车辆。
[实用新型]
土层沉降探测探头及其组成的土层沉降探测系统
申请号:
201921798229.9
状态:
有权
申请日:
2019-10-24
申请人:
武汉科技大学
发明人:
李好强、雷学文、刘梦云
公开日:
代理机构:
主分类号:
G01N27/04(20060101)
我要购买
摘要:
本实用新型公开了一种土层沉降探测探头及其组成的土层沉降探测系统,包括壳体、导电条、导电柱、电阻柱和导线接头,电阻柱竖向设置在壳体内,导电柱竖向设置在壳体内或壳体外,且电阻柱和导电柱均与壳体连接固定并绝缘连接,导线接头安装在壳体上,其两个接线端子分别内延至壳体内,并分别与电阻柱和导电柱电连接,壳体的侧壁上竖向设有条形孔,导电条经条形孔伸入到壳体内,并分别与导电柱和电阻柱滑动接触,导电条位于壳体外固定连接有滑动件,在外力作用下驱动滑动件上下移动并带动导电条沿条形孔上下滑动以调整导电柱、导电条以及电阻柱共同形成的电阻的电阻值。其结构简单,灵敏度高,适用性强。
[实用新型]
一种多功能可收纳伸缩折叠床
申请号:
201921795289.5
状态:
有权
申请日:
2019-10-24
申请人:
武汉科技大学
发明人:
黄云山、孙伟、程自豪
公开日:
代理机构:
主分类号:
A47C19/12(20060101)
我要购买
摘要:
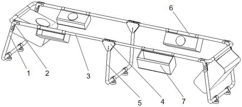
本实用新型公开了一种多功能可收纳伸缩折叠床,包括折叠床本体,折叠床本体的床架包括两个床半架、两个两端支撑架、一个中间支撑架、四个两端固定架和两个中间固定架。床半架的长杆采用伸缩杆,床半架的两端或侧面连接有收纳袋,还包括吸盘装置,吸盘装置包括固定杆、固定环和吸盘,固定杆顶端连接固定环侧壁,固定杆底部连接吸盘,固定环顶端有开口,可容两端支撑架和中间支撑架通过。伸缩杆通过调节长度可以进一步减小存所占用的空间。收纳袋方便收纳物品,且折叠床存放时可以将收纳袋背面的魔术贴粘片粘贴到床布背面,因而也不占取存放空间。在使用时打开收纳袋从而使使用者具有存放物品的空间。吸盘装置能防止床腿滑动。
[实用新型]
一种基于高温红外热像仪的新型转炉出钢监控装置
申请号:
201921842467.5
状态:
有权
申请日:
2019-10-24
申请人:
武汉科技大学
发明人:
潘炼、李艳丽
公开日:
代理机构:
主分类号:
C21C5/46(20060101)
我要购买
摘要:
本实用新型涉及一种基于高温红外热像仪的新型转炉出钢监控装置,其特征在于,包括:转炉出钢系统(501)、红外滤波衰减片(502)、红外长焦镜头(503)、保护罩(504)、红外热像仪(505)、DSP处理器(506)、计算机监控DCS系统(507)、控制网络CNET(508)、PLC系统(509)、I/O接口模块(510);系统基于高温红外热像仪对转炉出钢状态进行监控,实时采集监控出钢钢流的红外热图像和温度信息,并进行分析处理,计算显示出钢流中渣占比,提高了后期钢渣的渣占比计算精确度,增加了钢水的收得率。
[发明]
一种铁矿全干式选别方法
申请号:
201911017528.9
状态:
审中-公开
申请日:
2019-10-24
申请人:
武汉科技大学
发明人:
陈铁军、刘伟、周仙霖、万军营、罗艳红
公开日:
代理机构:
主分类号:
B03B7/00(20060101)
我要购买
摘要:
本发明公开了一种铁矿全干式选别方法,包括以下步骤:将含铁原矿进行粗破、筛分,并将筛上产品进行中碎后与筛下产品一起进行磁滑轮干式预选,预选精矿再进行高压辊磨,预选尾矿作为沙石骨料;将辊磨后预选精矿打散后通过圆辊筛筛分,并将筛上产品进行一段磁滑轮干式预选,预选精矿返回高压辊磨给料端,预选尾矿也作为沙石骨料;圆辊筛筛下产品采用螺旋干式预选,螺旋干式预选尾矿作为粗尾矿,预选精矿进入加热风的立式干磨机中;干磨后产品用双磁场螺旋干式磁选机粗选,粗选中矿进行两段带式风磁精选,最终带式风磁精矿与粗选精矿一起组成综合精矿。本发明采用全干式选矿流程、工艺简单、低水耗、尾矿建材化利用率高、无需尾矿坝。
[发明]
一种掺氮碳纳米管超级电容器的制备方法
申请号:
201911011045.8
状态:
审中-公开
申请日:
2019-10-23
申请人:
武汉科技大学
发明人:
张华、吕尧吒、张耀华、余丽、雷锐、倪红卫
公开日:
代理机构:
主分类号:
H01G11/36(20130101)
我要购买
摘要:
本发明公开了一种掺氮碳纳米管超级电容器的制备方法,包括以下步骤:(1)制备不锈钢基底;(2)在不锈钢基底上气相沉积一维碳纳米管;(3)空气退火;(4)制备掺氮碳纳米管。本发明采用不锈钢作为基底直接用于制备碳纳米管,利用其中分布均一的Fe、Ni作为催化剂,无需再引入其他催化剂,降低原料成本,基于不锈钢的Fe、Ni分布均一和耐腐性好,所制备的碳纳米管结构均一、稳定;利用空气退火处理提高其比表面积及电化学活性;掺氮处理能改善碳纳米管的亲水性,并使得电极同时具备双电层电容和法拉第电容,从而提高其电容性能。本发明提供的方法设备要求低、成本可控,制备时间短,具有较大的应用前景。
[实用新型]
一种杆塔筋板双工位自动焊接装置
申请号:
201921785674.1
状态:
有权
申请日:
2019-10-23
申请人:
武汉科技大学、江苏鸿光杆塔有限公司
发明人:
刘源泂、薛海浪、唐建康、邹光明、马榕泽、宋建、史晋铭
公开日:
代理机构:
主分类号:
B23K31/02(20060101)
我要购买
摘要:
本实用新型公开了一种杆塔筋板双工位自动焊接装置。本实用新型所述的焊接装置旨在提供一种自动化程度高,能针对不同管长、不同管径的管道进行焊接的自动焊接装置。该装置它括固定端装夹装置、移动端装夹装置、机械手操作系统、液压升降系统;所述固定端装夹装置装于固定端,移动端装夹装置置于可平移的小车上,机械手操作系统分布于管状杆塔两端的两个工位;液压升降系统位于管状杆塔下方位置。
[发明]
一种管道肋板焊接装置及方法
申请号:
201911011051.3
状态:
审中-公开
申请日:
2019-10-23
申请人:
武汉科技大学、江苏鸿光杆塔有限公司
发明人:
刘源泂、薛海浪、邹光明、唐建康、史晋铭、马榕泽、宋建
公开日:
代理机构:
主分类号:
B23K31/02(20060101)
我要购买
摘要:
本发明公开了一种管道肋板焊接装置及方法。该装置它括固定端装夹装置、移动端装夹装置、机械手操作系统、液压升降系统;所述固定端装夹装置装于固定端,移动端装夹装置置于可平移的小车上,机械手操作系统分布于管道工件两端的两个工位;液压升降系统位于管道工件下方位置,本发明所述的焊接方法的运用该焊接装置通过对视觉系统和焊接系统、装夹装置进行同步控制,实现了对工件的吊装、移动、夹紧、旋转、焊接的自动化作业,实现了管道周向肋板的双工位同步焊接;能针对不同管长、不同管径的管道进行焊接。
[发明]
一种基于固相萃取评价重金属离子吸附剂吸附稳定性的方法
申请号:
201911011393.5
状态:
审中-公开
申请日:
2019-10-23
申请人:
武汉科技大学
发明人:
康宁、毛磊、张宇
公开日:
代理机构:
主分类号:
B01D15/10(20060101)
我要购买
摘要:
本发明公开了一种基于固相萃取评价重金属离子吸附剂吸附稳定性的方法,包括以下步骤:(1)将重金属离子吸附剂填入固相萃取装置的固相萃取柱中;(2)将重金属离子溶液从固相萃取柱中加入并控制其流速,收集等间隔体积的流出液并测定其浓度,直至流出液浓度恒定时停止;(3)以流出液累计体积为横坐标,流出液浓度为纵坐标绘制穿透曲线;(4)分析穿透曲线,计算吸附参数以评价吸附剂的稳定性。本发明利用固相萃取装置评价重金属离子吸附剂的稳定性,所使用装置简单、操作便捷、吸附剂用量少,检测时间短,准确度高,实现了高效快速检测。
[实用新型]
一种节能型两缸高压柱塞液压缸
申请号:
201921788219.7
状态:
有权
申请日:
2019-10-23
申请人:
武汉科技大学
发明人:
郭媛、匡伯乐、蒋俊、傅连东、曾良才、湛从昌
公开日:
代理机构:
主分类号:
F15B15/14(20060101)
我要购买
摘要:
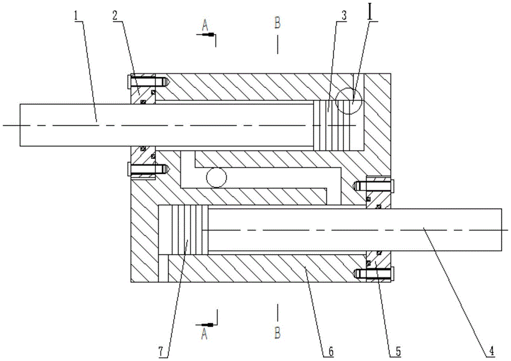
本实用新型涉及一种节能型两缸高压柱塞液压缸。其技术方案是:所述缸体(6)设有的第一油腔(9)和第二油腔(12)的中心线平行且位于同一平面,第一油腔(9)和第二油腔(12)的开口端方向相反。第一油腔(9)和第二油腔(12)对应地开有第一油孔(10)和第二油孔(15),第一油腔(9)通过油道(13)和第二油腔(12)相通,补油通道(14)的一端与油道(13)相通,补油通道(14)的另一端外接压力油管道或堵头。第一油腔(9)装有第一柱塞体,第二油腔(12)装有第二柱塞体。第一柱塞杆(1)的直径为第一柱塞(3)直径的0.8~0.9倍,第一柱塞(3)圆柱体表面加工有5~7条均匀分布的均压槽(20),第一柱塞体与第二柱塞体相同。本实用新型结构简单、体积小、双向推动重物、能耗低、密封性好和频率响应快。
[发明]
一种双缸双向高压节能柱塞液压缸
申请号:
201911014025.6
状态:
审中-公开
申请日:
2019-10-23
申请人:
武汉科技大学
发明人:
郭媛、匡伯乐、蒋俊、陈新元、湛从昌
公开日:
代理机构:
主分类号:
F15B15/14(20060101)
我要购买
摘要:
本发明涉及一种双缸双向高压节能柱塞液压缸。其技术方案是:所述缸体(6)设有的第一油腔(9)和第二油腔(12)的中心线平行且位于同一平面,第一油腔(9)和第二油腔(12)的开口端方向相反。第一油腔(9)和第二油腔(12)对应地开有第一油孔(10)和第二油孔(15),第一油腔(9)通过油道(13)和第二油腔(12)相通,补油通道(14)的一端与油道(13)相通,补油通道(14)的另一端外接压力油管道或堵头。第一油腔(9)装有第一柱塞体,第二油腔(12)装有第二柱塞体。第一柱塞杆(1)的直径为第一柱塞(3)直径的0.8~0.9倍,第一柱塞(3)圆柱体表面加工有5~7条均匀分布的均压槽(20),第一柱塞体与第二柱塞体相同。本发明结构简单、体积小、双向推动重物、能耗低、密封性好和频率响应快。
[实用新型]
半自动切果器
申请号:
201921776057.5
状态:
有权
申请日:
2019-10-22
申请人:
武汉科技大学
发明人:
张立恒、刘怀广
公开日:
代理机构:
主分类号:
B26D1/09(20060101)
我要购买
摘要:
本实用新型公开了一种半自动切果器,包括:底座,其上相对的两内侧壁上均设置有滑槽;水果定位盘,其两侧对应地滑接于滑槽内;第一支撑架和第二支撑架,其对应地设置在底座的顶面两侧,第一支撑架上和第二支撑架上均沿其高度方向上设置有导轨;挡果圈,其分别对应地滑接于第一支撑架和第二支撑架上的导轨中;升降装置,包括设置在底座顶面两侧的升降杆以及驱动升降杆转动的驱动装置;以及环切刀,其包括环形的刀座、设置在刀座中心位置处的中空的中心筒以及沿刀座径向设置且连接刀座和中心筒的多个刀片,刀座的外壁上设置有套圈,套圈与底座顶面两侧的升降杆通过螺纹连接。本实用新型无需人力按压施力即可切水果,省时省力。
[实用新型]
一种垂直循环车库的稳车装置
申请号:
201921775723.3
状态:
有权
申请日:
2019-10-22
申请人:
武汉钢铁集团湖北华中重型机械制造有限公司、武汉科技大学
发明人:
邹祥瑞、高全杰、古德长、金荣、朱方明、刘洋、付岑瑶、张乐、易娟娟
公开日:
代理机构:
主分类号:
E04H6/14(20060101)
我要购买
摘要:
本实用新型公开了一种垂直循环车库的稳车装置,包括车库固定架、吊篮和稳车装置,所述车库固定架的底部通过固定螺栓固定于地面上,且车库固定架上固定安装有弧形轨道,所述吊篮通过滑轮在弧形轨道内滑动,且车库固定架的中部固定安装有电机组件,且电机组件的输出轴通过链条提升组件与吊篮进行固定连接,所述稳车装置包括底座,所述底座顶部的两侧均固定连接有套筒,本实用新型涉及智能停车设备技术领域。该垂直循环车库的稳车装置,可很好的解决了吊篮在停车取车时的晃动问题,保证了设备安全平稳运行,通过使用地面稳车装置能够有效稳定吊篮,防止吊篮晃动,增加了设备的安全性,提高了用户使用舒适度。
首页
上一页
81
82
83
84
85
86
87
88
89
90
下一页
尾页
当前共找到
8115
个专利记录
,当前显示页码
88/406