首页
专利查询
专利购买
专利转让
专利申请
15071489439
当前位置:
专利巴士
专利查询
专利名称
查询
高级查询
当前共找到
8115
个专利记录
,当前显示页码
99/406
专利名称
申请号
申请人
发明人
专利代办机构
[实用新型]
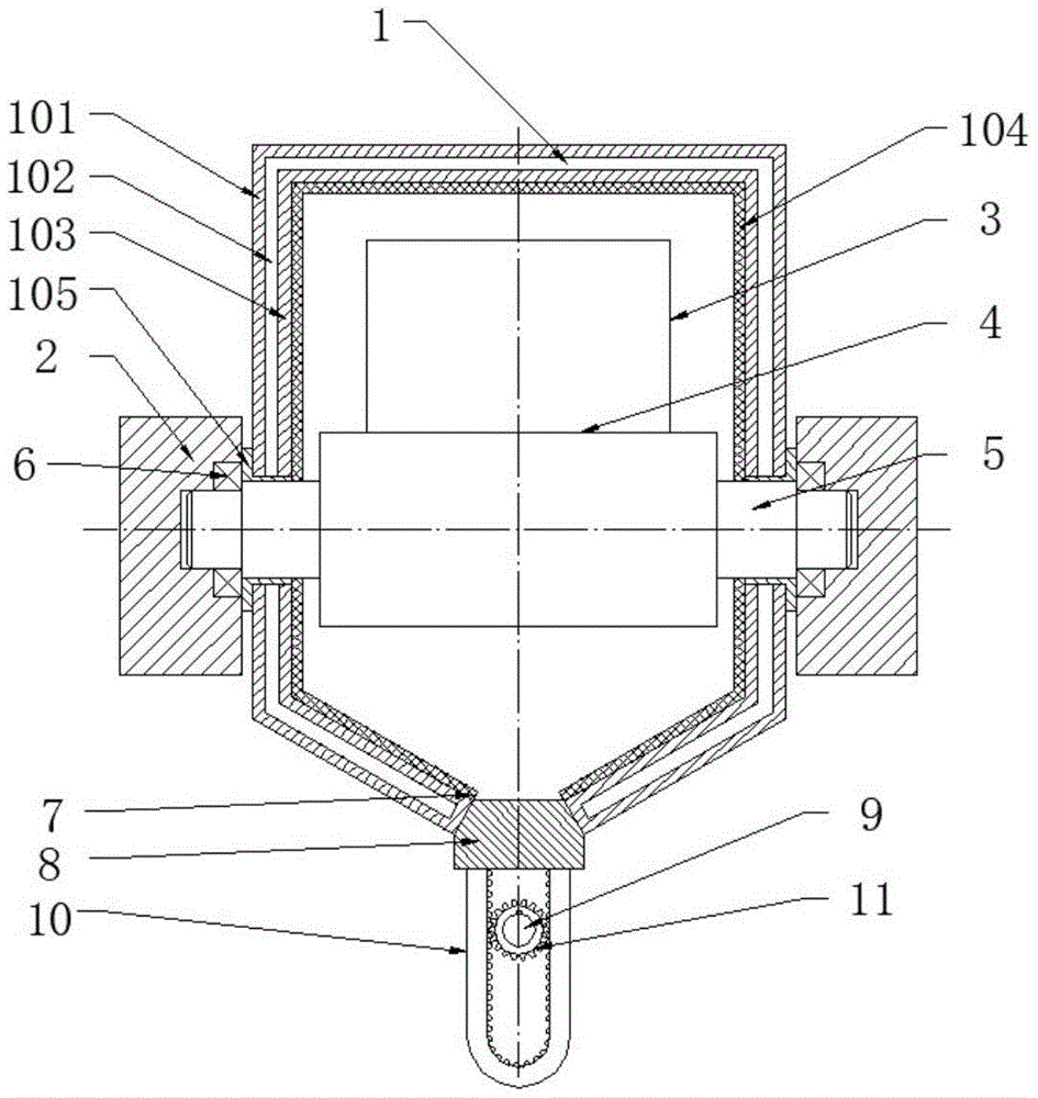
一种连铸辊道的真空保温设备
申请号:
201921220770.1
状态:
有权
申请日:
2019-07-31
申请人:
武汉科技大学、武汉市赟巨科技有限公司
发明人:
周建安、吴江江、王宝
公开日:
代理机构:
主分类号:
B22D11/128(20060101)
我要购买
摘要:
本实用新型公开了一种连铸辊道的真空保温设备,包括罩体和支撑座,所述罩体包括外保温层、真空层、内保温层;所述罩体通过绝热套与支撑座连接,辊道位于罩体内部,辊道转轴的两端分别通过轴承与支撑座连接,所述内保温层的内壁上还设置有耐火材料;本实用新型通过罩体内的外保温层、真空层、内保温层和防火材料对辊道上的连铸坯进行保温,通过在罩体底部设置活动板根据温度反馈控制驱动伺服电机进行自动调整,在保证罩体内部温度的同时,不断的对连铸坯运输过程中产生的氧化皮进行清理,且避免了氧化皮对辊道的影响,本实用新型降低了连铸坯冷却速度,提高连铸坯入炉温度,节约了成本,增加了生产效率,提高了经济效益。
[发明]
一种纳米零价铁@分子筛复合材料及其制备方法与用途
申请号:
201910701672.8
状态:
审中-公开
申请日:
2019-07-31
申请人:
武汉科技大学
发明人:
刘冰雪、刘红、范先媛、李志学
公开日:
2019-11-15
代理机构:
11212北京轻创知识产权代理有限公司
主分类号:
C02F1/28(20060101)
我要购买
摘要:
本发明涉及一种纳米零价铁@分子筛复合材料及其制备方法与用途,包括以下步骤:配制铁盐溶液,向铁盐溶液中加分子筛,在氮气保护下机械搅拌使铁离子交换到分子筛中,得到分子筛和铁盐的混合液A;将混合液A进行固液分离,将分离后的固体与水混合得到混合反应液中,在氮气保护和机械搅拌的条件下,向混合反应液中加入还原剂溶液,继续搅拌,得到混合液B;将混合液B进行固液分离,对分离后的固体进行洗涤和干燥处理得到纳米零价铁@分子筛复合材料。根据本发明方法合成的纳米零价铁@分子筛复合材料综合了分子筛的阳离子交换性能和纳米零价铁的吸附‑还原性能,对Pb
2+
、Cu
2+
等重金属阳离子和亚砷酸根等阴离子都有较好的去除效果。
[实用新型]
一种能升降及移动的吊灯装置
申请号:
201921225366.3
状态:
有权
申请日:
2019-07-31
申请人:
武汉科技大学
发明人:
杨哲辉、邓小龙、邓芷君、朱弟文
公开日:
代理机构:
主分类号:
F21S8/06(20060101)
我要购买
摘要:
一种能升降及移动的吊灯装置,包括第一固定座、第二固定座、承载板、吊灯、第一开关、第二开关、第三开关、第四开关、电源及微控制器。所述第一固定座设置有第一电动推杆,所述第二固定座设置有第二电动推杆;所述第一电动推杆端部与所述第一卡座连接,所述第二电动推杆端部与所述第二卡座连接。第一卡座下方设置有第一连接座,第二卡座下方设置有第二连接座,第一连接座内部设置有第一电机、第一连接杆及第一绕绳筒,第二连接座内部设置有第二电机、第二连接杆及第二绕绳筒;第一绕绳筒缠绕有第一连接绳,第二绕绳筒缠绕有第二连接绳;第一连接绳、第二连接绳分别与吊灯连接。本实用新型能够调节吊灯在水平方向及垂直方向的位置,使用方便。
[发明]
一种扑动幅值角可调的仿生扑翼飞行器
申请号:
201910703331.4
状态:
审中-公开
申请日:
2019-07-31
申请人:
武汉科技大学
发明人:
侯月阳、侯宇、高颖、王昆、石维、雷娇
公开日:
2019-10-25
代理机构:
42222武汉科皓知识产权代理事务所(特殊普通合伙)
主分类号:
B64C33/00(20060101)
我要购买
摘要:
本发明涉及一种扑动幅值角可调的仿生扑翼飞行器,包括机身、扑动机构、两个翅翼机构、尾翼机构、微处理器及无线通信模块,所述扑动机构安装于所述机身头部,两个翅翼机构左右对称安装于所述扑动机构两侧,所述尾翼机构安装于所述机身尾部。起飞时,使扑动机构的第一电机、第二电机及第三电机均启动工作,以提供较大动力,有利于起飞;完成起飞后,使第三电机停止转动,第一电机及第二电机继续转动;同时,地面工作人员通过操作遥控器能够改变第一电机及第二电机的转动角度,完成一次扑动幅值角调节,实现减小扑动幅值角,以降低动力需求,有利于节省能源,降低飞行成本。
[发明]
一种冶金包用耐火材料及其制备方法
申请号:
201910699219.8
状态:
审中-公开
申请日:
2019-07-31
申请人:
武汉科技大学、武汉市赟巨科技有限公司
发明人:
周建安、杨健、李数
公开日:
2019-11-08
代理机构:
深圳汇策知识产权代理事务所(普通合伙)44487
主分类号:
C04B35/66(2006.01)I
我要购买
摘要:
本发明公开了一种冶金包用耐火材料及其制备方法,所述冶金包用耐火材料按重量份包括:致密烧结刚玉颗粒50‑60份、致密烧结刚玉细粉10‑15份、发泡珠光砂细粉5‑30份、活性氧化铝微粉3‑10份、电熔镁砂微粉5‑10份、氧化镁微粉1‑5份、有机硅憎水剂0.2‑0.5份。制备步骤包括:采用有机硅憎水剂对发泡珠光砂细粉进行憎水改性,然后将各原料先干混再湿混,将湿混好的浇注料经振动加压成型、养护和烧结,得到所述冶金包用耐火材料,其中在烧结过程中吹扫惰性气体,提高显气孔率。本发明提供的冶金包用耐火材料气孔率高且均匀,具有良好的热震稳定性、高吹通率、使用寿命显著延长。
[发明]
一种冶金精炼废渣脱硫处理方法
申请号:
201910699218.3
状态:
审中-公开
申请日:
2019-07-31
申请人:
武汉科技大学、武汉市赟巨科技有限公司
发明人:
周建安、李数、王宝
公开日:
2019-12-03
代理机构:
44487深圳汇策知识产权代理事务所(普通合伙)
主分类号:
C22B1/10(20060101)
我要购买
摘要:
本发明公开了一种冶金精炼废渣脱硫处理方法,将冶金精炼废渣粉体与硫铁矿粉混合后,通过氧化焙烧进行脱硫,并对脱硫后剩余的渣料和产生的气体进行回收利用;其中,回收的渣料可用作冶炼助熔剂,回收的气体经净化、干燥、转化和吸收可制得成品硫酸;通过上述方式,本发明能够提高冶金精炼废渣粉的脱硫率,实现对冶金精炼废渣粉的高效脱硫及循环利用,并且通过对氧化焙烧产生的气体进行收集和再处理,制得了成品硫酸,既避免了其直接排放造成的污染,又提高了资源的整体利用率。
[发明]
一种抑制多余力的被动式力加载装置
申请号:
201910704469.6
状态:
审中-公开
申请日:
2019-07-31
申请人:
武汉科技大学
发明人:
金晓宏、魏航、张明伟、阮军、何龙飞、李朝朝
公开日:
2019-10-18
代理机构:
武汉科皓知识产权代理事务所(特殊普通合伙)42222
主分类号:
F15B11/08(2006.01)I
我要购买
摘要:
本发明涉及一种抑制多余力的被动式力加载装置。其技术方案是:所述被动式力加载装置包括力伺服系统和电液控制系统。所述力伺服系统是:第一定量泵(9)的出口分别与第一单向阀(7)的入口和第一溢流阀(8)的入口相通,第一单向阀(7)的出口与第一伺服阀(3)的进油口P
1
相通;第一伺服阀(3)的控制口A
1
和控制口B
1
与液压缸(18)对应的左腔和右腔相通。所述电液控制系统是:第二定量泵(13)的出口分别与第二单向阀(14)的入口和第二溢流阀(11)的入口相通,第二单向阀(14)的出口与第二伺服阀(15)的进油口P
2
相通,第二伺服阀(15)的控制口A
2
和控制口B
2
与液压缸(18)对应的左腔和右腔相通。本发明具有响应速度快、系统能耗低和力加载精度高的特点。
[发明]
越障机器人及其越障方法
申请号:
201910704947.3
状态:
审中-公开
申请日:
2019-07-31
申请人:
武汉科技大学
发明人:
黄文豪、江志刚、姚昕、瞿华、牛会通、戴超凡
公开日:
2019-10-25
代理机构:
42222武汉科皓知识产权代理事务所(特殊普通合伙)
主分类号:
B62D57/028(20060101)
我要购买
摘要:
本发明涉及一种越障机器人及其越障方法,包括结构模块,其包括机身以及依次沿所述机身长度方向设置的三组行走机构,三组行走机构均包括两个对称设置在机身两侧的越障装置,越障装置包括设置在机身上的第一驱动装置、与第一驱动装置连接的腿部支架、设置在腿部支架另一端的驱动轮以及与驱动轮的轮轴联接且为其提供动力的第二驱动装置;感应模块,其设置在所述机身上;控制系统,其与感应模块以及三组行走机构的第一驱动装置以及第二驱动装置电气连接,用于接收所述感应模块采集的信息,并根据该采集的信息控制三组行走机构的工作情况。本发明的机器人控制方便且能跨越多种障碍,具有对环境适应能力强且能及时响应环境状况等功能。
[发明]
一种大口径金属容器自动砂带打磨机器人
申请号:
201910694495.5
状态:
审中-公开
申请日:
2019-07-30
申请人:
武汉科技大学
发明人:
郭宇飞、余归城、高益凡、易静姝、张玥、王志刚、徐增丙、杨丹
公开日:
2019-11-12
代理机构:
上海精晟知识产权代理有限公司31253
主分类号:
B24B21/02(2006.01)I
我要购买
摘要:
本发明公开了一种大口径金属容器自动砂带打磨机器人,包括行走部分、机械臂、打磨执行部分和控制部分;其中,所述行走部分安装于打磨容器边沿,并且行走部分横亘整个容器,所述机械臂的两端分别与行走部分和打磨执行部分连接,本发明涉及容器打磨设备技术领域。该大口径金属容器自动砂带打磨机器人,可实现通过行走结构以及机械臂带动打磨装置可对尺寸较大或尺寸不同工件打磨位置进行定位打磨,执行装置设计用于以尽可能最简单的方式将多种尺寸的砂带轮切换到一个工作位置,且具有良好的稳定性、准确性和快速性,后壳的开口安装吸尘装置,吸走打磨过程中产生的灰尘以减少灰尘杂物对环境和工人的影响。
[实用新型]
一种大口径金属容器自动砂带打磨机器人
申请号:
201921212049.8
状态:
有权
申请日:
2019-07-30
申请人:
武汉科技大学
发明人:
郭宇飞、余归城、高益凡、易静姝、张玥、王志刚、徐增丙、杨丹
公开日:
代理机构:
主分类号:
B24B21/02(20060101)
我要购买
摘要:
本实用新型公开了一种大口径金属容器自动砂带打磨机器人,包括行走部分、机械臂、打磨执行部分和控制部分;其中,所述行走部分安装于打磨容器边沿,并且行走部分横亘整个容器,所述机械臂的两端分别与行走部分和打磨执行部分连接,本实用新型涉及容器打磨设备技术领域。该大口径金属容器自动砂带打磨机器人,可实现通过行走结构以及机械臂带动打磨装置可对尺寸较大或尺寸不同工件打磨位置进行定位打磨,执行装置设计用于以尽可能最简单的方式将多种尺寸的砂带轮切换到一个工作位置,且具有良好的稳定性、准确性和快速性,后壳的开口安装吸尘装置,吸走打磨过程中产生的灰尘以减少灰尘杂物对环境和工人的影响。
[发明]
一种柔顺驱动机械臂
申请号:
201910694511.0
状态:
审中-公开
申请日:
2019-07-30
申请人:
武汉科技大学
发明人:
郭宇飞、王佳松、王孟楠、张鸿儒、席宝成、王志刚、高益凡
公开日:
代理机构:
主分类号:
F41A9/39(20060101)
我要购买
摘要:
本发明公开了一种柔顺驱动机械臂,包括两自由度协调器、部分装弹机结构和柔顺驱动关节部分,在现代化战场上坦克配备自动装弹机是必然要求,它可以提高火炮射速,减少坦克成员数量,还可以降低坦克总高度,在一定程度上增加他坦克安全性。双自由度的弹药传输机械臂,本发明涉及机械臂技术领域。该柔顺驱动机械臂,系统有了弹性储能元件之后从而使系统的速度更加稳定,磁流变离合器的运用使得弹性元件中的能量可以进行随意的释放与存储,当系统的阻力做正功的时候,利用弹性元件进行储能,当系统的阻力做负功的的时候,将弹性元件中的能量进行释放,用它来放克服阻力。其中磁流变离合器与弹性元件采用并联的方式进行连接。
[发明]
一种高孔隙率六铝酸钙泡沫陶瓷及其制备方法
申请号:
201910689203.9
状态:
审中-公开
申请日:
2019-07-29
申请人:
武汉科技大学
发明人:
李远兵、周琪润、李淑静、向若飞、李鑫、欧阳思
公开日:
2019-11-12
代理机构:
武汉科皓知识产权代理事务所(特殊普通合伙)42222
主分类号:
C04B35/44(2006.01)I
我要购买
摘要:
本发明涉及一种高孔隙率六铝酸钙泡沫陶瓷及其制备方法。其技术方案是:以10~20wt%的轻质碳酸钙和80~90wt%的α‑Al
2
O
3
为原料,外加所述原料1~5wt%的添加剂和100~180wt%的糖,混合,得到预混料;按所述预混料︰锆球的质量比为1︰(2~3),将所述预混料放入球磨机滚筒内,球磨4~6h,得到混合料;在150~200℃条件下搅拌30~90min,再于120~150℃条件下发泡和固化24~48h,得到泡沫陶瓷生坯;将所述泡沫陶瓷生坯以1~2℃/min的速率升温至1450~1650℃,保温2‑5h,制得高孔隙率六铝酸钙泡沫陶瓷。本发明生产成本低,制备的高孔隙率六铝酸钙泡沫陶瓷为三维网络连通结构,具有孔隙率高、强度高、导热系数低、使用寿命长和使用范围广的特点。
[实用新型]
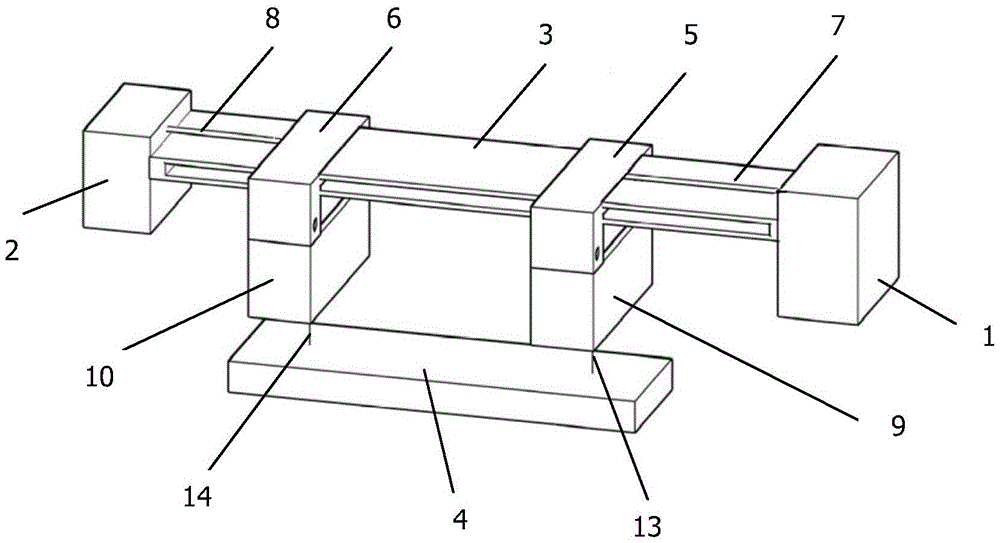
一种模拟沉桩锤击试验装置
申请号:
201921199076.6
状态:
有权
申请日:
2019-07-29
申请人:
武汉科技大学
发明人:
谢凌峰、蔡云辉、龚建伍、许洁丽、李智恒、范碧成
公开日:
代理机构:
主分类号:
E02D33/00(20060101)
我要购买
摘要:
一种模拟沉桩锤击试验装置,包括电动机、传动杆、重锤,还包括三轴压力室、传动部分;所述传动部分包括输入输出轴、浮动轴、传动件,所述输入输出轴一端与电动机的输出轴连接另一端与所述浮动轴相连,所述浮动轴还与所述传动件的一端相连,所述传动杆上设置有传动槽,所述传动件远离所述浮动轴的一端滑动安装在所述传动槽中,所述传动杆底部连接所述重锤,所述传动杆和所述重锤安装在所述三轴压力室内。本实用新型结构简单,装样精确,可进行模型桩沉桩形式的研究。
[发明]
一种形内自相似蜂窝结构优化方法、装置及存储介质
申请号:
201910691240.3
状态:
审中-公开
申请日:
2019-07-29
申请人:
武汉科技大学
发明人:
成明、郭媛、陈亚琦、袁依文、刘凯乐、陈传雨
公开日:
2019-11-19
代理机构:
11212北京轻创知识产权代理有限公司
主分类号:
G06F17/50(20060101)
我要购买
摘要:
本发明涉及一种形内自相似蜂窝结构优化方法、装置及存储介质,所述方法包括如下步骤:根据蜂窝结构的初始几何模型建立有限元模型,定义所述有限元模型的边界条件;基于所述边界条件,对所述有限元模型进行静力结构分析,以所述有限元模型的最大应变能密度为目标函数,所述有限元模型的体积减少量为约束条件,确定所述有限元模型的数学模型;选择所述有限元模型的优化区域,根据静力结构分析结果,对所述数学模型进行尺寸优化,确定蜂窝结构的最优几何模型。本发明的技术方案,通过对形内自相似蜂窝结构进行有限元分析和尺寸优化,能够得到应变能密度最大的蜂窝结构,保证蜂窝结构的吸能能力,同时缩减蜂窝结构的体积。
[发明]
测量线膨胀系数用高温炉、应用其的测量装置和方法
申请号:
201910679997.0
状态:
审中-公开
申请日:
2019-07-26
申请人:
武汉科技大学
发明人:
刘少坤、魏耀武、白喻
公开日:
2019-11-22
代理机构:
42222武汉科皓知识产权代理事务所(特殊普通合伙)
主分类号:
G01N25/16(20060101)
我要购买
摘要:
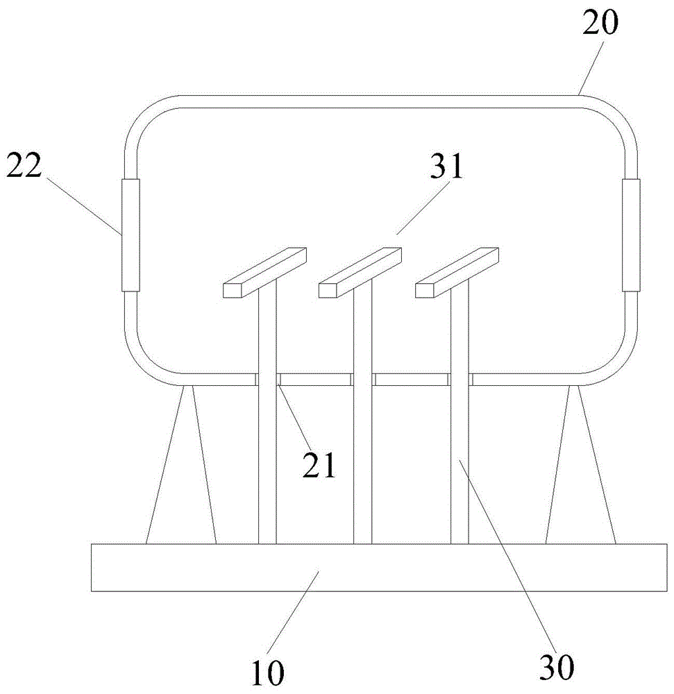
本发明提供一种测量线膨胀系数的高温炉,包括基座(10)、炉体(20)和支撑架(30),所述炉体(20)和支撑架(30)均固定设置在所述基座(10)上,所述炉体(20)的底部开设有通孔(21),所述支撑架(30)的上端穿过所述通孔(21)伸入在炉体(20)内,在支撑架(30)上端设有承载部(31),支撑架(30)的下端固定设置在所述基座(10)上;所述承载部(21)用于承载待测试样。本发明将支撑架设置于炉体外,避免了炉衬的膨胀传递给待测试样而使待测试样发生偏移。
[发明]
一种基于磷酸萃余酸的磷酸二铵的制备方法
申请号:
201910684680.6
状态:
审中-公开
申请日:
2019-07-26
申请人:
武汉科技大学
发明人:
张一敏、刘红、黄晶、刘涛
公开日:
2019-10-25
代理机构:
42222武汉科皓知识产权代理事务所(特殊普通合伙)
主分类号:
C01B25/28(20060101)
我要购买
摘要:
本发明涉及一种基于磷酸萃余酸的磷酸二铵的制备方法。其技术方案是:按磷酸萃余酸∶水的质量比为1∶(0.1~0.3),将水加入磷酸萃余酸中,搅拌0.5~1h,得到稀释后的磷酸萃余酸;按尿素∶稀释后的磷酸萃余酸的质量比为(0.5~2)︰1,将尿素加入稀释后的磷酸萃余酸中,在70~100℃条件下搅拌至pH值为6~7,固液分离,即得净化后的磷酸萃余酸和除杂渣;将除杂渣用水洗涤,得到洗涤后的除杂渣与洗涤水;洗涤水返回步骤一用于稀释磷酸萃余酸;将所述净化后的磷酸萃余液浓缩至P
2
O
5
含量为40~50wt%,然后通入管式反应器,控制中和度为1.8~2.0,得到基于磷酸萃余酸的磷酸二铵。本发明具有操作环境好、易过滤和除杂过程磷损失率低同时不引入新杂质的特点。
[发明]
一种净化磷酸萃余酸和回收六水合磷酸铵镁的方法
申请号:
201910684701.4
状态:
审中-公开
申请日:
2019-07-26
申请人:
武汉科技大学
发明人:
张一敏、刘红、黄晶、刘涛
公开日:
2019-10-25
代理机构:
42222武汉科皓知识产权代理事务所(特殊普通合伙)
主分类号:
C01B25/45(20060101)
我要购买
摘要:
本发明涉及一种净化磷酸萃余酸和回收六水合磷酸铵镁的方法。其技术方案是:按磷酸萃余酸∶水的质量比为1∶(0.1~0.3),将所述水加入所述磷酸萃余酸中,在常温条件下搅拌0.5~1h,得到稀释后的磷酸萃余酸;再按尿素∶所述稀释后的磷酸萃余酸的质量比为(0.5~2)︰1,将所述尿素加入所述稀释后的磷酸萃余酸中,在70~100℃条件下搅拌至pH值为5~6,冷却,固液分离,洗涤,得到除铁铝液和含铁铝渣;然后将所述除铁铝液在70~100℃条件下搅拌至pH值为6~7,冷却,固液分离,洗涤,得到磷酸萃余酸净化液和六水合磷酸铵镁。本发明具有工艺流程短、磷损失小和金属离子易回收利用的特点。
[实用新型]
一种十字路口电车防撞提示牌
申请号:
201921192462.2
状态:
有权
申请日:
2019-07-26
申请人:
武汉科技大学
发明人:
周家玉、雷霆霆、王永翠、张梦竹、赵小炯、汪敖
公开日:
代理机构:
主分类号:
G08G1/16(20060101)
我要购买
摘要:
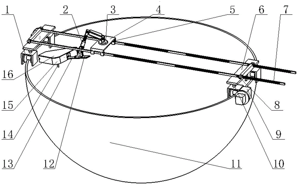
一种十字路口电车防撞提示牌,包括设置在路口的至少一个电车信息检测装置以及与电车信息检测装置相连的至少一个警示装置;所述电车信息检测装置包括电车信息检测装置外壳以及设置在内部控制模块、电车接近检测装置和雷达测速装置,所述电车接近检测装置由检测器和接收器组成,所述检测器设置在电车上并向设置在电车信息检测装置外壳内的所述接收器发送信号,所述接收器接收信号并传给控制模块,所述控制模块控制雷达测速装置实施检测电车车速并通过控制模块计算电车到达路口时间;所述警示装置包括警示装置外壳以及设置在上面的第一显示屏、第二显示屏、语音播报器、运动检测装置、车牌抓拍摄像头。
[发明]
简便飞机尾喷管拖车
申请号:
201910675577.5
状态:
审中-公开
申请日:
2019-07-25
申请人:
武汉科技大学
发明人:
陈传雨、张秦玮、刘凯乐、雷成名、文喆皓、成明
公开日:
代理机构:
主分类号:
B62D63/06(20060101)
我要购买
摘要:
一种简便飞机尾喷管拖车,包括上车体、下车体以及两个对称分布在上车体和下车体两侧的X型升降机构;其中,所述上车体两侧下部设置有上车体滑道,所述下车体上部两侧设置有上车体滑道,所述两个X型升降机构上部的两端滑动安装在上车体滑道内,所述两个X型升降机构下部一端连接滑块,通过所述滑块滑动安装在所述下车体滑道内,一端通过转动轴安装在所述滑道内,所述滑块上设置有至少一个螺纹孔,所述下车体尾部转动安装有带手柄的丝杆,所述丝杆上带有螺纹的一端穿入所述滑块上的螺纹孔内;所述上车体前部和尾部分别设置有侧向支撑机构,所述侧向支撑机构用以进一步支撑、固定飞机尾喷管;所述下车体前部和尾部还分别设置有前转向轮和后车轮。
[发明]
纳米铁复合镍材料、其制备方法、应用和净化氯代有机物废水的方法
申请号:
201910678209.6
状态:
审中-公开
申请日:
2019-07-25
申请人:
武汉科技大学
发明人:
李志学、刘红、范先媛、刘冰雪
公开日:
2019-11-15
代理机构:
11212北京轻创知识产权代理有限公司
主分类号:
C02F1/70(20060101)
我要购买
摘要:
本发明属于废水处理技术领域,涉及一种纳米铁复合镍材料、其制备方法、应用和净化氯代有机物废水的方法。该净化方法为将纳米铁复合镍材料投入含氯代有机物的废水中,在密闭条件下控制废水的溶解氧浓度和pH值,并持续搅拌,经过所述纳米铁复合镍材和污染物的反应,进行水体的净化,其中,所述纳米铁复合镍材料的投加量为2.0~3.0g/L。本发明所提供给的纳米铁复合镍材料将氯代有机物脱氯还原,自身则被氧化为铁氧化物,然后利用铁氧化物的吸附能力吸附脱氯还原产物,纳米铁复合镍材料在具备还原能力的同时,其产生的铁氧化物具有优异的物理吸附性能和化学絮凝作用以及一定的催化性能,因此合成的材料同时具有还原/吸附,絮凝和催化作用。
首页
上一页
91
92
93
94
95
96
97
98
99
100
下一页
尾页
当前共找到
8115
个专利记录
,当前显示页码
99/406