首页
专利查询
专利购买
专利转让
专利申请
15071489439
当前位置:
专利巴士
专利查询
专利名称
查询
高级查询
当前共找到
8115
个专利记录
,当前显示页码
100/406
专利名称
申请号
申请人
发明人
专利代办机构
[实用新型]
一种简易衣柜
申请号:
201921179437.0
状态:
有权
申请日:
2019-07-25
申请人:
武汉科技大学
发明人:
肖意、李敏、柳琴文
公开日:
代理机构:
主分类号:
A47B61/00(20060101)
我要购买
摘要:
本实用新型提供一种简易衣柜,包括:竖直的支撑柱,其为由至少2节伸缩支杆组成的伸缩杆,在伸缩支杆的上端和下端均开设有2个承插孔;且对于相邻两伸缩支杆,上方伸缩支杆下端的承插孔与下方伸缩支杆上端的承插孔相对应;水平的扇形搁架,其包括承载杆和扇形的承载布,所述承载杆设在承载布扇形的两侧直边上,承载杆的内侧端恰插入所述承插孔中。本实用新型支撑柱为伸缩杆,扇形搁架可折叠,此种方式减小了简易衣柜收纳时的体积;且支撑柱和扇形搁架相对于目前的组装式衣柜,相当于是一种预制件,减少了组装的麻烦。
[实用新型]
一种勘探用机器人
申请号:
201921171359.X
状态:
有权
申请日:
2019-07-24
申请人:
武汉科技大学
发明人:
吴博强、王怀、徐文杰、谢琦、柯翔宇、王伟
公开日:
代理机构:
主分类号:
B25J11/00(20060101)
我要购买
摘要:
本实用新型公开了一种勘探用机器人,包括机身和摄像机构,摄像机构设置在机身内,其摄像头穿出所述机身,还包括上底盘、下底盘和多组转向轮组,以及和转向轮组数量相等并一一对应的多组转向机构,上底盘和下底盘均为水平设置的圆盘,并上下间隔设置,机身设在上底盘的上端,摄像机构设置在机身内,其摄像头穿出机身,多组转向机构沿周向均布在上底盘的外侧,转向机构的一端伸入上底盘和下底盘之间,并与上底盘和下底盘均固定连接,转向机构的另一端延伸至上底盘和下底盘外侧,并与对应的转向轮组传动连接,转向机构驱动对应的转向轮组360°的移动。本实用新型提供一种便于行走的勘探用机器人。
[发明]
一种链篦机-竖炉球团焙烧系统及其使用方法
申请号:
201910670735.8
状态:
审中-公开
申请日:
2019-07-24
申请人:
武汉科技大学
发明人:
钱功明、徐作行、蔡先炎、程翔宇、刘露露
公开日:
2019-10-25
代理机构:
42222武汉科皓知识产权代理事务所(特殊普通合伙)
主分类号:
C22B1/20(20060101)
我要购买
摘要:
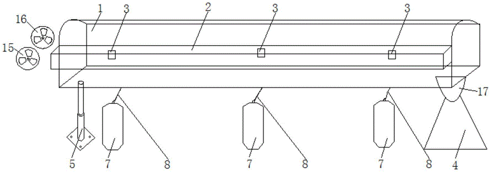
本发明涉及一种链篦机‑竖炉球团焙烧系统及其使用方法。其技术方案是:链篦机(1)的左风箱(8)和右风箱(7)安装在篦条(3)的下方;位于左风箱(8)正上方的篦条(3)和炉罩(2)间构成干燥区,位于右风箱(7)正上方的篦条(3)和炉罩(2)间构成预热区。篦条(3)的一端位于球团送料口(9)的下方,篦条(3)的另一端位于竖炉进料口(6)处;余热管(4)的一端与竖炉(5)相通,余热管(4)的另一端与所述干燥区和所述预热区分别相通。球团由链篦机(1)的送料口(9)送到篦条(3)上,经干燥区和预热区预热处理后的球团直接进入竖炉,进入竖炉的球团温度为700~800℃。本发明具有占地面积小、余热利用率高、产能高和焙烧质量好的特点。
[实用新型]
一种用于球团焙烧的链篦机-竖炉设备
申请号:
201921176090.4
状态:
有权
申请日:
2019-07-24
申请人:
武汉科技大学
发明人:
钱功明、徐作行、蔡先炎、程翔宇、刘露露
公开日:
代理机构:
主分类号:
C22B1/20(20060101)
我要购买
摘要:
本实用新型涉及一种用于球团焙烧的链篦机‑竖炉设备。其技术方案是:链篦机(1)的左风箱(8)和右风箱(7)安装在篦条(3)的下方;位于左风箱(8)正上方的篦条(3)和炉罩(2)间构成干燥区,位于右风箱(7)正上方的篦条(3)和炉罩(2)间构成预热区。篦条(3)的一端位于送料口(9)的下方,篦条(3)的另一端位于竖炉进料口(6)处;余热管(4)的一端与竖炉(5)相通,余热管(4)的另一端与所述干燥区和所述预热区分别相通。球团由链篦机(1)的送料口(9)送到篦条(3)上,经干燥区和预热区预热处理后的球团直接进入竖炉,进入竖炉的球团温度为700~800℃。本实用新型具有占地面积小、余热利用率高、产能高和焙烧质量好的特点。
[发明]
一种用于隧道火灾水幕挡烟隔热效果的评估方法
申请号:
201910673859.1
状态:
审中-公开
申请日:
2019-07-24
申请人:
武汉科技大学
发明人:
王宝伟、姜学鹏
公开日:
2019-11-22
代理机构:
11212北京轻创知识产权代理有限公司
主分类号:
G06Q10/06(20120101)
我要购买
摘要:
本发明涉及一种用于隧道火灾水幕挡烟隔热效果的评估方法,包括以下步骤:通过理论分析确定水幕挡烟隔热效果有效指标和隧道安全疏散有效指标;根据水幕挡烟隔热效果有效指标和隧道安全疏散有效指标确定隧道模型的尺寸、火灾场景、水幕的基础设定参数;在几何模型中通过数值模拟,获得开启水幕前后的隧道安全疏散有效指标的数值,根据隧道安全疏散有效指标的数值计算出水幕挡烟隔热效果有效指标;以水幕挡烟隔热效果有效指标中的喷水强度和动量比为变量,模拟分析喷水强度和动量比对水幕挡烟隔热效果的影响;根据上述分析结果建立水幕挡烟隔热效果评估体系。有益效果:为隧道水幕挡烟隔热效果提高一套有效的评估方法,从而为隧道消防设计提供参考。
[发明]
一种基于改进演化算法的港口船舶贝位优化方法
申请号:
201910668202.6
状态:
审中-公开
申请日:
2019-07-23
申请人:
武汉科技大学
发明人:
张岂玮、刘志雄、颜家岚
公开日:
2019-11-05
代理机构:
武汉科皓知识产权代理事务所(特殊普通合伙)42222
主分类号:
G06F17/50(2006.01)I
我要购买
摘要:
本发明提出了一种基于改进演化算法的港口船舶贝位优化方法。本发明建立各港口的待装集装箱数量模型,并分别建立船舶左边部分以及船舶右边部分贝位的容量模型;分别设置船舶左边部分贝位随机数以及船舶右边部分贝位随机数,分别根据随机数从小到大排序得到船舶左边部分贝位以及排序后船舶右边贝位;采用基于局部竞争机制的选择策略,对所产生的随机数集合进行选择和优化;分别对左边部分贝位和右边部分贝位进行集装箱装载,通过对各贝位以及各港口集装箱的判断选择合适的贝位装载合适的集装箱,同时判断船舶纵倾力矩是否满足条件,对贝位剩余容量以及集装箱剩余数量进行记录。本发明加入启发式算法保证了更好的寻优性能,提高了算法的搜索效率。
[实用新型]
一种多功能隧道火灾侧部重点排烟模拟平台
申请号:
201921152942.6
状态:
有权
申请日:
2019-07-22
申请人:
武汉科技大学
发明人:
向勇、姜学鹏
公开日:
代理机构:
主分类号:
G09B25/00(20060101)
我要购买
摘要:
本实用新型涉及一种多功能隧道火灾侧部重点排烟模拟平台,包括隧道主体、排烟通道、火源模拟装置、补风装置和火灾检测装置,隧道主体的一端可上下移动,隧道主体的底部设有至少一个开口,火源模拟装置安装在开口处,并用于模拟火灾;排烟通道的两端均敞口,其一侧敞口、另一侧封闭,其敞口侧固定安装在隧道主体的一侧上,隧道主体的一侧上均匀间隔设有多个与排烟通道连通的排烟口;补风装置安装在隧道主体的一端,并用于向隧道主体内送风,火灾检测装置安装在隧道主体内,并用于检测隧道主体内火灾的情况。有益效果是模拟不同条件下隧道主体内火灾燃烧的情况,观察隧道主体内的烟气分布情况及火灾规律,为实际隧道的建设提供理论实验依据。
[发明]
一种多功能隧道火灾侧部重点排烟模拟平台
申请号:
201910661647.1
状态:
审中-公开
申请日:
2019-07-22
申请人:
武汉科技大学
发明人:
向勇、姜学鹏
公开日:
2019-11-15
代理机构:
11212北京轻创知识产权代理有限公司
主分类号:
G09B25/00(20060101)
我要购买
摘要:
本发明涉及一种多功能隧道火灾侧部重点排烟模拟平台,包括隧道主体、排烟通道、火源模拟装置、补风装置和火灾检测装置,隧道主体的一端可上下移动,隧道主体的底部设有至少一个开口,火源模拟装置安装在开口处,并用于模拟火灾;排烟通道的两端均敞口,其一侧敞口、另一侧封闭,其敞口侧固定安装在隧道主体的一侧上,隧道主体的一侧上均匀间隔设有多个与排烟通道连通的排烟口;补风装置安装在隧道主体的一端,并用于向隧道主体内送风,火灾检测装置安装在隧道主体内,并用于检测隧道主体内火灾的情况。本发明的有益效果是模拟不同条件下隧道主体内火灾燃烧的情况,观察隧道主体内的烟气分布情况及火灾规律,为实际隧道的建设提供理论实验依据。
[实用新型]
一种多角度空调挡风板
申请号:
201921152299.7
状态:
有权
申请日:
2019-07-22
申请人:
武汉科技大学
发明人:
陈道家、江志刚、王三平、陈君文、丁周阳、于李鹏
公开日:
代理机构:
主分类号:
F24F13/14(20060101)
我要购买
摘要:
本实用新型公开了一种多角度空调挡风板,包括空调、安装架、挡风板和调节装置,两个安装架分别固定在空调的两侧,挡风板为矩形板状结构,挡风板上设有横向的C型槽,两个调节装置分别设在空调的两侧,调节装置包括第一调节板、第二调节板和第三调节板,第一调节板的一端固定在安装架上,另一端设有凹陷部,凹陷部上设有内齿轮,第二调节板的一端设有外齿轮,凹陷部与外齿轮通过第一松紧螺栓调节固定,第三调节板为L形,包括大臂和小臂,大臂的末端与第二调节板的另一端通过第二松紧螺栓调节固定,小臂的末端卡进C型槽内。本实用新型的目的是提供一种多角度空调挡风板,可多角度调节挡风板的位置,防止空调直吹对人体造成的伤害。
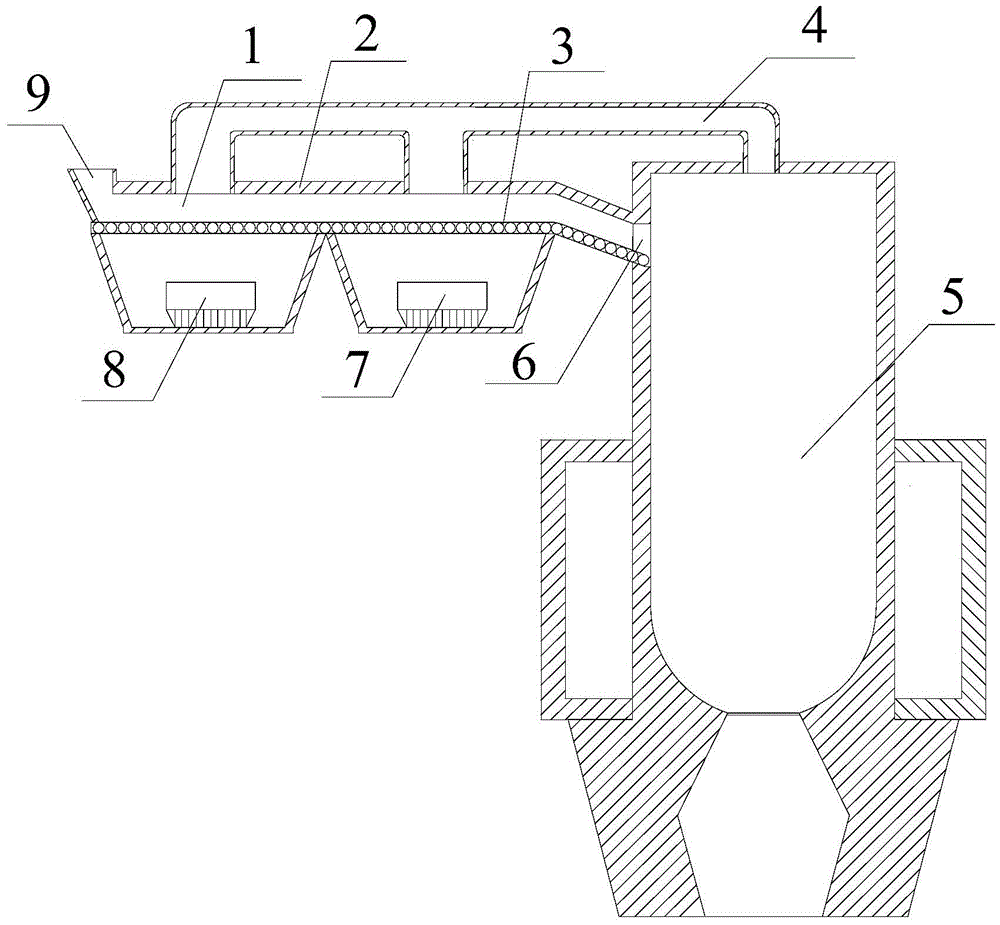
[发明]
一种用于分析痕量元素高温富集性能的颗粒物收集装置
申请号:
201910658524.2
状态:
审中-公开
申请日:
2019-07-22
申请人:
武汉科技大学
发明人:
韩军、梁洋硕、赵波、秦林波、王钰、熊自江
公开日:
2019-11-05
代理机构:
武汉宇晨专利事务所42001
主分类号:
G01N1/22(2006.01)I
我要购买
摘要:
本发明公布了一种用于分析痕量元素高温富集性能的颗粒物收集装置,适用于高温沉降炉高温条件下采集灰样,用以分析易挥发性元素(As、Se)等在高温灰中的富集特性。装置由短空心管、长空心管、耐高温细筛网、底座、灰斗法兰、滤筒、冷却套管、炉膛刚玉管组成。可将长空心管嵌入到短空心管之中;同时耐高温细筛网被卡在两节空心管之间,用于采集灰样;底座与长空心管焊接,可固定装置保持直立,并排出进入装置的气体。采灰时装置由沉降炉底部伸入炉内高温区,并固定在沉降炉底端。本发明优势在于可在700‑800℃下采集灰样,确保取灰温度,同时装置结构简单,操作方便,补充现有侧端取样装置只能在低温下收灰的不足。
[发明]
用于无底柱分段崩落法的矿山低贫化开采方法
申请号:
201910660748.7
状态:
审中-公开
申请日:
2019-07-22
申请人:
武汉科技大学
发明人:
曾文旭、王平、程爱平、许梦国、谭涛、李丹峰
公开日:
2019-11-05
代理机构:
武汉科皓知识产权代理事务所(特殊普通合伙)42222
主分类号:
E21C41/22(2006.01)I
我要购买
摘要:
本发明提供用于无底柱分段崩落法的矿山低贫化开采方法,包括:步骤一.确定采场结构中的分段高度H;步骤二.确定放矿时的固定出矿量q:
式中,h为放出体高度(单位:m)、且h=2H,e为自然常数,a、b、c分别是与矿岩散体流动参数有关的参数;步骤三.确定确定采场结构中的崩矿步距L:r
m
=αq
β
,
式中,α、β分别是与矿岩散体流动参数有关的参数;k为矿岩松散系数;步骤四.确定采场结构中的进路间距
步骤五.确定矿石隔离层厚度d=松动体高度‑放出体高度;步骤六.基于以上步骤中确定的参数实施矿山开采。本方法能够有效降低贫化率,并提高回收率,顺应矿山现代化、科学化开采的发展趋势。
[实用新型]
电池储存卸料装置
申请号:
201921140596.X
状态:
有权
申请日:
2019-07-19
申请人:
武汉科技大学
发明人:
杨金堂、李一柯、朱英韬、柯昌美、宋烨空、崔可涛
公开日:
代理机构:
主分类号:
B65G47/44(20060101)
我要购买
摘要:
一种电池储存卸料装置,涉及输送装置领域。本申请提供的电池储存卸料装置包括用于输送电池的第一输送组件、位于第一输送组件下方的至少一个卸料仓、至少一个支板卸料组件及至少一个挡板卸料组件;卸料仓设有供电池进入的进料口及与进料口连通的排料口;支板卸料组件包括多个可同步转动的支板及用于驱动各个支板同步转动的驱动组件;多个支板同步转动至第一位置时形成一支撑平面支撑电池,多个支板同步转动至第二位置时使支撑平面上的电池落入进料口或排料口;挡板卸料组件用于将第一输送装置输送的电池推动至支撑平面上。本申请提供的电池储存卸料装置能够快速高效的将电池输送存储并整齐的摆放输出。
[发明]
电池储存卸料装置及电池储存卸料方法
申请号:
201910656718.9
状态:
审中-实审
申请日:
2019-07-19
申请人:
武汉科技大学
发明人:
杨金堂、刘怀广、朱英韬、柯昌美、宋烨空、崔可涛
公开日:
2019-10-08
代理机构:
42102湖北武汉永嘉专利代理有限公司
主分类号:
B65G47/44(20060101)
我要购买
摘要:
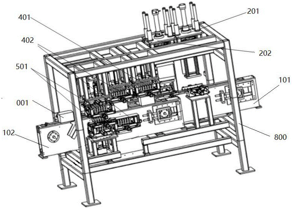
一种电池储存卸料装置及电池储存卸料方法,涉及输送装置领域。本申请提供的电池储存卸料装置包括用于输送电池的第一输送组件、位于第一输送组件下方的至少一个卸料仓、至少一个支板卸料组件及至少一个挡板卸料组件;卸料仓设有供电池进入的进料口及与进料口连通的排料口;支板卸料组件包括多个可同步转动的支板及用于驱动各个支板同步转动的驱动组件;多个支板同步转动至第一位置时形成一支撑平面支撑电池,多个支板同步转动至第二位置时使支撑平面上的电池落入进料口或排料口;挡板卸料组件用于将第一输送装置输送的电池推动至支撑平面上。本申请提供的电池储存卸料装置及电池储存卸料方法能够快速高效的将电池输送存储并整齐的摆放输出。
[实用新型]
电池四步切割拆解装置
申请号:
201921140585.1
状态:
有权
申请日:
2019-07-19
申请人:
武汉科技大学
发明人:
杨金堂、李一柯、朱英韬、柯昌美、徐子晗、王栋栋
公开日:
代理机构:
主分类号:
H01M10/54(20060101)
我要购买
摘要:
一种电池四步切割拆解装置,涉及电池加工技术领域。该电池四步切割拆解装置包括用于输送电池的第一输送组件和第二输送组件、用于切割电池顶盖和底盖的第一切割组件和第二切割组件、用于将一层极群组的电池从第一输送组件推送至第二输送组件的第一推送组件、用于将具有一层极群组的电池上表面切割的第三切割组件、用于将两层极群组的电池从第一输送组件推送至第二输送组件的第二推送组件、用于将两层极群组的电池上表面和下表面切割的第四切割组件及用于将电池内的极群组推出电池的推料组件。本申请实施例提供的电池四步切割拆解装置能够快速高效的将电池的壳体与极群组分离。
[发明]
电池四步切割拆解装置及拆解方法
申请号:
201910655631.X
状态:
审中-公开
申请日:
2019-07-19
申请人:
武汉科技大学
发明人:
杨金堂、周诗洋、朱英韬、柯昌美、徐子晗、王栋栋
公开日:
2019-10-18
代理机构:
湖北武汉永嘉专利代理有限公司42102
主分类号:
H01M10/54(2006.01)I
我要购买
摘要:
一种电池四步切割拆解装置及拆解方法,涉及电池加工技术领域。该电池四步切割拆解装置包括用于输送电池的第一输送组件和第二输送组件、用于切割电池顶盖和底盖的第一切割组件和第二切割组件、用于识别切割后电池极群组层数的视觉识别组件、用于将一层极群组的电池从第一输送组件推送至第二输送组件的第一推送组件、用于将具有一层极群组的电池上表面切割的第三切割组件、用于将两层极群组的电池从第一输送组件推送至第二输送组件的第二推送组件、用于将两层极群组的电池上表面和下表面切割的第四切割组件及用于将电池内的极群组推出电池的推料组件。本申请实施例提供的电池四步切割拆解装置及拆解方法能够快速高效的将电池的壳体与极群组分离。
[发明]
适应多规格动力电池的拆解工艺和装置
申请号:
201910656748.X
状态:
审中-公开
申请日:
2019-07-19
申请人:
武汉科技大学
发明人:
杨金堂、周诗洋、朱英韬、柯昌美、詹文赞、陈偲
公开日:
2019-10-18
代理机构:
湖北武汉永嘉专利代理有限公司42102
主分类号:
H01M10/54(2006.01)I
我要购买
摘要:
本发明公开了一种适应多规格动力电池的拆解工艺和装置,包括:用于将杂乱无章的电池进行上料储存和转运到后续工序的储存卸料装置;设置在储存卸料装置下游,根据电池尺寸和极群组位置将电池翻转或摆放成所需要摆放的形态并排队上线的视觉整理上线装置;设置在视觉整理上线装置下游,用于对内设有一层及两层极群组的电池进行分步切割,将电池拆解为上盖、底板、极群组、外壳四大部分的四步切割装置。通过上料、储存、卸料、视觉采集整理上线、四步切割并收集,将电池拆解为上盖、底板、极群组、外壳四大部分分类收集,回收率高且不会对环境产生二次污染,消除了人工进行电池垃圾处理的危害性。
[实用新型]
适应多规格动力电池的拆解装置
申请号:
201921141640.9
状态:
有权
申请日:
2019-07-19
申请人:
武汉科技大学
发明人:
杨金堂、王栋栋、朱英韬、柯昌美、詹文赞、陈偲
公开日:
代理机构:
主分类号:
H01M10/54(20060101)
我要购买
摘要:
本实用新型公开了一种适应多规格动力电池的拆解装置,包括:用于将杂乱无章的电池进行上料储存和转运到后续工序的储存卸料装置;设置在储存卸料装置下游,将电池翻转或摆放成所需要摆放的形态并排队上线的整理上线装置;设置在整理上线装置下游,用于对内设有一层及两层极群组的电池进行分步切割,将电池拆解为上盖、底板、极群组、外壳四大部分的四步切割装置。对于不同规格的电池可以使用同一套设备进行区别化的分类自动处理,处理后的电池分解件自动实现分类回收,回收率高且不会对环境产生二次污染,同时由于电池从上料到最后分类通过流水线实现,消除了人工进行电池垃圾处理的危害性。
[实用新型]
适应多规格动力电池的整理上线装置
申请号:
201921141622.0
状态:
有权
申请日:
2019-07-19
申请人:
武汉科技大学
发明人:
杨金堂、王栋栋、朱英韬、柯昌美、陈偲、李一柯
公开日:
代理机构:
主分类号:
B23Q7/18(20060101)
我要购买
摘要:
本实用新型公开了一种适应多规格动力电池的整理上线装置,包括视觉识别测量装置以及动力上线整理装置,动力上线整理装置包括前后排平行并列设置的两个步进装置,在前排的步进装置上顺次设置两个工位,第一个工位设置平齐与电池的推送装置,在第二个工位处设置一个视觉识别测量装置;后排步进装置的步进初始位置设置三号工位;另一个视觉识别测量装置于三号工位处设置,三号工位上方还设置能够下降并夹紧调整电池在Z轴方向位置的Z轴方向整理装置;在Z轴方向整理装置下游两个工位上,顺次设置Y轴方向整理装置和X轴方向整理装置。适用于电池流水线切割之前,能有效的将尺寸各异的电池摆放整齐,便于后续切割机对电池的切割。
[发明]
适应多规格动力电池的整理上线装置及方法
申请号:
201910655632.4
状态:
审中-实审
申请日:
2019-07-19
申请人:
武汉科技大学
发明人:
杨金堂、刘怀广、朱英韬、柯昌美、陈偲、李一柯
公开日:
2019-10-15
代理机构:
湖北武汉永嘉专利代理有限公司42102
主分类号:
B23Q7/18(2006.01)I
我要购买
摘要:
本发明公开了一种适应多规格动力电池的整理上线装置及方法,包括视觉识别测量装置以及动力上线整理装置,动力上线整理装置包括前后排平行并列设置的两个步进装置,在前排的步进装置上顺次设置两个工位,第一个工位设置平齐与电池的推送装置,在第二个工位处设置一个视觉识别测量装置;后排步进装置的步进初始位置设置三号工位;另一个视觉识别测量装置于三号工位处设置,三号工位上方还设置能够下降并夹紧调整电池在Z轴方向位置的Z轴方向整理装置;在Z轴方向整理装置下游两个工位上,顺次设置Y轴方向整理装置和X轴方向整理装置。适用于电池流水线切割之前,有效的将尺寸各异的电池摆放整齐,便于后续切割机对电池的切割。
[发明]
一种防倾倒的送餐机器人
申请号:
201910652903.0
状态:
审中-公开
申请日:
2019-07-19
申请人:
武汉科技大学
发明人:
吴博强、谢琦、梁少强、徐文杰、王怀
公开日:
2019-11-12
代理机构:
北京轻创知识产权代理有限公司11212
主分类号:
B25J11/00(2006.01)I
我要购买
摘要:
本发明涉及一种防倾倒的送餐机器人,包括驱动转向装置、前后平衡装置、左右平衡装置以及至少一个用于存放餐盘的餐盘装置,驱动转向装置用于驱动机器人行走和转向,以进行送餐;前后平衡装置安装在驱动转向装置上,并用于在前后方向上调节机器人的重心,左右平衡装置安装在前后平衡装置的上方,并用于在左右方向上调节机器人的重心;餐盘装置架设在左右平衡装置的上方。本发明的有益效果是可根据送餐机器人行走的情况前后左右调整送餐机器人的重心,确保送餐机器人始终保持平稳的状态,避免食物洒出来,平稳送餐。
首页
上一页
91
92
93
94
95
96
97
98
99
100
下一页
尾页
当前共找到
8115
个专利记录
,当前显示页码
100/406